我们拿普通的电唱机去播放唱片节目时,常会听到较强的低频“隆隆”声和高频“嘶嘶”声。如果让扩音设备接上宽频带的高级扬声器去放音,上述杂音便更为严重,甚至使我们无法欣赏这些唱片音乐。究其原因,是由于电唱机的唱盘晃动、马达震动所产生的低频杂音以及唱针刮动音槽时所产生的高频杂音均被拾音器检拾,并被扩音机放大所致。只要我们在放大器里加进图1所示的杂音滤除器,上述杂音便会大大减少,重放出来的唱片音乐也就悦耳得多。

这个杂音滤除器由射极输出器(BG\(_{1}\))、高通滤波电路(BG2一级内)和低通滤波电路(BG\(_{3}\)一级内)累接而成。高通滤波器的截止频率是80赫,低通滤波器的截止频率在5千赫左右,衰减度都是12分贝/倍频程。也就是说,在截止频率以外,信号频率每降低(或增加)一倍,衰减增加12分贝,从而使低、高频杂音都得到足够的衰减。开关K1和K\(_{2}\)分别用来控制高通或低通滤波电路是否接入,亦即可选择本电路的频率特性是处于滤波状态还是平直状态,见图2。与开关并联的R5、R\(_{12}\)、R13能使有关电容器预先充上电,避免开关转换时扬声器发出响声。

高、低通滤波器的截止频率取决于所接RC滤波元件的数值。对图1而言,如果R\(_{6}\)=R7·R\(_{8}\)2.5(R7+R\(_{8}\))=R,C4=2.5 C\(_{5}\)=C,R10=R\(_{11}\);2.5=R′,C6=2.5 C\(_{7}\)=C′,高、低通滤波器的截止频率便分别等于\(\frac{1}{2πRC}\)。和1;2πR′C′。因此,我们可选择适当的元件值,使电路得到所需的截止频率。例如当电唱机的低频来直较重时,可把C3、C\(_{4}\)的容量分别减为0.056和0.022微法,高通滤波器的截止频率便升高到120赫左右,使低频杂音得到更大的衰减。
考虑到普及型电唱机以使用晶体或陶瓷拾音器为多,它们均要求放大器用高的输入阻抗来配合,所以本电路在滤波器之前加了一级带自举的射极输出器,以提高输入阻抗。原理如下:C\(_{2}\)把BG1发射极(C点)的输出信号反馈到A点,当C\(_{2}\)的容量足够大时,A点的信号电压ua便与BG\(_{1}\)的输出电压uc相等:再由于射极输出器的输出电压与输入电压近似相等,即u\(_{c}\)≈ub,因而u\(_{a}\)≈ub,R\(_{3}\)两端的信号电压uba=u\(_{b}\)-ua≈0,流过R\(_{3}\)的信号电流便很微小,即对信号而言,R3相当于一个阻值很大的电阻,对输入信号几乎不起分流作用。通过R\(_{3}\)的隔离,偏置电阻R1、R\(_{2}\)对电路输入阻抗的影响便可忽略,从而提高了电路的输入阻抗。
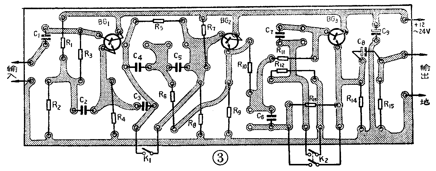
图1电路的输入阻抗约300千欧,中音频的电压增益略小于1。可把它作为一个附件接在拾音器与放大器之间,也可以把它装在拾音前置放大器之后。该电路的印刷电路板安装图见图3。如果在扩音机外单独使用,需把它装在一个金属小盒里,并把金属盒接地,以减少感应噪声。它需要的12~24伏电源可在扩音机里接取或另装一个简单的直流电源供给,整个杂音滤除器所消耗的电流不到7毫安。

BG\(_{1~3}\)可用任何型号的NPN型小功率硅三极管,只要其BVCEO不低于电源电压就行,电流放大系数越大越好。为了保证滤波特性,各滤波元件的数值误差不宜超过10%。因此,我们在装制之前,最好先把有关阻容元件测量一下。由于低频瓷介电容器的容量误差很大,就是常见的金属化纸介电容器,受潮后其容量也会明显变值,因而在采用这些元件时,装制前的测量工作不能省去,特别是购买业余品或存放多年的清仓积压品时更需如此。如果找不到容量合适的电容器,可用两、三只较小容量的电容器并联使用,并联后的总电容量等于各单个电容器电容量之和。图3的印刷电路板已预留了安装位置,可供电容器并联或调整容量时使用。
本电路各晶体管都接有较大的发射极电阻,因而直流工作点是稳定的,只要按图1所示的元件值装制,在12~24伏的电源电压范围内,该电路各级都能正常工作,不需调整。
图4是一个更简单的杂音滤除电路,只用一只晶体管。它省去了作阻抗变换用的射极输出器,并把高、低通滤波功能放在同一级晶体管电路里完成。因而该电路只能安插在扩音机前、后级放大器之间使用,或利用机内某一级射极输出器改制。接在它前面的放大器,其输出阻抗最好不大于5千欧。该电路的低频截止频率是80赫,衰减度约12分贝/倍频程,高频截止频率是5千赫,衰减度约6分贝/倍频程。全部元件安装在一小块如图5所示的印刷电路板上。(李应楷)

