目前广州、上海、天津、长沙和哈尔滨已在试播立体声节目。不少读者想用普通调频收音机欣赏立体声音乐,这里介绍一种方法。
图la是普通单声道调频收音机方框图;图1b是立体声收音机方框图。比较图1的a、b可见,虚线部分是立体声收音机所特有的,其余相同。

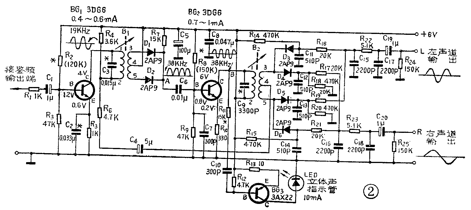
下面给出一个适合业余爱好者制做的立体声解码器电路,见图2。把它接在普通调频收音机鉴频器之后,并在它后面再多加一路低频放大器,就可改成立体声收音机。

一、电路原简简述
图2中BG\(_{1}\)是复合放大管,集电极接有一个变压器B1\(_{1}\)的初级与C3并联,谐振于19KHz。这个谐振回路将复合信号中的19KHz导频信号选出(或说分离出来),并耦合到次组。由于二极管D\(_{1}\)、D2的全波整流作用,在负载电阻R\(_{7}\)的下端出现如A点所示的波形。再由C6耦合到BG\(_{2}\)的基极,经BG2放大。由于BG\(_{2}\)集电极接有B2,并且B\(_{2}\)初级与C9并联,谐振于38KHz。所以在集电极上得到再生的38KHz副载波。这个38KHz正弦信号由B\(_{2}\)耦合到次级,作为D3~D\(_{6}\)的开关信号。另外,复合信号由R6、C\(_{4}\)耦合到B2次级和开关信号一起作用在D\(_{3}\)~D6四个二极管上。只要38KHz的开关信号与发射台的38KHz副载波同步了,就能分离出左、右声道信号来。C\(_{15}\)、R22、C\(_{17}\)和C16\(_{、}\)R23、C\(_{18}\)组成两个去加重网络。BG3和LED(发光二极管)构成立体声接收指示器。当接收立体声信号时,则B点会得到38KHz正弦电压。该电压经R\(_{11}\)、C10作用到BG\(_{3}\)基极,使BG3导通、LED发光。如果接收单声道调频广播、因B点得不到38KHz信号、BG\(_{3}\)保持截止状态,所以LED不能发光。
二、元器件选择
该解码器的制做是较容易的。BG\(_{1}\)、BG2可任选3DG型小功率高频管。如有条件,BG\(_{1}\)最好选用低噪声管,这对整机信噪比有好处。两只管的β值均选在100~150之间。BG3用3AX型管,β大于80;I\(_{CEO}\)于500μA。D1~D\(_{6}\)均应选择正向电阻小,反向电阻大的二极管。D3~D\(_{6}\)的参数应尽量相同,以保证电路的平衡。B1\(_{2}\)可使用半导体收音机的中波振荡线圈骨架和磁芯制做。其数据可参考附表。

图3是B1、B2的制做数据参考图。其中的尺寸按各人手中的实物而异。因此,印刷电路板图(图4)的B\(_{1}\)2位置应以实物尺寸而定。统制B\(_{1}\)2时应注意线圈的方向。同名端应按图3标注安排。否则将会出现声道位置颠倒或解调不出立体声。如手中有其他型号高导磁系数的磁芯或骨架,也可使用。磁芯导磁系数越高、匝数越少、Q值就越高,可以明显改善分离度。为提高B\(_{1}\)2两个回路的Q值和稳定性,C\(_{3}\)、C9应选用云母或瓷介电容。该解码器的供电电压可在6~9伏选择。


按图4焊接元件,只要元件质量可靠,焊接无错,经过简单调整,解码器便可正常工作。
三、调试方法
在工厂里,调试解码器靠立体声信号发生器作信号源。业余爱好者没有立体声信号发生器,能不能用广播电台播出的信号调整解码器呢?回答是可以的。用电台信号调整解码器时,首先应将解码器的R\(_{1}\)左端接到普通调频机的鉴频输出端。注意在联接之前,必须将普通调频机鉴频器后面的去加重网络改动一下。图5是三洋M2409机的鉴频器电路(其他各种牌号的调频收音机鉴频电路均相似)。首先把C312(0.01μ)和C\(_{319}\)(4700P)改成50P,然后,再按图6接上解码器,并在解码器的输出端接上左、右两路低频放大器(注:两路低频放大器可选相同的低放电路)。


大家知道,立体声广播电台发射出来的信号包含有定位信息,也就是说左、右两路信号有不同的强度差甚至不同的内容。例如,电子音乐中的电吉他往往在一侧明显出现,其他乐器在另一测明显出现,或者同一种乐器在两侧扬声器同时出现,响度不相同。为使每侧各自的声音分离得清楚,就要调整解码器的B\(_{1}\)2,使得再生副载波的相位与导频信号的相位相同。具体调整方法如下:按图6接好单声道调频收音机、解码器、两路低放电路。将收音机置调频(FM)接收状态,使度盘指针置于立体声广播频率。旋转天线方向,使鉴频器输出最大。平衡电位器置中间位置,两个音量电位器放在相同位置(如最大)。此时两侧扬声器均有节目声音,但无立体感。也可能立体声指示灯不亮或不十分亮。然后反复调整B\(_{1}\)2的磁芯。B\(_{1}\)的谐振频率越接近19KHz;B2的谐振频率越接近38KHz则立体声指示灯越亮。如果磁芯调到最里(或最外)还达不到最亮,则说明B\(_{1}\)2的初级电感量过小(或过大)。此时可以更换C\(_{3}\)、C9,使槽路的谐振频率接近各自的谐振频率。当亮度出现峰值(即磁芯左旋或右旋均变暗)时,说明导频信号已经分离出来,并且38KHz再生副载波振幅已调到最大值。一般情况下,应该先调B\(_{1}\)使灯亮,然后调B2。再翻回来微调B\(_{1}\)使分离度最好。如果接收点离电台不远,只调B1就可使LED点亮,此时若暂不调B\(_{2}\),则有利于根据LED判断B1是否已调到19KHz。如果接收点离电台远,就应同时调B\(_{1}\)2,使LED达到最亮。
另外,调整B\(_{2}\)还有一个作用,就是使38KHz再生副载波(即开关信号)相位与发射台发出的副信道的副载波相位相一致。当指示灯已经最亮了,再微微调整B2磁芯,到某一位置就会发现左、右扬声器发出的声音不一样了(即左侧有的声音右侧不一定有,或某种乐器声虽两侧都出现,但响度不一样),此时伴随音乐出现“丝丝”声,这说明38KHz开关信号与发射台的38KHz副载波已基本同步。也说明开关电路已正常工作。为了使左、右信号更好地分离出来,可借助平衡电位器(图6)。把中点先后调到上或下端听每侧扬声器出现的都是什么乐器。假设左侧扬声器出现的是电吉他为主,就将中点旋到下端,此时右扬声器无声。细心调B\(_{2}\)磁芯,使电吉他声最明显(此时“丝丝”声也最明显)。再把中点旋到上端,此时右扬声器电吉他声应不如左侧明显。同样,左扬声器应不明显出现右侧的乐器声。这时两侧串音就小,或说分离度好。调整过程中如发现立体声指示灯已最亮,但调B2时不出现“丝丝”声,这说明开关电路工作不正常,应检查D\(_{3}\)~D6,及R\(_{16}\)~R21;C\(_{ll}\)~C14有无接错或开路等。应该说明,B\(_{2}\)的Q值过低时,分离度也是很差的。调整完毕之后,将平衡电位器中点仍放中间位置,听者坐在两侧扬声器中间,如果能明显感觉到乐器的方位感,解码器就算调好了,此时应将B1\(_{2}\)磁芯用腊封固,以防松动。
调整解码器时必须注意接收点的场强情况。接收信号过弱同样会使分离度下降,信噪比变劣。如果接收点离发射台较远或接收点与发射台之间有障碍物,则应架设室外天线,以提高接收信号强度。
这个实用解码器当输入端复合信号为150毫伏时,分高度可达20dB。解码器输出的左、右声道音频电压可大于100毫伏。(何锡松)