为了解决市电停电时电视大学上课的用电问题,我们制作了一台电视机的备用电源装置,它能将12V蓄电池的电能转变成220V的交流电,其输出功率约200W,能供各种型号的黑白与彩色电视机使用。
一、工作原理
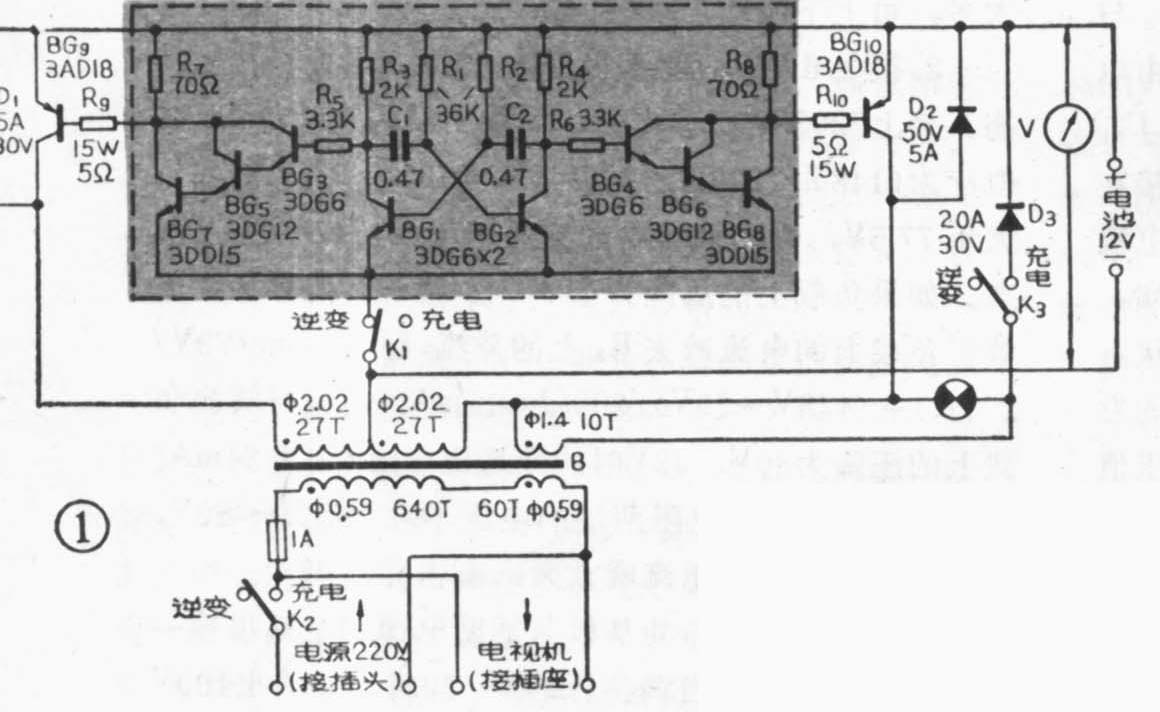
此电源原理图如图1所示,利用两只大功率三极管BG\(_{9}\)、BG10组成开关电路,将电池电压以不同极性交替加到变压器的低压绕组上,经过变压器升压,获得220V的交流电压。由BG\(_{1}\)、BG2组成自激多谐振荡器(其振荡频率为50Hz),BG\(_{1}\)、BG2集电极输出相位相反的两个信号,分别经BG\(_{3、5、7}\)与BG4、6、8放大后,去推动BG\(_{9}\)、BG10交替导通。这样就实现了开关功能。

为了防止感性负载电流在开关管换向时产生过电压,使BG\(_{9}\)、BG10击穿,电路中加了二极管D\(_{1}\)、D2。当BG\(_{9}\)关断时,其集电极电流急剧下降,负载中的电感将感生出一个电压,其方向是使电流维持原来数值。当此电压高于电池电压时,就会通过D2向电池充电。这样既可避免感应电压过大而损坏元件,又能将感性的滞后电流反馈到电池,提高了装置的效率。当BG\(_{1}\)0关断时,D1能起同样的作用。
本装置还可以给蓄电池充电,其原理是把变压器的高压绕组接到220V的交流市电上,在变压器低压侧,利用二极管D\(_{3}\)作半波整流,向蓄电池充电。
K是三刀双掷开关,用于选择逆变或充电两种工作状态,图1的开关位置是处于逆变状态。由于充电时,K\(_{3}\)流过的电流达10A左右,所以,K3也可单独用一只开关,K\(_{1}\)、K2用一只双刀双掷的钮子开关。但操作时要注意两只开关配合动作。有条件的还可用一只12V的继电器来将逆变、充电两种工作制联锁起来,以免误操作。
二、元件的选择及要求
变压器的铁心舌宽为38mm,叠厚为50mm。两组低压绕组,一组为(27+27)匝,线径为2.02mm;一组为10匝,线径为1.4mm。高压绕组为640匝和60匝两组,线径为0.59mm。晶体管BG\(_{1~4}\)可用3DG6,要求BVCEO>15V,β≥40;BG\(_{5~6}\)可用3DG12,要求BVCEO>15V,β≥30;BG\(_{7~8}\)可用3DD15,要求BVCEO>15V,β≥20,在加散热片的情况下, P\(_{CM}\)=5W;BG9~10可用3AD18,要求BV\(_{CEO}\)≥30V,β>25(在IC=10A时),在加散热器的情况下,P\(_{CM}\)=15W。D1、D\(_{2}\)要选用额定电流为5A,最高反压≥30V的整流二极管,D3要选用最大整流电流为20A,最高反压≥30V,并带有散热片的整流二极管。R\(_{1}\)、R2要求功率为15W左右,其它电阻只要功率≥1/8W就行。可见,以上元器件,除BG\(_{9~1}\)0要求在大电流下具备足够大的放大系数外,其余元件均无特殊要求。因此在业余品中稍加挑选就可用。
此装置可采用一般的铅蓄电池,如解放牌汽车用的蓄电池,6Q98型用一只或3Q98型用两只串联,拖拉机与电话总机用的蓄电池都可以使用。电池连续使用时间看电视机的耗电功率与电池的安时数大小而定。以耗电量较大的上海牌19英寸电子管黑白电视机为例,此机耗电约150W,需要提供约14A电流。当使用6Q98型蓄电池(12伏、98安时)时,可连续使用约7小时。对于耗电较少的晶体管电视机,可采用安时数较小的吉普车用的蓄电池,如6QS6型等。
三、制作与调整
图1虚线框内的元器件均装在图2所示的印制板上。按图示元件的数据制作时,振荡器的频率约为50Hz,电池电压降低时,频率会略有下降。调整频率的办法是改变基极回路R\(_{1}\)与R2的数值。要求R\(_{1}\)与R2、C\(_{1}\)与C2的数值尽量一致。将电压表、信号灯、开关与接线柱、插座等装在正面,将R\(_{9}\)、R10,BG\(_{9}\)、BG10、D\(_{3}\)连同散热器装在后面,以利于散热。只要元件合格,接线正确,调整很简单。

调试时先单独向印制板供12V电压,此时变压器与BG\(_{9~1}\)0的集电极不通电。工作正常时BG7~8处于开关状态,所以用示波器检查R\(_{9}\)、R10上的电压应是对称而幅度略小于12V的方波。用万用表检查,R\(_{9}\)、R10上的电压应为5V,且R\(_{9}\)和R10上的电压很接近。这部分工作正常后,再将整机装起来进行测试。整机的空载电流<3A,高压绕组的空载电压约为250V。空载测试正常后,就可加载试验,用一只电灯泡代管负载。若负载增加到一定数值时,输出电压明显下降,同时BG\(_{9}\)(或BG10)明显发热,说明BG\(_{9}\)、BG10的放大系数不够大。应适当减小R\(_{9}\)(或R10)的数值,以便增大发热管的基极电流,或者更换β较大的管子。满载时,本装置的效率为80%左右,输出功率为200W时,电池的电流约为20A。
四、使用注意事项
使用时,应注意以下几个问题:①电池极性切勿接错,否则会损坏设备;②若K分用两个开关时,不应使两个开关同时处于“逆变”与“充电”位置;③要经常注意电压表所指示的电池电压,若低于10V时,不宜继续使用,应及时充电;④信号灯亮表示变压器工作,不亮说明有严重故障。⑤对于电视机整流电路来说,由市电供电时,整流输出的电压略大于交流电压的有效值,用方波供电时,整流输出的电压则接近于方波的有效值。因此用220V方波电压供给电子管电视机使用时,图象尺寸会略为收缩。应取用比220V略高一点的电压,但不宜大于250V。(文梦云)