大家知道,立体声解码电路共有三种形式,最常用的是电子开关式解码器。这里以一个实用电路为例,详细分析其各部分的工作情况。
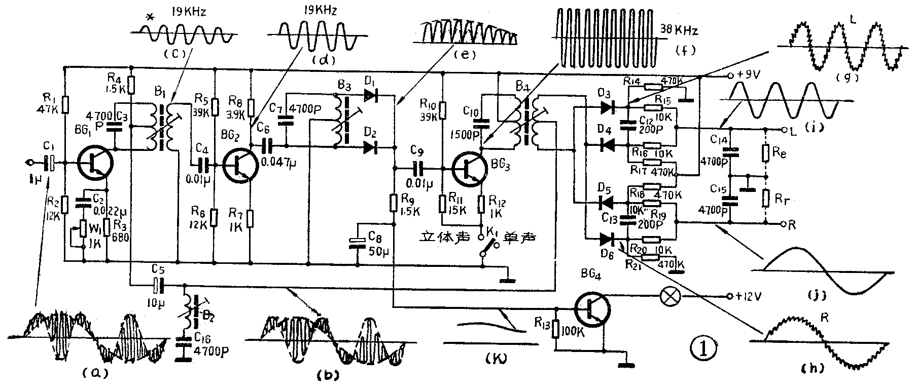
图1是分立元件电子开关式解码电路。BG\(_{1}\)为立体声复合信号分离放大器;BG2、BG\(_{3}\)、D1、D\(_{2}\)3构成倍频放大式副载波再生电路;B\(_{4}\)、D3~D\(_{6}\)构成二极管桥式开关电路;R15、R\(_{16}\)、C14及R\(_{19}\)、R20、C\(_{15}\)构成去加重及滤波电路;BG4是立体声指示灯电路。下面依次加以说明:

1.分离放大电路:来自签频器的立体声复合信号(见图中波形a),通过C\(_{1}\)耦合到BG1基极,经BG\(_{1}\)放大后,在集电极负载上被分离为两路输出。分离是通过BG1负载电路的选频作用实现的。BG\(_{1}\)的负载包括R4和谐振回路B\(_{1}\)两部分。R4上端接电源(该点是交流零电位),下端接B\(_{1}\)中间抽头。注意,R4接抽头这一端不象普通收音机中放电路那样,接对地的高频旁路电容。因此,这一点不是交流零电位,故R\(_{4}\)1局部串联后共同构成BG\(_{1}\)的交流负载。因B1调谐于19KHz,所以它对立体声复合信号中的导频成分呈现了最高的谐振阻抗,而与B\(_{1}\)相串联的R4远小于此谐振阻抗。于是,BG\(_{1}\)集电极输出的立体声复合信号中导频成分电压绝大部降落在B1上,并由B\(_{1}\)次级耦合到BG2放大。而对19KHz频率以外的其它成分,B\(_{1}\)呈现为低阻抗(此阻抗降低程度与B1回路Q值成正比),这部分信号电压绝大部分降落在R\(_{4}\)上,然后经过C5耦合送到后级开关电路。B\(_{2}\)、C16是19KHz的陷波电路,这是为了不让19KHz的信号进入R\(_{4}\)次级中点而设置的。R1、R\(_{2}\)是BG1的基极偏置电阻;R\(_{3}\)是BG1的射极电阻;W\(_{1}\)、C2构成了射极可调交流负反馈电路,它们是为了调整通道分离度而设的。同样,基极耦合电容C\(_{1}\)的选取也与分离度有关。为了说明它们与分离度有关的道理,请先看图2所示的立体声复合信号频谱(所调频谱即被传递的信号中包含的各种频率成分)。从图2可见主信道M信号的频谱为30Hz~15KHz;副信道的副载波受S信号调幅后的边带波频谱为23~53KHz。而M=L+R;S=L-R。按和差制解调原理M+S=2L;M-S=2R。要求到达开关电路前的复合信号中M与S信号频谱关系要保证与发射系统相同。如果,收音机前级中放电路或鉴频级存在着图2曲线a所示的频响特性,就会引起被传输信号中S信号幅度相对变小。例如由1畸变为0.9,则:
M+0.9S=(L+R)+0.9(L-R)=1.9L+0.1R;
M-0.9S=(L+R)-0.9(L-R)=0.1L+1.9R。

可见,不但本路输出信号减小了0.1,而且还串进了0.1的另一路信号,导致通道分离度下降。前级频响不好是常有的。因此,在解码器中如果分离放大级能够有曲线b所示的频响特性,就能够补偿前级的频响畸变,从而获得曲线c所示的平坦频响特性。BG\(_{1}\)发射极电路的W1,C\(_{2}\)可以改变BG1对频谱高端的放大量,使解码器频率响应变化,如图2曲线d、e所示。因此,W\(_{1}\)、C2可用来调整立体声信号高音成分的分离度。C\(_{1}\)的容抗与BG1的输入阻抗对低音频成分构成BG\(_{1}\)输入端的分压电路,如图3所示。显然,若C1用得过小将导致低频频响的下跌,这将会影响立体声信号低音成分的分离度。

2.副载波再生电路:导频信号由BG\(_{2}\)进一步放大,然后加到由二极管D1、D\(_{2}\)组成的全波整流电路。全波整流的输出脉动波为输入正弦波频率的两倍,这与一般50Hz电源经全波整流后变为100Hz波纹的道理一样,得到图1中(e)所示的38KHz波形。但应注意,这里不同于一般的全波整流,因为没有滤波电路,所以可以使交流成分得以保存。为了防止再生出来的副载波混入M、S信号;同时为了避免副载波对M、S信号的干扰或互调,B1\(_{3}\)应具有足够的选择性。(e)所示的38KHz脉动波经C9注入倍频放大器BG\(_{3}\)。BG3集电极负载B\(_{4}\)的初级是一个调谐于38KHz的高Q回路,在此回路上可得到波形(f)所示的再生副载波信号。在传输、选频过程中,如果B1\(_{3}\)4谐振回路没有给导频信号造成相位移,那么此再生副载波就与导频信号的倍频信号同相位。也就是说与立体声复合信号中的副载波是同相位的,这一点十分重要。如果解调电路的其他部分或收音机的高、中频电路使导频信号产生了相移,微调B\(_{1}\)3\(_{4}\)使它们呈容性或感性失谐,就能够补偿这个相移。这种微调正是解码器调试时的一大要点。另外B1\(_{3}\)4谐振回路的Q值又不宜设计得过高,以免因温度等因素的变化而使得回路谐振频率偏移过大。一般,空载Q值多设计在50~90之间。
3.开关电路:B\(_{4}\)和由四只二极管构成的电桥组成了开关电路的基本部分。由前述分析,在B4的初、次级上已分别有了副载波和立体声复合信号。此开关的任务就是将复合信号中的L、R信号分离出来。为便于说明工作原理,将其主要部分画于图4。图中,从B\(_{4}\)初级互感耦合到B4次级回路的再生副载波以38KHz的速率作用于四个二极管。因为此再生副载波已经过前级BG\(_{3}\)的放大,其振幅足以大到使二极管处于饱和导通或完全截止状态。也就是说,它使四个二极管处于每秒钟导通——截止38000次的开——关状态。当再生副载波正半周到来时(上正下负),桥路将按图4(a)实线所示之环路导通(D3、D\(_{4}\)导通,D5、D\(_{6}\)截止)。此时从B4次级回路中点注入的立体声复合信号则按图中点划线所示方向流动。反之,再生副载波负半周到来时(下正上负),环路的导通及立体声复合信号的流动方向如图4(b)所示(D\(_{5}\),D6导通,D\(_{3}\),D4截止)。如此,二极管在这个再生副载波的作用下已经可以等效于一个机械振子开关了。D\(_{3}\)、D4与D\(_{5}\)、D6轮流处于导通与关闭状态。此时桥形环路中的再生副载波也就成了如图所示的短形波开关信号了。再细看图4,由于再生副载波和立体声复合信号流经的环路不同,在再生副载波正半周到来时,立体声复合信号流经导通的D\(_{3}\),其导通电流将在D3的负载上建立输出电压。此处,为分析方便我们先略去C\(_{12}\)、R15、R\(_{16}\),而假设D3的负端直接接于负载R\(_{e}\)和电容C14上端。在D\(_{3}\)导通的各个瞬间有如图4中该点波形虚线部分所示的脉冲电流通过,这种脉冲电流波形基本与开关波形相同(见本刊第4期第3页图5)。只是在实际电路的该点并测不到这种波形,因为此电流立即对电容C14充电,则R\(_{e}\)的端电压迅速上升。而当D3截止各瞬间,即在脉冲电流的间隔时间里,C\(_{14}\)上储存的电荷又通过Re进行放电,其端电压按指数函数减少。这个充放电过程就形成了该点波形实线部分,它是含有38KHz副载波脉动成分的L信号波形,也即是立体声复合信号的两个包络线之一。同理,图4(b)二极管D\(_{6}\)及负载Rr,C\(_{15}\)最终完成了对右信号R的解调过程。输出波形中的副载波脉动成分由后面的去加重电路滤除掉。设计中,要精确选择和负载电阻Re(或R\(_{r}\))相并联的电容C14(或C\(_{15}\))的容量值。如果C太小;则输出变小;C太大,则对输出波形会造成非线性失真。因为, C过大,放电时间会变得过长而不能紧跟包络线的下降而下降,会有如图5所示的非线性失真。通常取C<\(\frac{1}{10f}\)m·R,式中f\(_{m}\)为立体声音频信号的最高频率,一般为15KHz;R相当图1中Re,R\(_{r}\)的等效负载。以下,我们说明R15、R\(_{16}\),C12及R\(_{19}\)、R20、C\(_{13}\)的作用。R15与R\(_{16}\)串联后再与C12构成并联网络串接于D\(_{3}\)、D4之间;R\(_{19}\)与R20串联后又与C\(_{13}\)构成并联网络串接于D5、D\(_{6}\)之间。当再生副载波正半周到来时,D3、D\(_{4}\)导通,C12两端被充以正负电压,然后它又经过R\(_{15}\)、R16放电,形成了二极管D\(_{3}\)、D4的自给偏压。此偏压对D\(_{3}\)和D4相对呈现为负偏压,即给二极管加了一定的反偏电压。这个反偏电压可以控制二极管,需要在再生副载波强度高于此偏压的瞬间才能导通。如图6所示,由于自给偏压的作用,相当于将二极管特性曲线由虚线移至实线。二极管导通的时间明显小于再生副载波正半周波形到来的时间,这个导通时间一般用再生副载波半个周期(角度为π)内被通过的角度θ来表示,称为开关的导通角或流通角。选择C\(_{12}\)、R15、R\(_{16}\)的值,即选择并联网络的时间常数可以调节此流通角的大小。同理,C18、R\(_{19}\)、R20的作用是在再生副载波负半周到来时控制D\(_{5}\),D6的流通角的。一般这两组并联网络参数相同,正负半周的流通角也相同。控制流通角的目的是为了提高通道分离度,其原理可用图7来说明。图中波形(a)是L=1、R=0的标准立体声复合信号,我们不用前述各图的立体声复合信号波形而选用它,是为了便于分析分离度;波形(b)集各二极管导通时的开关信号,虚线表示开关流通角θ=π的波形,而实线(为清楚起见,进一步注以斜划线)表示θ<π的波形;波形(C)是L侧二极管导通电流;波形(d)是R侧二极管导通电流。显然,此电流对R侧负载充放电及滤波之后,输出的是L信号在R侧的串音成分,其值越大,表明分离度越差。现在注意(c),(d)波形中对应两种流通角情况下,导通电流的变化。两波形斜划线下的面积虽然都比虚线下包围的面积缩小(即流通角减小后,输出相应减小了),但缩小的比例(d)比(c)更大。这意味着,减小开关流通角可提高通道分离度,图8表明其定量关系。在桥路中虽然作用着开关信号,但从L、R两个输出端来看,由于电桥四臂电路参数相同,也就是说相对于开关信号,电桥呈平衡状态,所以开关信号漏到输出端引起超音频干扰的可能性极小。收音机收到的信号如果是单声道调频广播,就没有再生副载波作用于B\(_{4}\),只有单声道音频信号从B4次级中点注入。此信号的正半周流经图9(a)之实线,负半周流经虚线,可以看出L、R两个输出端得到同样的音频信号。因此解码器可完成立体声信号解调与单声道信号畅通的兼容性。由于二极管特性开始部分呈图9(b)虚线所示的非线性,会使输出音频信号产生交叉失真,为此采用R\(_{17}\)、R14和R\(_{18}\)、R21对二极管加以直流偏压,如图9(C)所示。这样输出的音频信号就消除了交叉失真。(注意,此时因无再生副载波注入B\(_{4}\),故无前述的自给反向偏压产生。)。有时听众想变立体声为单声道放音,此时可扳动图1中的开关K1,使它断开,这样副载波就无法注入B\(_{4}\)了。






4.去加重及滤波电路:在普通调频收音机中,紧接鉴频器后面设有去加重网络,它大多是由最简单的RC滤波电路构成,其作用是衰减高音频。其高音频衰减特性曲线应与发射机预加重电路对高音频的提升曲线相对应。这样做的目的是进一步改善调频广播的信噪比。保证了频率响应从30Hz~15KHz是平坦的。但在立体声收音机中,因为鉴频器输出的立体声复合信号其频谱宽度达53KHz,要求从鉴频器输出至解码器开关电路之间的频率响应最低限度也应大于53KHz,所以去加重网络必需迁移到解码器输出端去。而解码器输出端的频响,除按去加重频率衰减特性要求外,还要求对19KHz及38KHz等超音频串漏干扰进一步滤除。因为残余超音频干扰会对放音信噪比及录音机的偏磁振荡有影响。这样,对立体声收音机中的去加重网络的滤波性能要求就更高,其网络形式也多样起来。图1电路中利用R\(_{15}\)、C14与R\(_{2}\)0、C15构成了RC型去加重网络。
5.立体声指示灯电路:为了判断收音机收到的信号是不是立体声节目,多采用指示灯显示的办法。图1中导频信号被D\(_{1}\)、D2倍频整流之后,交流分量一路经C\(_{9}\)注入BG3,而另一路由R\(_{9}\)、C8构成的滤波网络取出直流分量(波形见图1K)送至BG\(_{4}\)基极,做为BG4基极偏压使用。无导频信号到来时,BG\(_{4}\)基极无偏置电压,BG4处于截止状态,等效于一个大电阻,指示灯电流极微小,灯不亮。当有导频信号时,BG\(_{4}\)导通,灯被点亮。R13是BG\(_{4}\)基极下偏压电阻。应用同样原理,也有从其它部位取出再生副载波直流分量来开启指示灯电路的。(高乃康)