这里介绍一台电容测量仪,它的电路中使用了一片TTL双与非门集成电路和一只晶体管。用此仪器可测量几微微法到1微法的电容器容量。测量范围分为100P、1000P、0.01μF、0.1μF和1μF五档,电容量大小可从表盘上直接读出,使用很方便。
这个仪器还能输出频率可调的矩形波,作为脉冲信号发生器使用。
电路原理
我们知道,交流电通过电容器时会受到一定的阻碍作用,我们称它为电容器的容抗。容抗大小用公式表示时:X\(_{C}\)=\(\frac{1}{2πfC}\)
在图1电路中,电流的大小与电压U成正比,与容抗X\(_{C}\)成反比。也就是I=\(\frac{U}{X}\)C=2πUfC从式子中可以看出,当电源的电压与频率大小一定时,电路中的电流强度与电容器的容量成正比。这个公式虽然是在电源为正弦交流电的情况下导出的,但实际上只要电压波形的形状不变,那么,这个正比关系总是成立的,只不过比例系数不同。

本文介绍的电容测试仪电路就是根据这个原理设计的。它的原理见图2。仪器的主要部分是一个脉冲发生器,用来作交流电源,通过实验证明,对它的要求是: ①输出电压的频率要在较宽范围内连续可调。②输出电压的波形要求上、下对称。③输出电压的大小应保持恒定。

C\(_{0}\)是容量已知的标准电容,开关K2扳向①点时,把它接在电路中。当通过C\(_{0}\)的电流频率变高时,通过微安表的电流也增大。我们调节脉冲发生器的输出频率,使微安表指针偏转达到满度,将这个读数记作I0。然后,把开关K\(_{2}\)扳到接点②,保持脉冲发生器频率不变,将未知容量的电容器CX接入电路,这时微安表上读数记为i\(_{c}\)。
根据前面分析可知:
设计时适当选取C\(_{0}\)容量与I0数值,使计算简化,C\(_{X}\)容量的大小就能在微安表的表盘上直接读出来。例如:选标准电容为1000微微法,微安表满度电流即i0为100微安。若测量C\(_{x}\)时指针指在82微安处,则Cx容量即为820微微法。
仪器中的脉冲发生器电路是由三个反相器以及电阻、电容组成的环形多谐振荡器,如图3所示。此环形振荡器输出的是矩形波,电路振荡频率由电容C和电位器W的大小来调节。

元件选择
图4是电容测试仪的电路图。

环形振荡器中的反相器1、2由一片TTL双与非门集成电路7MY23担任,而用一只晶体管3DG6组成反相器3。我使用的7MY23集成块的逻辑图及管脚排列图见图3b。它是逆时针方式排列的。11脚接电源,4脚接地。
振荡器的频率由电容C\(_{1}\)~C5及电位器W控制。微调电阻R\(_{1}\)的大小对输出波形有影响,其阻值在调整中确定。二极管D1起改善波形的作用。
此仪器使用时,电容C\(_{6}\)~C10是作为测量标准的,要选容量准确、稳定的优质品,如云母、涤纶电容。其中G\(_{1}\)0最好用钽电容,若用普通铝电解电容器误差较大。
表头G是一只直流微安表,它与二极管D\(_{2}\)并联组成一个脉冲电流表。由电路图可以看出,由于微安表表头有一定的内阻,故流过微安表的电流应由电容容抗和微安表内阻联合决定。因此,只有当表头内阻远比电容容抗小时,才能符合电流大小与电容容量大小成正比的关系。所以,脉冲发生器的频率与电容容量应适当配合。文中表头满度是100μA,这时读数比较方便。实际制作中,灵敏度为50~300μA的表头都可以用,但应相应地调整脉冲振荡器的频率。
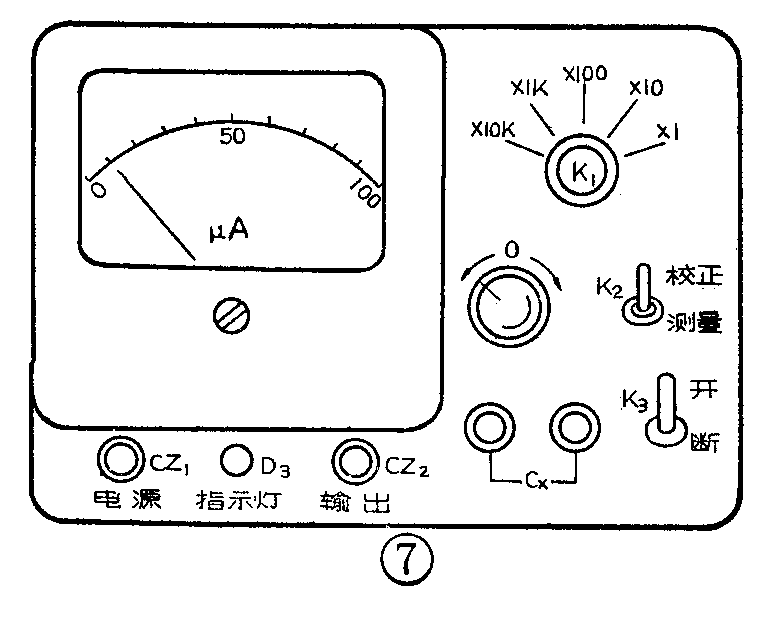
开关K\(_{1}\)是旋转式双刀五掷开关,用来选择仪器测量范围。为配合表头刻度读数,开关K1安装时在面板上标出不同倍率,分成×1、×10、×100、×1000、×10000五档。
CZ\(_{1}\)是电源插口,CZ2是振荡器脉冲信号输出插口。D\(_{3}\)是作为电源指示灯的发光二极管,也可以省去或改用普通指示灯泡。
图5是仪器的印刷电路板。集成电路管脚间距离较小,绘制时要注意位置准确。由于不同表头的大小形状差别很大,因此装表头的孔要按实际情况确定。制作时,线路板上不钻接线孔,零件直接焊在铜箔一侧,线路板的背面就是仪器的面板。

在焊集成电路块前,先用小镊子将其管脚引线弯成一定的形状,见图6所示。管脚弯曲部分要有一定弧度,并避免多次弯折。焊接时要使用小功率(25W以下)电烙铁,焊接时间也不能过长。集成电路管脚上已经镀金,切勿再用小刀去刮,焊接时也不要用有腐蚀性的焊油,一般用松香作焊剂效果很好。

全部零件安装完毕后,装进一只长方形塑料盒里。图7是仪器的尺寸大小和面板图。

调整和使用
仪器装好后,检查零件焊接无误,就可以接通电源进行调整。本仪器需要的电源电压是直流5伏,允许偏离±10%使用,也就是在4.5~5.5伏之间。实际使用时可以用电压可调的稳压电源或用四节半旧的电池串联。
仪器的调整分两步进行:第一步是保证各档的标准电容接入时,表头指针都能满度偏转。将开关K\(_{2}\)扳到“校准”位置,K1依次投向C\(_{6}\)~C10对应的各档。这时调节W改变振荡频率,应能使电表读数恰为100微安。若在某一档,单依靠调节W不能使表头读数恰为满度,就要改变对应的那只电容器容量。在指针偏转不足时,应将电容换小,反之,则应将电容增大,使电流频率降低。调整1μF(×10000)档时,由于电流频率很低,指针会有一些抖动,这是正常现象,并不影响使用。
第二步解决波形对称问题。前面说过,当电流正负半周波形对称时,电容器中通过的电流强度与电容量大小成正比。这就要求振荡器产生的脉冲宽度应等于间隔时间(见图8a),否则电表读数就不再与容量大小对应,造成很大测量误差。调整时最好能用示波器观察,在振荡器波形异常时,只要适当调整R\(_{1}\)的大小即能校正。

在没有示波器时,可以将仪器拨到0.01μF(×100)档,调节W使指针满度(100μA) ,然后找一只容量准确的3300pF电容,接在C\(_{x}\)位置进行校测,若指针不能指在33μA处,说明振荡波形不对,可调整R1使指针转到该处,再换一只准确的6800微微法电容校测,看看指针是否指在68微安处。这样反复调整R\(_{1}\)的阻值,通过观察表头读数进行校正,只要一档里这样三个点读数校准,其他档一般不必再校。R1大小调好后,最好换成大小相等的固定电阻。
使用时,将待测电容器接在C\(_{x}\)接线柱上。估计待测电容大小,把K3拨到相应倍率档位上,把K\(_{2}\)扳到“校正”,然后扳K3,接通电源,调节W旋钮使表头指针读数为满度100微安。再把K\(_{2}\)扳到“测量”,将这时表头指针读数乘以K1档的倍率,就是待测电容的微微法数。要注意测量时人手不要触及电容接线柱。每次变换量程都要重新校正。(陈鹏飞)