集成电路玩具电子琴的外形见图1,它制作简单,不用调试,只要元器件按图选用,装上即响,不需调整。当按下琴键时可同时发出主音和颤音,它可模仿小号、黑管等吹奏乐器发出的声音,可供儿童娱乐用。另外此琴是标准的“A”调,按下中音“1”,可发出“A”调“1”,其频率为440赫芝,所以也可供乐队定音用。

工作原理
此电子琴共用了五块TTL集成电路,其中三块(YF1、YF2、YF3)为7MY23双与非门电路。它们的外形、逻辑图及管脚排列图见图2(a)(b)。本文所用7MY23的管脚是按顺时针排列(也有产品是逆时针排列),带有色点的管脚为“4”脚,它应接电源(正5伏)。11脚为“接地”。1、2、3、13、14为左边与非门的五个输入端,12脚为输出端。5、6、7、8、9为右边与非门的输入端,10为输出端。

另两块集成块是7CY13单D触发器,它们的外形、内部逻辑图以及管脚排列如图3(a)、(b)所示,注意7CY13的管脚是逆时针方式排列。带有色点的管脚是14脚,它接电源(+5V)。管脚7“接地”。

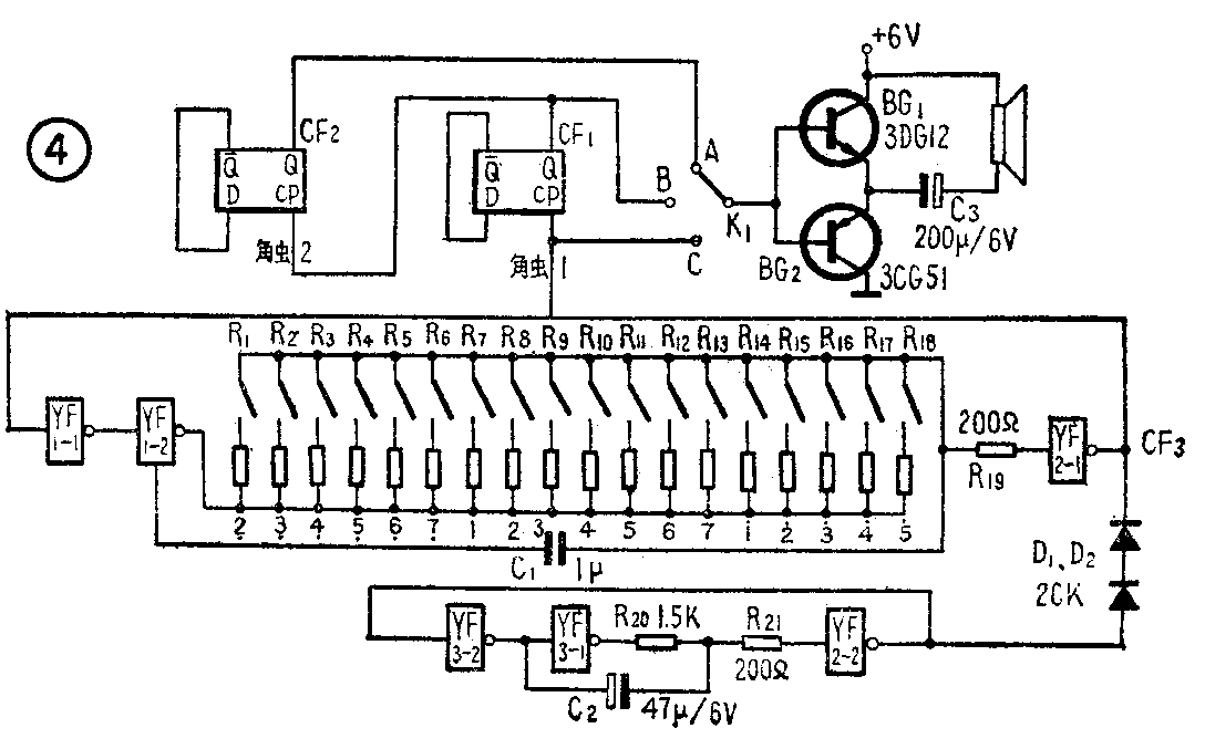
玩具电子琴的电原理图见图4。整个电路由主振荡器、颤音振荡器、分频器及音频放大器几部分组成。图4中YF\(_{1}\)-1、YF1-2为YF1集成块中的两个与非门;YF\(_{2}\)-1、YF2-2及YF\(_{3}\)-1、YF3-2分别为YF2、YF3中的两个与非门。主振荡器由YF\(_{1}\)-1、YF1-2、YF\(_{2}\)-1三个与非门以及电阻R19、音阶电阻(R\(_{1}\)~R18中任一个)、C\(_{1}\)组成。颤音振荡器由YF2-2、YF\(_{3}\)-1、YF3-2三个与非门以及电阻R\(_{2}\)0、R21、C\(_{2}\)组成。主振荡器和颤音振荡器都是带有RC电路的环形振荡器。它是用奇数个与非门电路连接起来,并将最后一个与非门的输出反馈到第一个门电路的输入端。依靠电路中电容器通过电阻充放电,电路中与非门的状态来回翻转,从而形成振荡。改变电容充放电电路中的电阻值,使充放电速度发生变化从而改变振荡频率,使输出波形为方波。环形振荡器的工作原理见本刊77年第4期“用TTL与非门组成的自激多谐振荡器”一文。

主振荡器中电阻R\(_{1}\)~R18的阻值,是根据2·-5·十八个音阶的频率,通过计算并经过实际调整后确定的,各音阶频率及其对应的电阻见附表。通过玩具电子琴的按键,把R\(_{1}\)~R18中任一电阻接入电路,使在振荡器分别产生2·—5·十八个音阶中的某个音阶频率。颤音振荡器产生约5赫芝的振荡,并通过二极管D\(_{1}\)、D2去调制主振荡器,形成乐器中的颤音效果。
各音阶对应的频率和电阻
音阶 频率(Hz) 电阻(Ω)
2· 246 826
3· 277 718
4· 293 672
5· 329 583
6· 369 510
7· 413 441
1 440 407
2 492 350
3 553 302
4 585 281
5 658 242
6 738 210
7· 827 182
1· 880 170
2· 984 148
3· 1106 128
4· 1170 121
5 1316 104
为了扩展该电子琴的音域、该电路设置了由两块单D触发器组成的分频器。从CF\(_{1}\)点输出作为中音区,CF2点输出为低音区。主振荡器直接输出CF\(_{3}\)为高音区,相邻两个音区之差为八度音。
分频器是由两块7CY13单D触发器组成,单D触发器的工作状态由D端的状态确定。当D端为高电平时,在CP端触发脉冲作用下,使D触发器工作于“1”态即Q=1(高电平);反之,D端为低电平时,在触发脉冲作用下,D触发器工作于0态,即Q=0(低电平)。此电子琴电路中将D触发器连接成计数状(D端与Q-端相连),这样在触发脉冲作用下,D触发器不断翻转,每进两个脉冲,触发器翻转两次,并输出一个脉冲,所以对触发脉冲进行了分频。
图4中波段开关K\(_{1}\)是用来转换高、中、低音区电路的。演奏者可根据需要来选择,以获得较满意的演奏效果。
音频放大器是由硅PNP与硅NPN两只晶体管接成无输出变压器功率放大电路,由于电路简单,本文就不再叙述了。
元件选择与组装
对TTL集成电路的要求不严格,一般测试参数如漏电、功耗超过规定指标,或者缺少输入端(除个别的需要有两个输入端外,其它与非门只需一个输入端)的与非门均可利用。
晶体管BG\(_{1}\)采用3CG51,BG2用3DG12,β值不要求配对,但要求β大于100为好。
D\(_{1}\)、D2两支二极管用2CK或2CP二极管均可。
电阻R\(_{1}\)~R18是音阶电阻,阻值要求准确。调整音阶电阻阻值时,可以分别选用阻值略大的碳膜电阻,然后用细砂纸打磨使达到要求值,但要用绝缘漆或腊封住,以免受潮阻值变化。也可用两支电阻串联成所需阻值。
波段开关K\(_{1}\)可选用单刀三掷。喇叭选用3英寸的喇叭。电容C1最好选用纸介金属化电容。
电子琴电路中除了喇叭、波段开关K\(_{1}\)及电源外,其它元件均安排在图5所示印刷线路板上(比例1∶1)。此板上右边安排YF1、YF2、YF3三块7MY23的集成块,左边安排触1、触2两个触发器,注意管脚的连接,不要搞错。印刷线路板上已把YF1、YF2、YF3的“4”脚与触1、触2的“4”脚连在一起。另外YF1、YF2、YF3的“11”脚与触1、触2的“7”脚均为“接地”,印刷线路板上已把它们连接在一起。另外别忘了在印刷线路板背面要接l1、l\(_{2}\)两条连线。

电子琴开盖后如图6所示,琴盒可用木板、五合板、塑料板等制作(见图7)。琴键下面垫一块15毫米厚、272×60(平方毫米)的泡沫塑料(海绵也可),靠泡沫塑料的弹性解决琴键的复位动作。琴键、接触片、接触点的加工图分别见图6。琴盒底部要装三个腿。


故障检查与使用
上述电子琴在装配时,只要元器件符合要求,电路没接错,一装上就响,不需调整。但为了给初学者提供方便,我们把制作中会遇到的一些问题以及解决的方法作些介绍。
1.接通电源喇叭应有“克答”声,如无声,BG\(_{1}\)或BG2坏,特别是电源接反后更会出现此类故障,一般BG\(_{1}\)损坏的可能性较大。
2.喇叭虽有“克答”声,但按下琴键不响,这时可把波段开关拨至高区档,再按琴键仍不响,说明主振荡器没工作,换YF1或YF2集成块。
3.转换波段开关,高音区响,中、低音区不响,换“触1”。高、中音区响,低音区不响,换触2。
4.有主音,无颤音,说明颤音振荡器没工作,换YF3或YF2。另外也要检查一下2CK是否损坏。
5.主振荡频率都偏高或偏低,可调整C容量。颤音过强或过弱,可调整C2容量。
6.接通电源后,喇叭发出有节奏的“答”声,说明电路里有自激,换“触1”或换YF1、YF2。
上述电子琴静态电流为50毫安,工作时为120毫安。所以不弹琴时,要立即关掉电源。用稳压电源时,需选用能提供150毫安左右的6V稳压电源,并要求纹波系数小。另外琴键的触点接触处要经常用酒精棉球擦洗,要保持清洁,以免接触电阻的变化,会影响音阶的频率。另外该琴电源是按6伏设计的,如果使用干电池,随着电池电压的下降,各音阶的频率将会升高,但各音阶频率的相互关系不变。(吴美诚)