由于通道的调谐线圈较多,所以不用专用仪表调整,很难取得满意的效果。现介绍一种依靠电视台信号,只用万用表细调晶体管黑白电视机图象与伴音通道的方法,供业余爱好者参考。
目前,中小型电视机大都把中放频率特性曲线调成所谓草垛形,如图1所示。其主要特点是:图象中频f\(_{3}\)=37MHz调在特性曲线斜坡的中点稍下一点;伴音中频f2=30.5MHz的相对放大量应限制在3~5%左右,以防止伴音信号对图象的干扰;对相临低频道的伴音载频f\(_{4}\)=38.5MHz和相临高频道图象载频fl= 29MHz进行吸收,从而滤除邻近频道的干扰。为了保证频率特性具备上述特点,通常依靠调整中频放大电路的谐振回路和吸收回路来完成。具体调整方法和步骤如下:

一、图象中放电路
国内电视机普遍采用的是正向AGC电路,AGC电压的高低,反映了中放输出电压的大小。因此,在高频头输出特性符合要求,经过粗调,整机能收到电视信号的情况下,可用万用表监测AGC电压来调整回路的磁心。当调到AGC电压为最大值时,可认为回路正好调谐在中频频率上。如果再继续调整磁心,使电感量增大,谐振频率则向低端移动;反之,谐振频率就向高端移动。所以,用监测AGC电压的方法来调整中放调谐回路,既简便,又直观,也比较准确。下面分别介绍常见的三种中放电路的调整方法。
1.RC耦合宽带放大电路的调整:RC耦合中频放大器,都配合有集中调谐电路,如图2所示。从图中可以看出,前三级都是RC耦合,没有调谐回路,中放特性曲线主要依靠末级双调谐回路和吸收回路的共同作用来获得。调整方法是:

①先将30.5MHz、29MHz吸收回路的磁心置于电感量最大位置。将38.5MHz、39.5MHz吸收回路的磁心置于电感量最小位置。目的是使吸收点向中频通带两边偏移。也可以先把吸收回路的所有线圈全部断开,待调整吸收回路时再依次接入。
②将万用表并接在图2M点与地之,在接收到电视信号的情况下,分别调整图中的L\(_{6}\)、L7,使AGC电压尽可能升高。为了不使中频通带过窄,应将L\(_{7}\)的磁心置于电感量减小时,AGC电压升到最高后又开始下降的临界点处,使谐振频率略高于中放通带的中心频率;而将L6的磁心置于电感量增大时,AGC电压升到最高后又开始下降的临界点处,使谐振频率略低于中放通带的中心频率。
③调整L\(_{l}\),使AGC电压升至最高。然后重复②的调整内容。
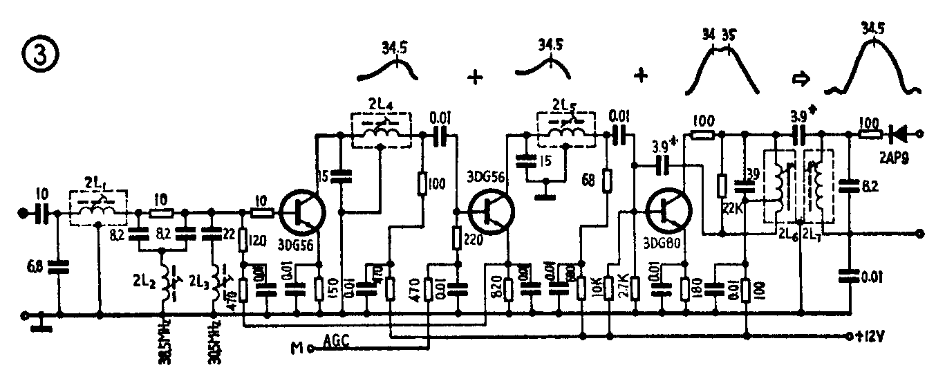
2.宽带LC中放电路的调整:这种电路的特点是第一、二级中放单调谐回路的Q值很低,并且都调谐在中频曲线的中心频率上。具体电路如图3所示,飞跃12D\(_{1}\)、19D1等电视机均采用这种电路。由于调谐回路的Q值低,通带较宽,所以对调整要求不严。对中放选择性的要求,主要由三中放双调谐回路来保证。调整的方法是:

①与RC耦合宽带放大电路的调整①相同。
②将万用表并接在图3M点与地之间,在收到电视信号的情况下,分别调整2L\(_{4}\)、2L5、2L\(_{6}\)、2L7,使AGC电压升至最高。然后再仔细调整双调谐回路2L\(_{6}\)与2L7,调整方法同RC耦合放大电路末级双调谐回路,要把2L\(_{6}\)的磁心置于电感量减小时,AGC电压升至最高又开始下降的位置;把2L7磁心置于电感量增大时,AGC电压升至最高又开始下降的位置。这样就使2L\(_{6}\)、2L7的谐振频率分别向中放通带的中心频率两边偏移,以兼顾通带和选择性的要求。
③调整2L\(_{1}\)的磁心,使AGC电压升至最高。然后按照②的调整内容再重复调整一遍。
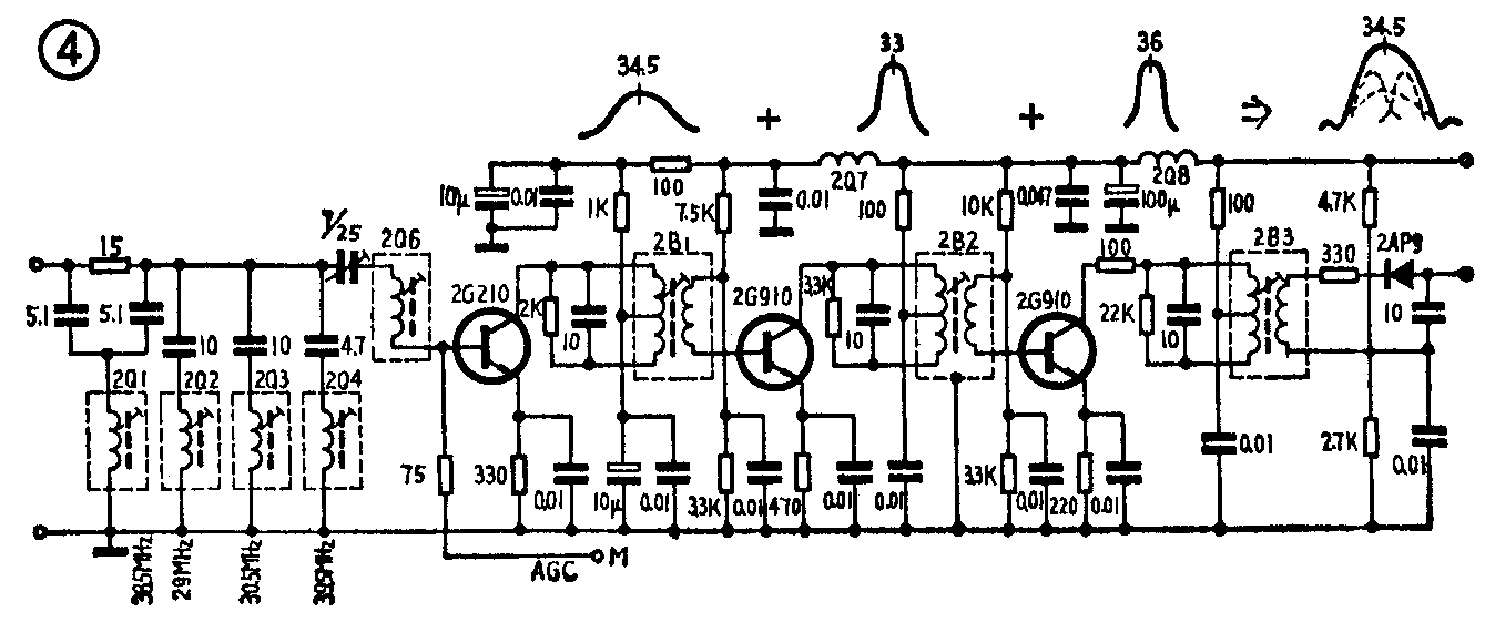
3.三参差调谐放大电路的调整:图4是凯歌4D4型电视机采用的参差调谐电路,飞跃9DS4、星火71—9等也采用类似电路。其特点是三个谐振回路分别调谐于34.5MHz、33MHz、36MHz上,共同组合成所需要的中放特性曲线。调整方法和步骤是:

①与RC耦合宽带放大电路的调整①相同。
②在接收到电视信号的情况下,用万用表监测AGC电压,调整图4中的2B\(_{1}\)磁心,使AGC电压升至最高,这时2B1就谐振在中心频率34.5MHz附近。然后调整2B\(_{2}\)的磁心,使AGC电压升至最高后,再把磁心向电感量增大的方向旋转1~2圈。在AGC电压开始下降,但变化不明显时为好。这样2B2就调谐在33MHz附近。最后调整2B\(_{3}\)的磁心,使AGC电压升至最高后,再把磁心向电感量减小的方向旋转1~2圈,在AGC电压开始下降且变化不明显时为好。这样2B3就调谐在36MHz附近。
③调整2Q\(_{6}\)的磁心,使AGC电压升至最高。然后按②的调整内容再重复调整一遍。
在按照上述方法调整图象中放的过程中,可能会出现伴音干扰图象的问题,可先不管它,待调整吸收回路时再解决。
二、伴音中放电路
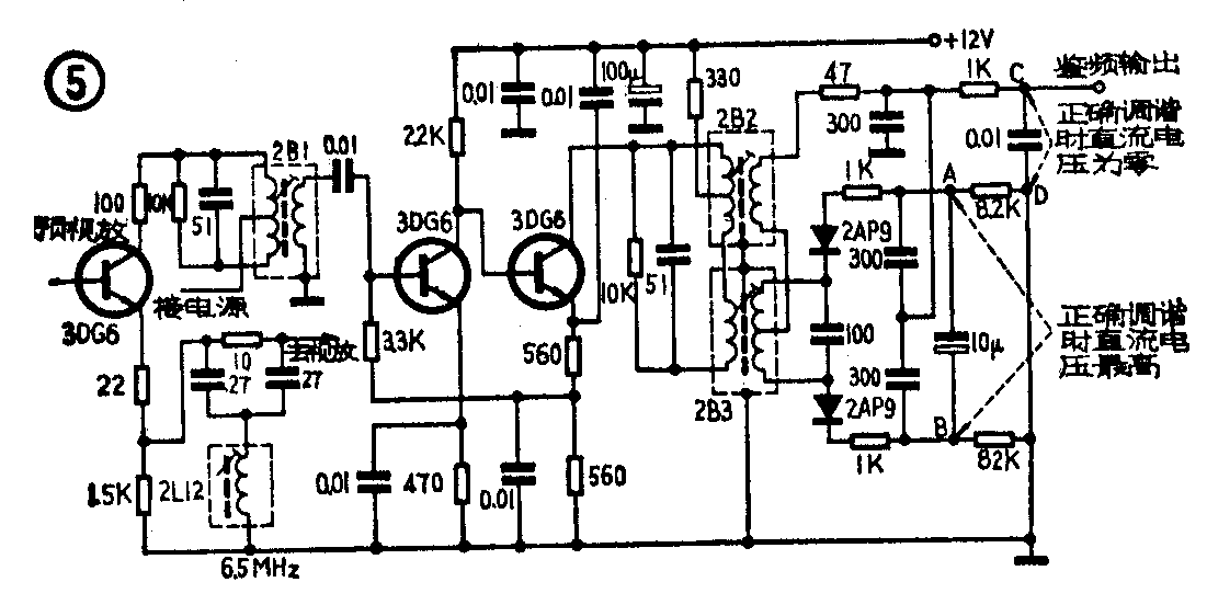
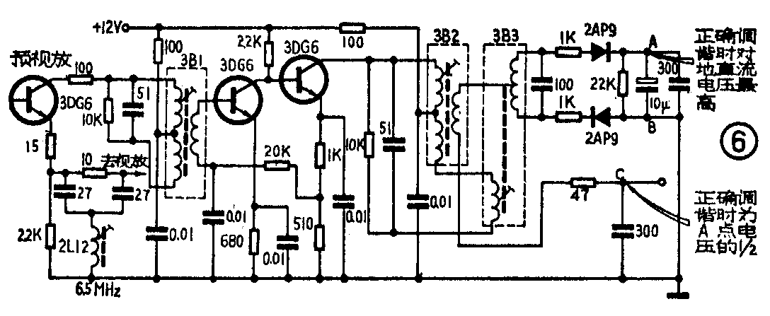
常用的伴音中放电路如图5、图6所示。主要区别在于鉴频器有所不同。图5为对称性比例鉴频器,图6为非对称性比例鉴频器。下面简介一下调整方法。


对于对称性比例鉴频器的伴音电路来说,当图5中的三个回路正确调谐于6.5MHz时,A、B两点的直流电压最高,而C、D两点的直流电压为零。所以,在接收到伴音信号的情况下,用万用表测量A、B两点的电压,分别调整2B\(_{1}\)2\(_{3}\),使电压指示为最大值。然后,把万用表移至C、D两点,微调2B3,使电压指示为零。
对于非对称性比例鉴频器的伴音电路来说,只是伴音中放输出电路的接法和鉴频电路有所不同。从图6可见,3B\(_{2}\)的次级直接连到3B3次级的中心抽头上,因此,输出端C点的直流电压等于A点电压的一半。这样在接收到伴音信号之后,用万用表分别监测A、C两点对地的直流电压,调整3B\(_{1}\)2\(_{3}\)使A点电压升至最高,然后微调3B3,使C点电压为A点的一半,反复几次,即可调好。
三、吸收回路
1.30.5MHz吸收回路的调整:用万用表监测图5或图6中A、B两点电压,把此吸收回路线圈的磁心由电感量最大处往小的方向转动,直到电压指示值最小为止。这时吸收回路的频率即为第一伴音中频30.5MHz。由于吸收回路的作用,伴音音量会明显减小,伴音干扰图象的问题就会解决。
2.29MHz吸收回路的调整:按照30.5MHz吸收回路的调整方法,先将29MHz吸收回路调到30.5MHz上,此时万用表指示最小。然后,把29MHz吸收回路的磁心向电感量增大的方向缓缓转动,这时吸收点将由30.5MHz向低偏移,直到万用表指示的电压值,由低又回升到最高位置时为止。
3.38.5MHz吸收回路的调整:用万用表监测AGC电压,把磁心由电感量最小处向大的方向转动。先将38.5MHz吸收回路调谐到图象中频37MHz上,此时AGC电压最小。然后,把磁心向相反的方向转动,以减小电感量,提高谐振频率,一直到AGC电压下降后又回升到最大时为止。
4.39.2MHz吸收回路的调整:此吸收回路的调整方法同3,在AGC电压回升到最大点之后,再把磁心向电感量减小的方向旋转1圈。有的电视机无此吸收回路,因此这项调试可以略去。
5.6.5MHz吸收回路的调整:输送到视放末级去的视频信号,如果不把6.5MHz第二伴音中频吸收掉,就会在画面上出现许多小白点。调整时,将6.5MHz吸收回路的磁心慢慢旋进去,直到上述干扰消失为止。在一般情况下,这种干扰不一定出现,可将磁心置于电感量较小的位置,使吸收点离开视频通带,避免图象的清晰度受到影响。
四、总调
为了保证图象质量,在上述调整的基础上,可进行一次总调。在电视台播放电视测试图时,配合调整频率微调,调整图2中的L\(_{1}\)(或图3中的2L1、图4中的2Q\(_{6}\)),使图象清晰度最高、不镶边、不拖尾、没有重影等。必要时,也可微微调动一下中放电路的调谐线圈的磁心。如果第一、二、三项内容调整的好,图象及伴音质量都比较理想,也可不作总调。
五、注意事项
(1)调整前应了解磁心位置与电感量和谐振频率的关系。如果中频变压器采用的是10A型“王”帽形结构时,电感量的变化是通过调节磁帽位置来实现的。当磁帽靠近“王”型磁心(即旋至下端位置)时,电感量最大,此时回路的谐振频率最低。反之,电感量最小,谐振频率最高。如果中频变压器采用的是10K型螺纹磁心式结构时,电感量的改变是通过改变螺纹磁心相对于线圈的位置来实现的。当磁心的几何中心与线圈的几何中心重合时,电感量最大,谐振频率最低。如果把磁心继续向一端移动,电感量将由大变小,谐振频率将变高。
(2)用万用表监测AGC电压时,应在AGC起控的条件下进行。信号弱时宜监测中放AGC电压,即图2、3、4中M点对地电压。如果信号很强,已超出中放AGC的起控范围,使AGC电压变化迟钝时,可改成监测高放AGC电压。
(3)用万用表监测某点的电压变化时,有时由于变化量较小不易准确观察出来。在这种情况下,可用图7所示的方法,在万用表上串接一个与被测电压大致相等的直流电源,这样可用低量程电压档来观察电压的变化量。例如当AGC电压由3V增大到3.2V时,如果用万用表10V档测量,电压变化量就不易读出,这时可在万用表上串联2节1.5V的电池,然后改用1V档来测量,电压的变化量就可明显的反映出来。

用上述方法调整的中放电路,若用扫频仪复测,中频特性曲线和频率基本上都能满足要求。(孙立新)