现在市场上卖的电唱盘,当唱片放完后一般都不能自动关机,使用起来很不方便。我对北京电唱机厂生产的一种海燕牌电唱盘进行了一些小改革,不仅使电唱盘在唱片放完后能自动关机,而且还能使所配用的高传真扩音机自动关机。
改制原理相当简单。原唱机音臂座下面的轴上有一个自动开机凸轮,凸轮旁边有一块固定在面板背面的开关绝缘板,绝缘板旁边有一组用弹簧铜片做的常闭触点,控制着电源的开和关,见图1(a)示意图。当音臂放在音臂架上不使用时,开机凸轮的突出部分正好顶住绝缘板,将常闭触点顶开,唱机电源不接通。放唱时,音臂一转动,开机凸轮也跟着转动,突出部分离开绝缘板,常闭触点接通,就接通了唱机的电源。

为了使电唱机具有自动关机功能,可在开机凸轮的下面的轴上再套上一个自动关机凸轮(见图1(b))。一般唱片终止槽(即最里面的一圈)的直径约为92~93毫米,距有音迹处的距离一般大于7毫米。当唱片放完,唱针滑到这一段距离时,我们就可以根据这段距离调整关机凸轮的位置,使其正好顶开常闭触点,达到自动关机的目的。
这种唱机的唱臂座轴较长,开关绝缘板也较宽,所以两个凸轮可以安装在一个轴上。具体调整时,可先将唱臂放在唱片最里圈的终止槽上,调整关机凸轮,使其正好顶开常闭触点,然后将唱臂往外移6~7毫米,常闭触点应能闭合。可反复试验几次,就可以达到目的。最后再将固定关机凸轮的螺丝钉上紧即可。
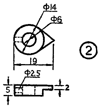
关机凸轮的加工尺寸见图2。凸轮的尖顶部分不要太尖,以防磨损。可用有机玻璃、塑料或金属等材料制作。

为了使电唱盘自动关闭时扩音机也能自动关闭,可将扩音机的电源从唱盘电机的电源线处引出来(见图1(b))。最简便的办法是在唱盘外壳放电源线的小盒处设置一个电源插座,里面和电机的电源线并联好,使用时只要将扩音机电源插到这个插座上就行了。应注意的是,扩音机的功率必须限制在20瓦以内。(孟宪刚)