这种扩音机是为方便广大无线电业余爱好者制作而设计的。它有如下特点:
1.额定输出功率为8.8瓦×2,功率适中,适合在一般家庭中应用;
2.整机采用了四块集成运算放大器,使电路结构大为简化,制作和调整都变得十分容易。
3.考虑到场效应管有些地区不好买,本机输入级采用了两块集成电路(见图1中的A\(_{1}\)3,图2为整机印刷也路板)。A\(_{1}\)3均采用集成运放电路8FC3。8FC3由2、3端输入时,其输入阻抗高达90兆欧左右,因为A\(_{1}\)3的输入阻抗分别与R\(_{3}\)或R26并联,所以这时扩音机的输入阻抗仅取决于R\(_{3}\)、R26的数值。本机R\(_{3}\)、R26取值为510千欧,可与晶体唱头很好地匹配。R\(_{3}\)、R26阻值不可取太大,否则A\(_{1}\)3基流减小,噪声会增大;A\(_{1}\)3按图1形式连接时,闭环输出阻抗约0.09欧,数值很小,这对和下一级音调网络配接是很有利的。C\(_{2}\)、C15、R\(_{4}\)、R27是输入级的消振补偿网络。另外,由于8FC3噪声电压很低,所以在静态时从喇叭中几乎所不到噪声。


4.A\(_{2}\)4作为音调网络和功率级的推动级,采用了8FC4集成运放块。我们知道,音调网络的音调控制电位器如果引线较长,分布参数就较大,容易引起电路自激,使电路工作不稳定。集成电路8FC4具有很容易使电路消振的特点,就弥补了上述缺点。通过适当选择消振电容C\(_{11}\)、C21的数值,可有效地提高线路的稳定性。
5.8FC3的开环频响为1千赫,8FC4的开环频响仅6赫。在电路中是靠加入负反馈来展宽频响的。由于音调级的负反馈比前一级深得多,就可有效地展宽8FC4的闭环频响,弥补8FC4比8FC3开环频响窄的缺点。显然,8FC3和8FC4的位置不可互换。整机频响一般可以达到10~18000赫。
6.本线路的功率输出级采用准互补推挽形式的OCL电路。静态时零点飘移电压很小,也很稳定,约为0.001伏,开机时对喇叭没有冲击,不需要加扬声器保护电路,这是用分立元件组装的扩音机不能相比的。
如果喇叭阻抗为4欧,则功放管3DD4应换为3DD15一类的功率稍大的管子,此时额定输出功率也加倍。
7.考虑到有些家庭房间不大,两路扬声器放置得较近,不能充分发挥立体声的效果,本机增加了立体声扩展线路。
所谓立体声扩展,就是从左声道信号中取出一部分与原信号反相的信号加到右声道中去,同时从右声道信号中取出一部分反相信号加到左声道中去。这样左、右两声道相互反相串音的结果,就会使听者感到两路扬声器的距离好象拉远了一样,这就改善了音源面的主体声效果。图1中的BG\(_{1}\)、BG7是专为施加立体声扩展而加的,主信号取自BG\(_{1}\)、BG7的发射极,反相串音信号取自BG\(_{1}\)、BG7集电极,通过转换开关S\(_{1}\)的2、3刀位,分别送到A2\(_{4}\)的正相输入端。串音信号的幅度不可超过主信号幅度的20%,否则会使声源面产生分裂,破坏放音效果。
集成块性能的简易鉴别法
买到集成电路以后,总希望能简单地鉴别一下元件的质量,看看能不能用,安装时才能放心。集成电路虽然有许多参数,但在业余条件下运用时,只要借助一块万用表测试出最大电压输出幅度V\(_{op}\)-p、基流Iib、静态功耗P\(_{c}\)(Pc=E\(_{c}\)·Icc)、补偿电容的数值就行了。测量方法如下。
图3为测试线路图。当电位器W的滑臂向E\(_{c}\)或向地端滑动时,输出电压V0将跟随变动到最大值或最小值,V\(_{0}\)最大值与最小值之差便是Vop-p。

8FC3、8FC4等运放块是采用对称双电源供电的。在测量中,如果发现只有半边跟随特性,即最大输出端电压V\(_{op}\)-p不到电源电压的一半,则这一块集成电路不能使用。
当W滑臂处于中间位置时,运放块处于线性放大区。此时如果不加消振电容C,电路将产生自激振荡。振荡电压的数值可用万用表交流电压档在输出端直接测得;加入消振电容C后,表针指示应减小。逐渐增加C的容量,使表针读数减至最小,此时的电容数值。就是最佳补偿值。C值太大会影响频带宽度,因此使用时C的容量可略小于最佳值。
在30伏电源中串入电流表,可以测量出静态电流I\(_{cc}\),继而根据Pc=E\(_{c}\)·Icc可推算出静态功耗P\(_{c}\)。
在消振状态下测量图3中100千欧电阻两端的电压V\(_{R}\),则可根据Iib=V\(_{R}\)/R计算出基流IiB值。
可以利用一只九脚电子管管座做为测量管座。测量时,将外围元件焊在管座引线上,并按照电路图中的管脚顺序,将集成电路块插进九脚管座即可。注意不要插错。对于其它型号的集成运放电路,只要管脚一一对应,都可以按照上述办法测量。
表1给出了8FC3、8FC4在电源电压为±15伏、测试频率为200赫、常温下的一些参数,可供参考。实际上,只要集成电路还有功能,在业余条件下就可以运用,并不一定每项参数一定要符合表1中的要求。

元件的选择与装配
所有的阻容元件应按照线路中所给定的数值选配。所使用的电解电容的耐压数值,应严格符合要求。级间耦合电容(C\(_{4}\)、C17)最好选用无极性电容,如果选用电解电容,漏电流应该很小。
音量及音调电位器采用同轴电位器,型号为WTH—Ⅲ。如果买不到这种电位器,也可用两只直滑式电位器代替,使用时设法将两个电位器并列固定在一起,做到同时调整即可。在无特殊需要时,平衡电位器W\(_{2}\)及平衡电阻R25、R\(_{47}\)可以不加,这是因为平衡电位器的加入会使扩音机输入阻抗下降。如果需要加装,R25、R\(_{47}\)可直接焊在W2上。
以上所有的电位器的外壳都应接地,以避免窜入干扰信号。
S\(_{1}\)是一只三刀三掷波段开关。如果一时找不到,可用一只二刀二掷开关代替,这时应将“单声道”一档省去。
R\(_{2}\)0、R23、R\(_{45}\)、R46是0.5欧2瓦电阻,可从废旧线绕电阻器拆下的电阻丝上,量取0.5欧的一段,绕在阻值大于1千欧的一个电阻器上,并且将电阻丝两端分别焊在电阻的两个引线上即可。
所有晶体管的选用范围见表2。四只功率管的散热片可用铝板制作,尺寸及形状见图4。装配时,散热片之间应相互绝缘,并应安装在容易通风的地方。应注意的是,四只功放管及其发射极电阻以及安装在面板上的电位器、开关等,在印刷板上均未画出,读者在焊接电路时请参考电路图一一对应接好就行了。功放管与电源之间的引线应直接焊在电源上,不要和印刷板与电源之间的接线共用,这样可防止通过地线产生寄生耦合。


在焊接运算放大器时,各个腿不必剪短,可用塑料套管将腿套起来弯曲后焊在印刷板上。8FC3的11、10、12脚不焊在印刷板上,而是悬空绞焊在一起。其余不用的管脚可用套管套好然后弯折到一边,注意不要与别的管脚和别的元件相碰。8FC3和8FC4的管脚位置见图5。

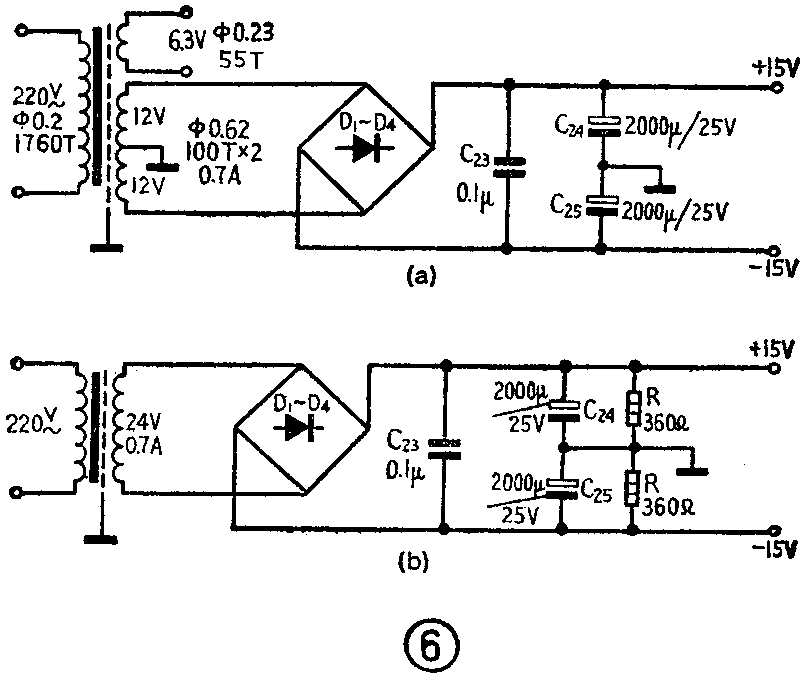
电源变压器及整流滤波电路见图6。图6(a)给出了电源变压器的绕制数据。如果读者手中变压器的次级仅有一组绕组,那么可采用图6(b)的形式来获得正、负两组电源。电源变压器的铁心截面积一般取22×24毫米\(^{2}\),如果铁心质量较好,也可用22×22毫米2的。

图6中的C\(_{23}\)是为防止浪涌电流损坏电路而设的,它同时可以滤掉电源中的高频干扰信号。如果有条件采用稳压电源,效果会更好。
外接音量电位器、音调电位器及放音方式转换开关(S\(_{1}\))的引线都应采用屏蔽线,屏蔽线的外皮要一端接地(不要两端接地)。整机主要元、器件排列位置可参考图7。

调试步骤
机芯焊接完毕并检查无误后就可进行调试。调试顺序是先末级后前级。
首先断开扬声器及功率管BG\(_{5}\)、BG6、BG\(_{11}\)、BG12,然后接通电源,注意应使正、负两组电源同时加在电路上。测量OCL电路输出端静态电压,正常值应为零伏。之后,接入功率管,重新测量输出端电压仍应为零伏。有时由于几只功率管的正向管压降不一致或因A\(_{2}\)4的输入基流太大,会使输出端静态电压稍有偏移,但在正常情况下,其绝对值应小于0.05伏。输出端零点电位正常后,可将电流表串入功率管的集电极回路,此时静态工作电流在10~25毫安范围内就算正常。也可以用测量BG\(_{2}\)、BG8管的V\(_{ce}\)的办法来确定静态工作点,正常时两管的Vce应为2.1伏左右。若超过这个范围,可调节R\(_{18}\)或R39来修正。
调试中如果发现输出端零点偏移电压大于0.05伏,有可能是C\(_{4}\)或C17漏电过大,或者是这两个电容采用电解电容时极性接反了(这两个电容在采用电解电容时应该是正极接BG\(_{1}\)或BG7管的发射极)。如果不是上述原因,则有可能是几只功率管的V\(_{be}\)差异太大。可用万用表逐个测量每只功率管子的Vbe,调换V\(_{be}\)差异比较大的管子即可排除故障。
如果OCL输出端静态电压大于0.5伏,则很可能是集成电路A\(_{2}\)4失效,应检查并调换一只好电路。
末级调试完毕后,接着调试前级。先测量A\(_{1}\)3的输出端电压(BG\(_{1}\)、BG7基极对地电压),正常时应在零伏左右(这个数值随A\(_{1}\)3的基流不同而异),一般其绝对值不超过2伏。如果发现数值偏离较大,则可能前级有寄生振荡存在,这时可改变消振电容C\(_{2}\)或C5的数值,把寄生振荡消除。如果偏离零伏很远,改变消振电容也不起作用,可按照图8增接一个调零电位器。如果调整调零电位器输出端电压也不发生变化,则是A\(_{1}\)3失效了。

在放音过程中如果发现伴随有“咝咝”声,可能是功放级自激,增大C\(_{12}\)或C22容量便可消除故障。但应注意的是,补偿电容值不要过大,以刚好能够消振为好,否则影响频带宽度。(丁树凯、王卫)