这里向大家介绍来复再生式两波段两管机,此机结构简单、装置容易。全机装在一只刮脸刀小塑料盒内,外形见图1。此机可收听国内外广播,收听中波时,不用外接天线,仅使用机内的磁性天线;收听短波时,接上长约1.5米的拖线,将它靠近台灯的电源线,即可作为天线。

工作原理
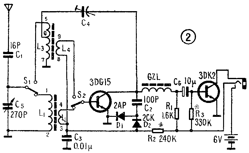
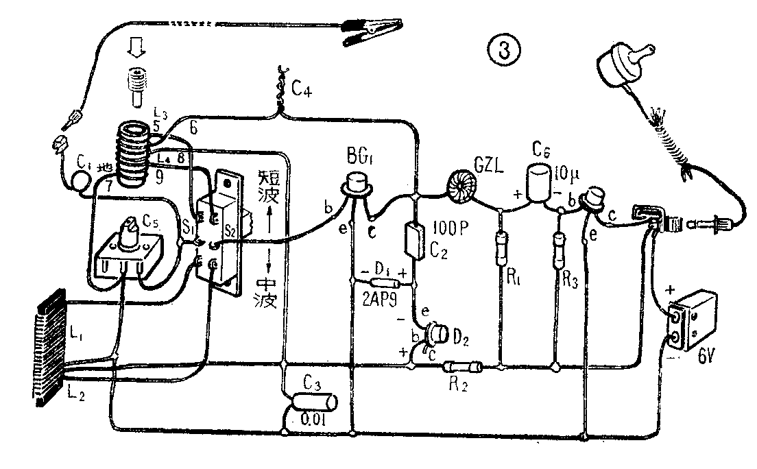
本机的电原理图见图2,与图2对应的实物连线图见图3。本线路与一般的来复再生式两管机电路相同,所不同的是通过一只双刀双掷拨动式波段开关 (图中的S\(_{1}\)、S2),换接中、短波线圈。由天线或磁性天线感应的电磁波信号送到由可变电容C\(_{5}\)与线圈L1(或L\(_{3}\))组成的调谐回路,选出所需的电台信号,由L2(或L\(_{4}\))耦合送到晶体管BG1基极进行高频放大。在BG\(_{1}\)集电极得到放大后的高频信号,由于高频扼流圈GZL的阻碍,高频信号不能送到BG2的基极,只能通过电容C\(_{2}\),经二极管D1、C\(_{2}\)进行倍压检波。检波后得到的低频信号再次送到BG1管的基极与发射极再进行一次低频放大。放大后的低频信号由BG\(_{1}\)管集电极取出。由于C2容量很小,对低频信号阻碍较大,而高扼圈GZL对低频信号阻碍较小,这样,低频信号就经过GZL,并由R\(_{1}\)、C6作阻容耦合送到BG\(_{2}\)进行低频放大。最后由800欧或1500欧的高阻抗耳塞放音。由于本机晶体管选用了硅管,这样倍压检波二极管D1、D\(_{2}\)中必须有一只选用2CK型硅二极管,而且方向如图2所示,不可接错。


本机电源采用6伏层叠电池整机静态电流约3毫安,耗电较省。
元件选择与制作
晶体管BG\(_{1}\)为NPN型硅高频晶体管,BG2用其他型号硅管,要求β值约100左右。图2中BG\(_{1}\)用3DG15(其他型号小功率高频管都可以),BG2用3DK2。二极管D\(_{1}\)为2AP型锗材料二极管,D2必须用硅材料检波二极管,硅检波二极管若不好找,可以用3DG型三极管中b、e二极来代替(见图4)。

中波段磁性天线采用5×13×55扁磁棒。初级用7×0.07丝包线密绕74圈作为L\(_{1}\),次级用同号线绕3圈作为L2,接头编号依次为1、2、3、4。初级与次级间隔为8~10毫米。
短波磁性线圈的骨架是利用外直径为10毫米的、表面带有螺纹的电子管收音机短波线圈塑料骨架,截取长约20毫米的一段,短波初级线圈用φ0.4~0.5的漆包线在其上间绕14圈作为L\(_{3}\),线头的固定方法见图5。线头编号为5,线尾为7。在短波初级线圈中间距地端约8圈处,用小刀刮去一小段漆皮,挂上锡,焊上引线,作为抽头6。次级用φ0.1左右丝包漆包线在L3线圈上绕上2圈,线头编号为8,线尾为9。再找一段直径为5毫米的高频磁心插入或旋入上述骨架中,若磁心直径较小,可以塞上一至两段橡皮筋,以增加紧度,固定住磁心。这样的磁性线圈与270pF的可变电容配合,其短波频率范围约为4~12兆赫。

高频扼流圈GZL采用内径为2.5毫米的小磁环,用φ0.1毫米的高强度漆包线穿绕80~100圈。
短波再生电容C\(_{4}\)需自制,用长约4厘米两段7×0.07多股丝包线绞合而成,见图3。先绞合2厘米左右一段,其余待调整时再定。
耳机插座须改制,以兼作电源开关,具体改制方法见本刊79年第2期“直接耦合式两管机”一文中所述。
安装与调整


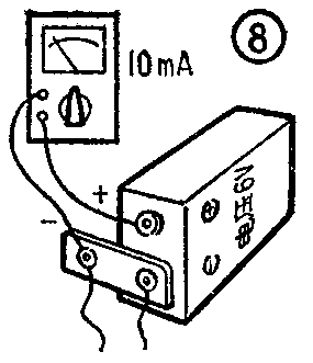
全机装在一只(4.5×8×3.2)立方厘米的刮脸刀小塑料盒内。图6为零件排列图。图7为1∶1印刷板线路图。为调整时方便,在焊接时先不接入波段开关和短波线圈L\(_{3}\)、L4,也就是先焊成中波段的两管机,接着就调整BG\(_{1}\)管和BG2管的工作点。调整前BG\(_{1}\)偏流电阻R2暂用一只500千欧电位器串接一只50千欧电阻代替。BG\(_{2}\)管的偏流电阻暂用250千欧固定电阻代替。然后插入耳塞机,层迭电池先按上一个扣,在另一只扣与接线之间串接一只10毫安直流电流表(见图8),测量整机电流,电流值要求在8毫安以下,收音机才能正常。然后用万用表直流电压2.5伏档,测量BG1集电极负载电阻R\(_{1}\)两端的电压值。这时BG1的集电极电流等于R\(_{1}\)电阻两端电压除电阻R1。BG\(_{1}\)的集电极电流正常值应为1~1.2毫安。对应的R1两端电压约在(1.6~2)伏之间。若数值不正常,可以调整500千欧的电位器,以达到上述正常值范围。BG\(_{1}\)集电极电流调整正常之后,再测一遍整机电流,这时BG2的集电极电流等于整机电流减去BG\(_{1}\)的集电极电流。BG2 集电极电流正常值约为1.6毫安。若BG\(_{2}\)集电极电流太大,可换阻值大一些的电阻R3,使BG\(_{2}\)集电极电流降下来。电流太小,就换用阻值小一些的R3。

上述电流调整完毕之后,将BG\(_{1}\)的电位器焊下,换上同阻值电阻,即可实际收听中波段的电台广播了。中波段工作点调整完毕后,短波段工作点不用再调整。
若不用万用表调整,可以戴上耳塞机,由大到小缓缓旋动500千欧电位器。直至耳机中听见“沙沙”的噪声时,表示阻值已接近正常值。然后,收听一中波电台继续旋动电位器,直至声音最宏亮而又无失真时为止。然后用同样方法调整BG\(_{2}\)的基极偏流电阻直至声音更响,音质更好。调整过程中,若发现中波段有串台,还可将L2圈数减至1~2圈。
工作点调整完毕后,就可着手加工机壳。按图6所示,在小盒相应部位烫出安装波段开关、可变电容器以及耳塞机插座的孔。可用电烙铁烫,然后用锉刀修整。接着就可将中波段磁棒用尼龙丝线捆在印刷板上,把波段开关和可变电容器固定在机壳上。将中波段线圈、短波段线圈焊在波段开关上,固定好耳塞插座,整个收音机安装完毕。
短波段再生的调整,由于白天短波电台较少,因此应在傍晚、晚间或早晨八点钟之前进行调整。将波段开关拨到短波段,并接上合适的天线,即可收到短波电台播音。在频率高端(可变电容接近全部旋出的位置)收听一电台,调整再生电容C\(_{4}\)(拧紧或放松)到刚有一点再生啸叫时为止,表示已达最佳再生状态。此时短波段调整即告结束。
使用方法
在中波段由于有一级高放、二级低放,灵敏度较高。接收中波段强力电台时,若嫌声音太响,可以转动磁棒方向甚至垂直放置,用减弱接收信号来调整音量。
在短波段,本机应与合适的天线配合才能保证最有效地接收。这里介绍一种常用的天线,如图3所示,它是一根长约1.5米左右的软塑料线,一头带有鳄鱼夹。使用时,将鳄鱼夹夹在墙上的钉子上或吊灯电线上。也可以将带有鳄鱼夹的软线在电源线上缠绕4~5圈(见图9)以增强接收的电磁波信号。


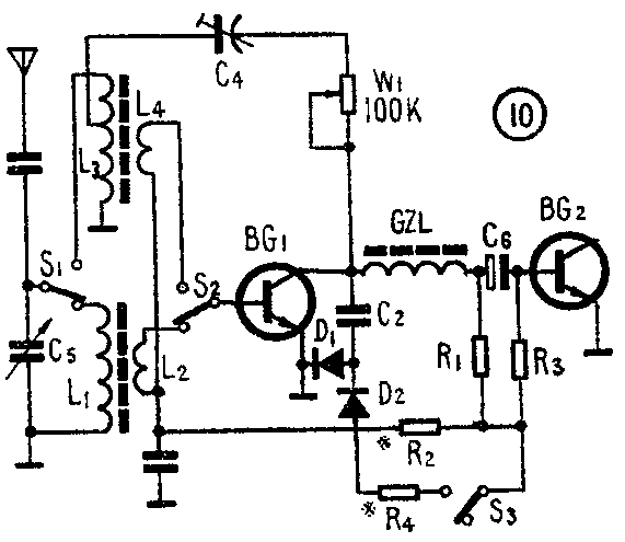
要想再进一步改善收音效果,建议采用大一些的机壳。另外按图10所示改动。其中将调谐电容改为空气可变电容;加入一只100K电位器作为短波段的再生调节器;波段开关改用3刀2掷式的(可用市售4×2的波段开关代用),当换接到短波段时,并联加一只偏流电阻R\(_{4}\)。这样可使中波段时BG1的集电极电流在中波段时约为0.4~0.6毫安(通过调整R\(_{2}\)获得);在短波段时,并联了电阻R4,使BG\(_{1}\)集电极电流增大到1~1.2毫安。另外中波段磁棒采用长100毫米或140毫米的扁磁棒或圆磁棒。L1、L\(_{2}\)圈数不变。同时改用6伏的稳压电源来代替干电池,防止电池用旧,电压下降而影响灵敏度。经过上述改动,此机中、短波的灵敏度将提高,选择性可以改善。(林在荣 尹尔为)