本刊80年第8期介绍了集成运放的内部常用单元电路,在此文的基础上,我们将以国产F006型集成运放为例,介绍集成运放的整体电路,以便对集成运放内部工作情况有一全面的了解。
F006型集成运放是一种通用性较强的运算放大器,它的各项技术指标,如电压增益、输入阻抗、工作电压范围等等都比较均衡,能满足大多数场合的应用要求,相当于国外最著名的电路μA741。图1是F006的电路图。该电路看起来虽然复杂一些,但是若把它分解开来,便能清楚地看到,它的每一部分都是由基本单元电路组成的。下面我们仍把它分成几部分加以介绍。

主偏置电路及恒流源
主偏置电路的作用是给其它几个恒流源提供稳定的偏压。它由电阻R\(_{1}\)和当二极管用的晶体管BG11、BG\(_{12}\)串联组成,其等效电路见图2。R1=39K,R\(_{1}\)上的电流IR=(V\(_{C}\)-Ve-2V\(_{be}\))/R1=(15V+15V-2×0.7V)/39K≈0.7mA。该电流流过BG\(_{11}\)、BG12时,会使它们产生一定的结压降(因为流过二极管的电流是固定的,因此二极管的压降也固定)。BG\(_{11}\)的结压降加到BG10的基极和负电源V\(_{e}\)之间,使BG10的基极电流和集电极电流的数值固定,成为一个恒流源,见图3。BG\(_{12}\)的结压降加到BG15的发射极和基极之间。不过,BG\(_{15}\)有两个集电极:Ca和C\(_{b}\),这是集成运放中常用的所谓“多集电极横向PNP管”。它的两个集电极是相互独立的,因此BG15可以被看作是eb结并联的两个晶体管,如图4所示。每个集电极电流在总的发射极电流I\(_{e}\)中所占的比例取决于各集电极面积的大小,因此BG15的两个集电极实质上构成两个独立的恒流源。BG\(_{15}\)发射极面积与BG12相同,故I\(_{e15}\)也近似为0.7mA,而BG15的集电极C\(_{a}\)与Cb的面积比为2比1,因此恒流源电流I\(_{15a}\)约为450μA,它作为高增益放大管BG14的有源负载;恒流源I\(_{15b}\)约为200μA,它作为供给前置缓冲级BG18的偏置电流。



差分输入级
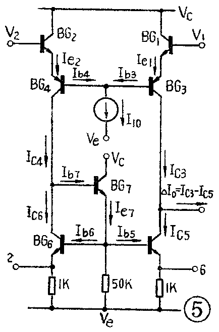
差分输入级的作用有二:一是放大输入信号;二是把双端输入变成单端输出。它由下面的单元电路组成:BG\(_{1}\)~BG4构成NPN—PNP复合差分对放大管;BG\(_{5}\)~BG7组成一个电流镜,作为差分对放大管的负载;BG\(_{8}\)、BG9也构成一个电流镜,作为复合差分对管的偏置电路。输入信号由(3)、(4)两端引入(差模输入),输出信号由BG\(_{3}\) 的集电极引出(单端输出)。下面分析该电路的工作过程。为了分析方便,我们暂且把BG9看成开路,不考虑它的作用。BG\(_{8}\)接成二极管,压降只有0.7伏左右,因此也可暂时将它忽略。这样,BG1、BG\(_{2}\)的集电极就可以看成是直接与正电源VC相连的,从而画出图5所示的输入级电路。该图中的NPN管BG\(_{1}\)、BG2是两个射极跟随器,输入信号V\(_{1}\)和V2通过它们加到BG\(_{3}\)、BG4的发射极。BG\(_{3}\)、BG4的基极连在一起,它们的基极电流I\(_{b3}\)、Ib4流向恒流源I\(_{1}\)0。当V1=V\(_{2}\)时,Ie1= I\(_{e2}\),Ib3=I\(_{b4}\),IC3=I\(_{C4}\)。复合差分对放大管本身是双端输入双端输出,其输出信号电流为IC3-I\(_{C4}\),因为这时IC3-I\(_{C4}\)=0,所以没有信号电流输出。当V1≠V\(_{2}\)时,又分两种情况,一是V1>V\(_{2}\),这时,Ie1>I\(_{e2}\),Ib3>I\(_{b4}\)(Ib3增大,I\(_{b4}\)减小,但Ib3与I\(_{b4}\)的和不变),IC3>I\(_{C4}\),即IC3-I\(_{C4}\)>0;二是V1<V\(_{2}\),这时Ie1<I\(_{e2}\),Ib3<I\(_{b4}\),IC3<I\(_{C4}\),即IC3-I\(_{C4}\)<0。由此可见,其输出电流是随差模输入信号而变化的,这就是BG1~BG\(_{4}\)复合差分对放大管放大差模输入信号的过程。这个工作过程和普通差分对放大管是类似的,不过它同时具有NPN与PNP管两者的特点:输入端是NPN管的基极,所以电流放大系数β和NPN管的β一样高,而BG3、BG\(_{4}\)是“横向PNP管”,它们的β值虽然低,但eb结反向击穿电压很高,因此能承受较大的反向电压,提高了差模输入电压范围。

BG\(_{5}\)~BG7构成的电流镜能把复合差分对放大管的双端输出电流(IC\(_{3}\)-IC4)变成单端输出电流(△I\(_{0}\))。下面分析它的工作过程。
图5中BG\(_{5}\)和BG6的基极连在一起,它们的发射极又都通过1K电阻接到负电源V\(_{e}\),上加之两管又是用同一工艺制作在一起的,特性相同,所以它们的基极电流和集电极电流在任何时候都相等,即Ib5=I\(_{b6}\),IC5=I\(_{C6}\)。由图5又知,IC4=I\(_{C6}\)+Ib7,而I\(_{b7}\)相对于IC6来说很小,可忽略不计,所以可以认为I\(_{C4}\)≈IC6。既然I\(_{C5}\)与IC4都等于I\(_{C6}\),当然也就有IC4≈I\(_{C5}\)。前边谈到,IC3-I\(_{C4}\)就是复合差分放大管的输出电流,所以IC3-I\(_{C5}\)(=△I0)也就成了复合差分对放大管的输出电流。然而这个输出电流是由BG\(_{3}\)的集电极引出的,是单端输出,而不再是双端输出了,这就是由BG5~BG\(_{7}\)构成的电流镜把复合差分对放大管的双端输出信号电流变成单端输出信号电流的工作原理。
BG\(_{5}\)、BG6的发射极上都串联了一个1K电阻,并且引出两个端子(2)、(6),这是接外部调零电位器用的。因为差分对管BG\(_{1}\)与BG2或BG\(_{3}\)与BG4的特性不可能完全一致,因此当V\(_{1}\)=V2时,I\(_{C3}\)与IC4就不会完全相等,比如说I\(_{C4}\)<IC3,这就造成I\(_{C5}\)<IC3,本来没有差模信号输入,却有电流输出,这是不应该的。补救的办法是通过调整外接电位器来减小BG\(_{5}\)(同时增大BG6)的发射极总电阻(见图6),使I\(_{C5}\)在输入为0时就大于IC6和I\(_{C4}\),并等于IC3,因此△I\(_{0}\)=IC3-I\(_{C5}\)=0,从而实现了调零。

下面我们再谈谈BG\(_{8}\)、BG9的作用。图5中没有BG\(_{8}\)和BG9,这时BG\(_{3}\)、BG4的基极电流之和就等于恒流源I\(_{1}\)0。既然它们的基极电流恒定,所以它们的集电极电流IC3、I\(_{C4}\)就只正比于它们的β值。我们知道,在生产过程中,晶体管的β值是很难准确控制的,有时相差还很大(指不同集成块的β值相差很大,同一集成块中BG3、BG\(_{4}\)的β值相同),这就导至各个集成块输入级的工作电流(IC3和I\(_{C4}\))或大或小,使产品性能分散。增加BG8、BG\(_{9}\)以后(参看图1),Ib3+I\(_{b4}\)=I10-I\(_{C9}\)。因为BG8与BG\(_{9}\)也是一个电流镜,因此IC9=I\(_{C8}\),且IC9随I\(_{C8}\)而变化,其中IC8又等于BG\(_{1}\)与BG2的集电极电流之和,也可近似地认为等于它们的发射极电流之和,所以I\(_{C8}\)=Ie3+I\(_{e4}\)=IC3+I\(_{C4}\)+Ib3+I\(_{b4}\)。当BG3、BG\(_{4}\)的β值偏大时,若Ib3、I\(_{b4}\)不变,则IC3、I\(_{C4}\)将增加,从而使IC8增加,并导至I\(_{C9}\)也增加。已知I10是恒流源,所以I\(_{C9}\)的增加就会迫使流入I10的I\(_{b3}\)、Ib4减小,因而又反过来使I\(_{C3}\)、IC4减小。可见,由于BG\(_{9}\)提供了反馈电流IC9,就使差分对管BG\(_{3}\)、BG4的集电极工作电流比较稳定,不再随β的变化而变化,产品性能趋于一致。
高增益放大级
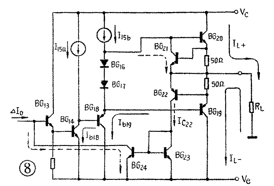
F006型运算放大器的总电压放大倍数很高,这主要是靠高增益中间放大级来实现的。这一级由BG\(_{13}\)、BG14、BG\(_{15a}\)构成,我们把它单独画出来,见图7。BG13是射极跟随器,用以进行电流放大,BG\(_{14}\)是电压放大管,BG15a是恒流源作负载。因为恒流源的交流阻抗很大,因此用它作负载就能得到很高的电压放大倍数。这个电路较简单,这里不再详述。下面重点谈谈二极管D及电容C\(_{f}\)的作用。加二极管D的目的是为了防止大信号输入时,放大器的功耗过大。当来自差分级的信号电流ΔI0较小时,BG\(_{13}\)的集电极电流也小,它的功耗不大。这时BG14工作在放大区,其集电极电压较高,二极管D处于反向截止状态,不起作用。若0较大,以至经BG13放大以后使BG\(_{14}\)进入饱和状态,则V0就会降低到接近于负电源电压V\(_{e}\),这时二极管D正向导通,输入电流0大部分将从二极管旁路,不流入BG\(_{13}\)的基极,从而限制了BG13的集电极电流,也就是限制了它的功耗。如果没有二极管D,则大电流0将全部注入BG13的基极,使IC\(_{13}\)大大增加。这个大电流只增加BG13的功耗,而对于信号放大没有作用(因为BG\(_{14}\)已处于饱和状态),所以应当避免。

外接电容C\(_{f}\)叫补偿电容,它是用来防止运算放大器产生自激振荡的。我们以前讲过,运算放大器有同相输入端和反相输入端,放大器的输出信号与同相输入端的输入信号相位相同,与反相输入端的输入信号相位相反。但这是对直流和频率较低的信号来说的,当信号频率升高时,由于电路中寄生电容的影响显著起来,这种相位关系就变了。例如在图7中,BG13的基—射极之间的寄生电容C\(_{M}\),就会使差分级输出的信号电流0被旁路,其结果,一方面使放大器的增益降低,另一方面又产生附加相移。信号频率越高,C\(_{M}\)的分流作用越大,因而增益就降得越低,附加相移也越大。除CM之外,电路中其它各部分也都存在着寄生电容,因而都产生附加相移。当放大器内部的总附加相移达到180°时,反相输入端就变成了同相输入端。这样一来,当运算放大器接成负反馈电路时,对直流和低频信号来说,它的确是负反馈电路,但对于高频信号来说,它则是正反馈电路。如果这时放大器的增益虽然已经大大降低,但还具有放大能力的话,电路就会产生高频自激振荡。为消除自激振荡而采取的措施称为“频率补偿”。显然,消除自激振荡的方法只能是降低放大器的高频增益,也就是说,在附加相移达到180°的频率时,使放大器的增益小于1,以此来破坏放大器的振荡条件。
图7中的电容C\(_{f}\)是降低高频增益的有效元件。在高频时差分级输送到BG13的信号电流0一部分注入BG13的基极(I\(_{b}\)),得到放大;另一部分被Cf(还有C\(_{M}\),但CM比C\(_{f}\)小得多)旁路(If)而“浪费”掉。频率越高,I\(_{f}\)越大,Ib越小,增益也就越低,以至当总的附加相移还没有达到180°的频率时,放大器的增益就已经小于1,不再起放大作用,这就能使放大器保持稳定的工作,不会产生自激。一般来说,C\(_{f}\)越大,工作越稳定,但这会使频带过窄,不能满足应用要求。通常Cf在几十pF到几百pF范围内。
输出级与输出短路保护电路
NPN管BG\(_{2}\)0与PNP管BG19组成互补射极输出级电路,BG\(_{21}\)~BG24是输出级短路保护电路,BG\(_{18}\)是射极跟随器,其偏置电流由BG15的第二个集电极C\(_{b}\)输出的恒流源电流I15b提供(见图8),BG\(_{16}\)与BG17的eb结串联,相当于两个二极管,用来建立BG\(_{2}\)0与BG19的起始偏压,克服交越失真(参看80年第8期)。高增益放 大级输出的信号直接送到BG\(_{18}\)的基极,当这个信号电压为正时,则由BG20输出正向电流I\(_{L+}\),其通路为正电源Vc→BG\(_{2}\)0(c)→BG20(e)→50Ω电阻→R\(_{L}\)→地。BG20基极驱动电流的通路为正电源V\(_{c}\)→恒流源I15b→BG\(_{2}\)0(b)→BG20(e)→50Ω电阻→R\(_{L}\)→地。当BG18基极信号电压为负时,则由BG\(_{19}\)提供负向输出电流IL-,其通路为地→R\(_{L}\)→50Ω电阻→BG19(e)→BG\(_{19(c)}\)→负电源Ve。BG\(_{19}\)基极驱动电流的通路为地→RL→50Ω电阻→BG\(_{19(e)}\)→BG19(b)→BG\(_{18(e)}\)→BG18(c)→负电源V\(_{e}\)。从正负向输出电流的通路来看,如果省掉射极输出器BG18和恒流源I\(_{15b}\),而将BG14的集电极直接接到BG\(_{19}\)的基极,也是可以工作的。但BG19是PNP管,这种管子的β值要比NPN管BG\(_{2}\)0的小,增加射随器BG18,正是为了增加放大器在负向输出时输出电流的能力。

下面我们再看保护电路的工作过程。BG\(_{21}\)构成正向输出短路保护,当负载电阻RL较大输出电流IL+较小时,I\(_{L}\)+在50Ω电阻上产生的压降小于BG21的eb结导通电压,BG\(_{21}\)截止,不影响电路的工作。若放大器输出端不慎对地短路或负载电阻RL过小时,I\(_{L}\)+增加,当50Ω电阻上的压降达到0.7伏时,BG21导通,恒流源I\(_{15b}\)提供的驱动电流大部分被BG21旁路,因此注入到BG\(_{2}\)0基极的电流不再增加,使BG20的输出电流I\(_{L}\)+受到限制,保护了BG20。这种保护方式称为限流保护。显然,放大器的最大输出电流即为0.7V/50Ω=14mA。
负向输出短路保护由BG\(_{22}\)~BG24三只晶体管完成。本来也可以像正向保护一样,只用一只晶体管,即把BG\(_{22}\)的集电极直接与负向输出管BG19的基极连接就行了,但是,因为BG\(_{19}\)前面还有一级射随级BG18,它也应受到保护,而BG\(_{18}\)的驱动电流Ib18又由BG\(_{14}\)提供。要实现对BG18和BG\(_{19}\)的保护,最灵敏的办法就是切断BG14,因此负向保护的反馈节点移到了BG\(_{13}\)的基极。当IL-较大时,BG\(_{22}\)导通,IC22流过BG\(_{23}\)。由于BG23与BG\(_{24}\)也组成一个简单的电流镜电路,所以这时BG24也导通。使0由BG24被旁路掉,BG\(_{14}\)被切断,从而保护了BG18和BG\(_{19}\)。(易明銧 雨田)