用具有反馈电极的压电发声元件(图1)制作的压电蜂鸣器,发出的声音响而电路简单。这种压电发声元件和通常见到的略有不同,它的压电陶瓷片分成主电极和反馈电极两部分,可由反馈电极直接取出正反馈信号,从而使振荡电路变得很简单。

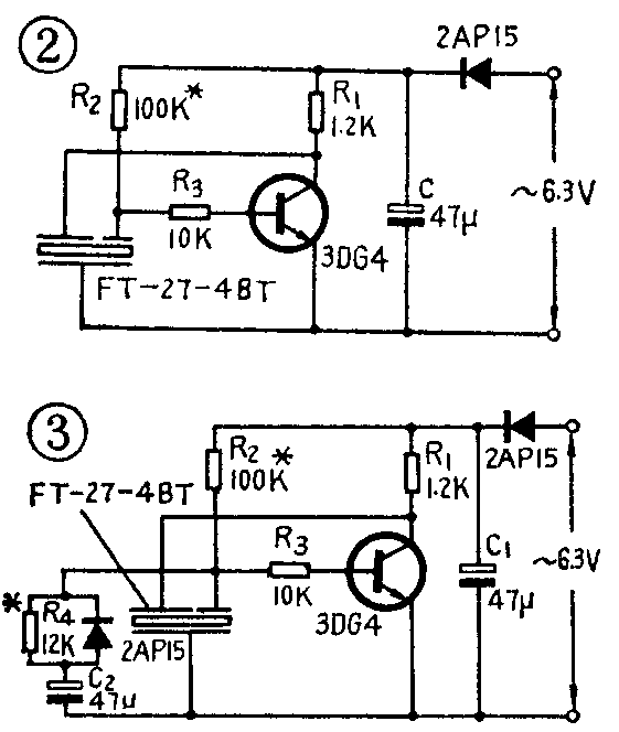
我用FT-27-4BT具有反馈电极的压电发声元件(江西景华瓷件厂产品)制作了两种压电蜂鸣器,图2是一种连续发声压电蜂鸣器的电路,图3是断续发声的电路。它们的特点是利用压电发声元件本身谐振频率,并且由于压电发声元件具有反馈电极,所以整个蜂鸣器只用了很少几个元件,制作很方便。图中R\(_{1}\)为负载电阻,R2为偏流电阻,R\(_{3}\)为保护电阻,图3中的R4是调整断续时间的电阻,图2、图3中晶体管的基极是接发声元件的反馈电极。当使用交流6.3V电源时,虽电流仅为2.5mA,声压却达75dB以上,如果把图2的电源电压提高到交流10V,声压可大幅度提高。

这里还应特别指出的是压电发声元件的支撑方法。通常的压电发声元件是周边支撑,而具有反馈电极的压电发声元件则采用波节支撑,即支撑在压电发声元件在振动时的波节点。支撑环的尺寸(即节圆的确定)对声压影响很大,如图1所示的压电发声元件,它的节圆为发声元件中压电陶瓷片的外径。固定压电发声元件与支撑环时,切勿用诸如502胶、914胶粘合,这样声压会很小,甚至完全无声。用弹性的硅橡胶粘接也不很理想,最好使用两个螺丝紧固的方法(见图4)。为了得到大的音响,还需经共鸣腔放大,图4给出共鸣腔及支撑环的尺寸。

FT-27-4BT压电发声元件的谐振频率为4KHz,适宜作为报警用,因为人耳对4KHz左右的频率很敏感。可是这一频率若作为音响用就嫌太高了,听起来会觉刺耳。因为该型式的驱动电路是利用压电发声元件本身的谐振频率,所以只有改变压电发声片的尺寸形状才能改变峰鸣器的频率。这时可选用FT—35—2.9BT压电发声元件,其谐振频率为2.9KHz,可以满足音响要求。两种压电发声元件的主要性能见附表。

另外,本文所举的两个电路均用交流电源,如果略加改变也可使用直流电源,即去掉2AP15整流二极管及47μ滤波电容,即可接入直流电源,因该电路的消耗电流极小,可以考虑使用6V或9V积层电池。(许文义)