匈牙利TA—5204电视机是采用无电源变压器电路的一种电视机,在检修前,必须试插电源插头,并用试电笔验明底板的确不带电后,方可进行正式检修工作,以保证人身及机器的安全。现将检修该机常见故障中,用国产元器件代换原机元器件的方法介绍如下,供参考。
1.接通电源保险丝就断
此故障多为220V交流电源输入端抗干扰电容C\(_{4}\)05击穿所致。该电容虽标注耐压为1000V,但实际上极易击穿,换用一只国产CZM—C0.01μ/630V的电容即能胜任。
2.有光栅,但无声无图
此故障可分为两种情况:一是光栅亮度及行幅均正常;此时应检查AGC电压放大管T\(_{1}\)04(BC182B)。在无信号输入的情况下,该管发生故障时,测量各极对地电压,集电极电压为29V左右,基极电压为20V左右,发射极电压为2.6V左右。焊下管子后,用万用表测量,发现内部断极。换用一只3DG6或3DG58,不需要调整偏流就可正常工作。此时测得各极对地电压,集电极电压为19V左右,基极电压为11.5V左右,发射极为11V左右。二是开机后,光栅来得较慢,亮度较暗,水平幅度缩为原来的1/3左右。此故障通常有两个原因:(1)整流二极管D401(BA157)击穿,使得高频头及通道都无直流电压供给,所以造成无图无声。由于D\(_{4}\)01击穿短路时,使行输出变压器负载加重,从而引起光栅暗淡、行福收缩。只要用一只工作频率大于20KHz,耐压大于50V,输出电流大于100mA的硅整流二极管代用即可。(2)调宽电容C\(_{32}\)0(33P/5KV)击穿,引起行输出变压器负载过重,同样会产生上述现象。这种耐压高、容量小的资管电容较难搞到,可以用容量稍有出入、耐压相近的电容代用。也可以自制:取一小段高频电缆,如SYV—75—5—1型,将其外绝缘皮及屏蔽层铜线剥去,在剩余的高频电缆心线的绝缘层上用φ0.3毫米的漆包线平绕若干圈,一般每2圈为1P,33P的电容需绕66圈。以高频电缆的铜心为一端,以漆包线一头为另一端,分别作为小电容的两根引出线焊到电路上。用其他高频电缆心线时,则应试着绕,直到行幅能拉满为止。
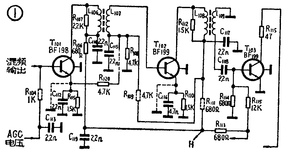
3.整机灵敏度降低,且图声不能统调
此种故障一般为第一级中放管T\(_{1}\)01(BF198)低效所致。若灵敏度降低很多,屏幕上只见微弱的图象时,第三级中放管T103(BF199)也可能低效。用国产管3DG6C代换时,需采取如下措施:(1)用3DG6C代替T\(_{1}\)01(BF198),应将发射极直接接地,基极电阻R104应由1K改为430K,再把电阻R\(_{12}\)0(4.7K)拆除。在无信号输入时,集电极对地电压为22.5V,基极对地电压为0.65V。(2)若第三中放管T103(BF199)低效时,可用原机的T\(_{1}\)02管替换T103管,再用一只3DG6C管焊到原来T\(_{1}\)02管的位置,将发射极直接接地,将R111由680Ω换成1.5K,将R\(_{1}\)09用一只100K的电位器串接一只10K的电阻代替。调整该电位器,一方面用BT—3扫频仪监测中放特性曲线,同时测量T102的集电极电流,一般调到集电极电流为8mA左右时,中放特性曲线也符合要求为止。若无扫频仪,可根据收到的图、声情况,并参考电流值来调。上述元件的变动情况,参看图1虚线部分。

4.光栅时有时无

开机后,图声正常,但数分钟后(有时甚至是1小时后),声图和光栅突然消失,数秒或数分钟后又能自动恢复,如此循环反复。出现故障时,用扫频仪SBT—5,在行输出管栅极上,可测得有正常幅度的锯齿波形。但用电子管电压表却量不出栅负压来,而且测得屏流为零。这样就可确定行输出管PL504阴极将断未断。市场上较难买到PL504(PL500)。由电子管手册查得国产管6P12P与PL504,除灯丝电压、电流不同外,其他特性十分相近,详见表1。管脚接线位置也相同。因此,可用6P12P代替PL504。具体办法如下:将原机PL504管灯丝脚的印制电路板与其他部分割开,再将两个灯丝脚接到附加的220V/6.3V变压器6.3V档上,电路图如图2所示。此变压器的电流容量应大于1.4A。再用一只功率大于10W的90Ω的线绕电阻代替PL504的灯丝电阻,串入原来灯丝供电电路中去。6P12P的管脚与PL504完全一样,可直接插入原管座。附加灯丝变压器的初级并接到C405两端,仍由原来的电源开关控制。

另外,由于阻尼管PY88长期工作在高电压、大电流的状态下,较易损坏。可用国产管6Z18代替。因此在选附加灯丝变压器时,可适当选用电流容量大于2.93A的,这样一旦PY88损坏,就可用6Z18代替,6Z18与6P12共用一个灯丝变压器。在原来灯丝供电电路中,再串入一只10W以上的100Ω电阻,电路图见图2。
附加灯丝变压器可以自行绕制,也可采用五管或六管交流收音机的电源变压器。如果同时用6P12P、6Z18代替PL504和PY88时,应将电源变压器的两组6.3V并联使用,但两组绕组的相位要一致。原机箱空位较大,附加变压器只要固装在远离高频头和伴音音频输出变压器的地方即可。正常收看时,测得6P12P的屏流为120mA、帘栅后为150V,栅负压为-45V,提升电压为820V,代替PL504灯丝电阻两端的电压为24.5V。
5.其他常见故障
如果行、场均不同步,多数是同步放大管T\(_{3}\)01损坏,可用国产管3DG6C直接代替BC108B,不需要调整偏流。
如果屏幕上出现一条水平亮线,往往是场振荡管(PCL85的三极管部分)的屏极电阻R339开路造成的,换用一只2.2M、1/2W的电阻即可。(杨春林)