本文介绍的天线放大器可以放大1~12频道的电视信号,其频率范围为45~230MHz。放大增益为10~20dB。采用交流供电,省去了定期更换电池的麻烦。

该天线放大器由放大器和电源盒两部分组成,分装在两个塑料盒内,它们的安装使用方法如图1所示。放大器盒装在室外天线杆上,由于放大器的输入、输出阻抗都是75Ω,而折合振子天线的特性阻抗为300Ω,所以需要接一个300Ω/75Ω阻抗转换器,转换成75Ω。然后用75Ω同轴电缆接到放大器输入端。电源盒放置在电视机旁,与放大器用一根同轴电缆线相连接。电源盒的“2”端连接到电视机天线插座上。放大器电源与电视机电源可用一个插头。
电路原理
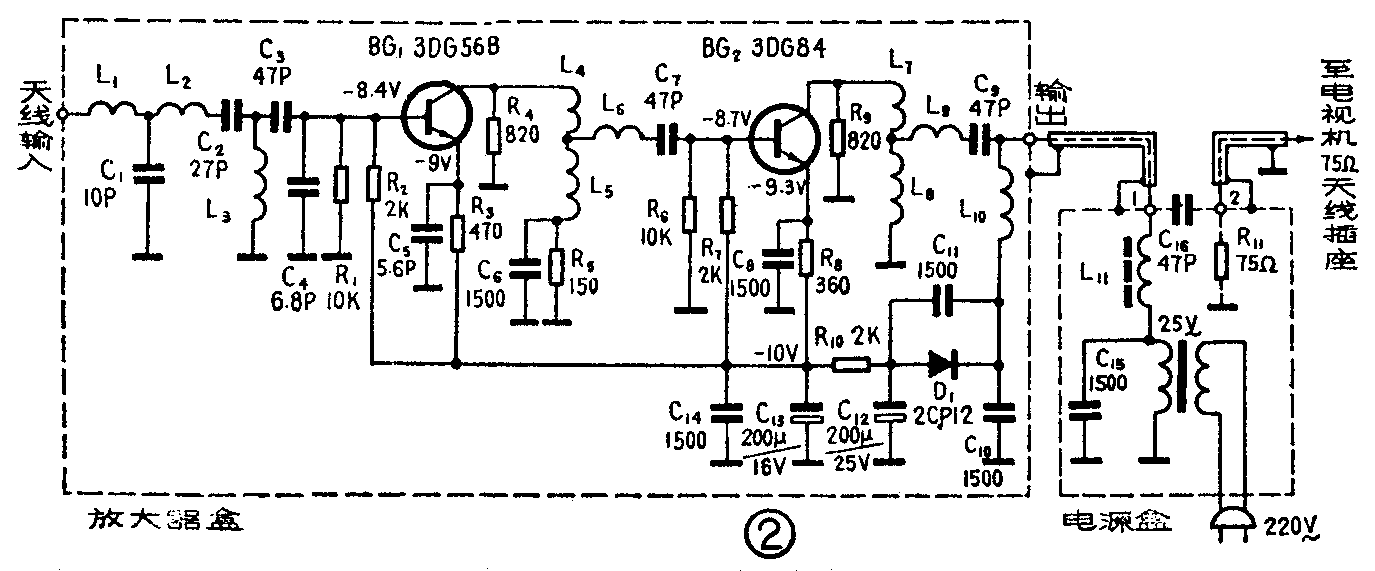
天线放大器的电原理图见图2。放大器为两级共发射极高频放大器。输入回路由定K式T型低通滤波器(L\(_{1}\)、L2、C\(_{1}\))和高通滤波器(L3、C\(_{2}\)、C3)组成,其截止频率分别为230和30MHz。放大管BG\(_{1}\)、BG2的集电极负载都是由两组并—串联谐振回路组成的带通滤波器,并联谐振回路的电感线圈为L\(_{4}\)、L5和L\(_{7}\)、L8,晶体管BG\(_{1}\)、BG2的输出电容作为谐振回路电容。其谐振频率为50~90MHz。串联谐振回路由L\(_{6}\)、C7和L\(_{9}\)、C9组成,谐振频率为160~220MHz。并—串联各个回路参差调谐,构成50~230MHz的通带。总曲线如图3所示。因为串联谐振回路的Q值很低,所以有较宽的通带。并联谐振回路则需要加阻尼电阻R\(_{4}\)、R9,降低回路Q值,保证有足够的带宽。集电极与下一级晶体管基极间利用电感抽头达到阻抗匹配的目的。

电源盒由电源变压器和高频扼流圈L\(_{11}\)、滤波电容器C15组成。电源变压器的次级电压为交流25伏,通过电缆心线加到放大器的输出端。交流25伏电压经D\(_{1}\)整流后,由C12、C\(_{13}\)、R10、C\(_{14}\)组成的滤波器滤波,然后供给放大器,其直流电压为-10伏左右。L10为高频扼流圈,它对电视载波信号有很高的阻抗,而对频率很低的交流电则是直通。

制作
晶体管BG\(_{1}\)应选用低噪声超高频三极管,要求噪声系数NF应小于4dB,可在3DG56B或3DG79B中挑选。选择噪声系数较小的管子,对保证接收质量关系很大,绝不能用普通超高频三极管,否则因噪声太大,失去天线放大器的作用。BG\(_{2}\)可选用塑料封装的中功率管,如3DG84或3DG80等。BG1、BG\(_{2}\)应选用fT≥800MHz的管子。D\(_{1}\)为小电流硅整流二极管,应选用最高反峰电压为100伏,正向电流为100mA的2CP12。为了减小体积,电阻选用1/8瓦的小型金属膜电阻或选用1/8瓦的RTX型小型碳膜电阻。

放大器的印制板如图4(a)所示。因为放大器安装在室外,所以要求外壳要严格密封,防雨、防潮、防酸气,电缆线应从底下引出。外壳可用有机玻璃或硬聚乙烯板制作。所有线圈的绕制数据和绕制方法见表1。电源盒的安装板如图4(b)所示。电源变压器可用EI型12mm的硅钢片制作,叠厚为18mm。变压器的初级用φ0.lmm的漆包线绕4400圈,次级用φ0.15mm的漆包线绕500圈。也可用现成半导体稳压电源变压器改制,将次级线包拆掉重绕,初级电压为220伏,次级为20~25伏,可算出次级圈数。

调试
安装完毕,检查接线无误,便可进行调试。先用短电缆线将放大器与电源盒连接起来。在电源盒“2”端与地线间接上75Ω负载电阻,作调试用(见图2R\(_{11}\),调整好后去掉。)先调整BG1、BG\(_{2}\)的工作电流,改变R1、R\(_{6}\)的阻值,使两管的集电极电流均为2mA,以保证最大增益和最低噪声。然后用扫频仪来调整放大器的幅频特性曲线。将扫频仪的输出电缆接到放大器的输入端,将带检波头的输入电缆接到高放管BG1的基极上,分别调整线圈L\(_{1}\)、L2、L\(_{3}\),使曲线如图5所示。然后将带检波头的输入电缆改接到电源盒的输出端“2”,分别调整L4~L\(_{9}\)各个线圈,使放大器的幅频特性曲线如图3所要求的那样。也可以根据实际接收的频道频率来调试。例如接收2、8频道的信号时,可适当增加L6、L\(_{9}\)电感量,减小L5、L\(_{8}\)的电感量,把曲线的两个峰分别调整在60和190MHz上,以提高放大器2、8频道的增益。
如果用直流稳压电源进行调试,扫频仪的两根电缆线的接地线接入放大器时,应各串联一只0.01μ 隔直流电容。因为稳压电源多数是负端接地,而此放大器是正端接地。接上0.01μ的电容,可防止稳压电源与放大器电源极性不同而将稳压电源短路。
如果没有扫频仪,也可以根据接收到的图象信号来进行调整,拨动各空心线圈匝间的距离,使之达到参差调谐。调试时将天线放低,调整好后,再将天线放大器及天线安装到户外杆子上去。(郭龙江 郑怡虹)