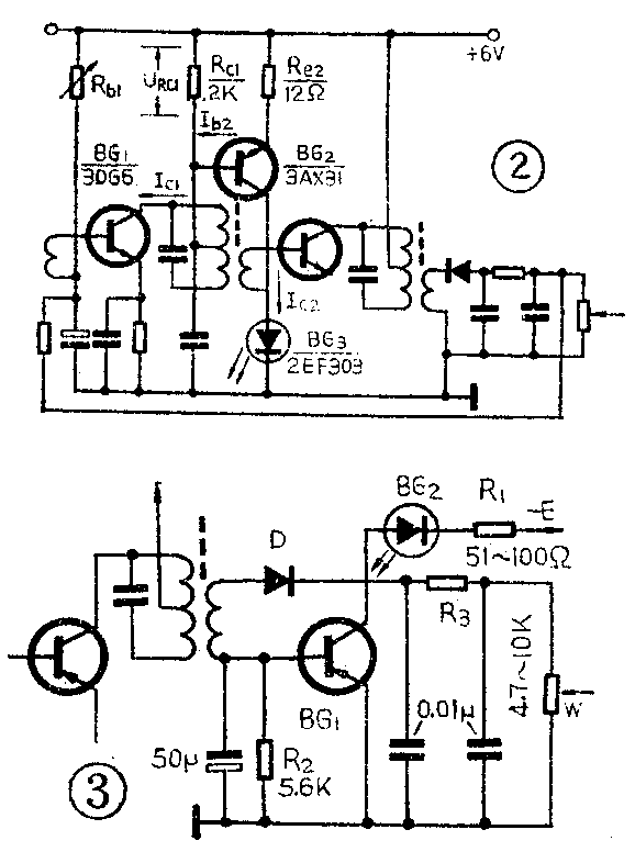
如何在自己的半导体收音机上加装调谐指示器,是许多业余爱好者感兴趣的事。下面我们介绍两个用发光二极管做成的调谐指示器。第一个电路是用国产2EF303做成的。2EF303发光二极管通过正向电流时发红光。它的伏安特性如图1所示。当正向电压达到1.5伏时,开始流过正向电流。随着正向电压的增大,正向电流也越大,而且红色亮度越大。实验表明正向电流在从1毫安到30毫安之间变化时,亮度清晰可辨。试验电路如图2所示。没有电台时发光管最亮,越接近调谐时越暗,调谐准确时最暗。BG\(_{2}\)选用3AX31,穿透电流应小些。Re2可以控制I\(_{c2}\)的大小,静态Ic2越大越亮,但耗电也越大,I\(_{c2}\)最大不得超过30毫安。Re2可在十几欧到几十欧的范围之内选择。R\(_{c1}\)可取1~2千欧,调整到发光管既反映灵敏又使Ic2不超过30毫安。按图2接好R\(_{c1}\)、Re2、BG\(_{2}\),先不接入BG3。把万用表的直流电流档接到BG\(_{3}\)的位置,测得Ic2大致符合要求再串入发光管。如果中放管BG\(_{1}\)是3AG类的PNP型管子,则BG2应改用3BX类NPN型管子,发光二极管的正负极也应反接。在这个电路中发光管也起电源电压指示器的作用,如电源电压下降发光管也随着变暗。


另一种发光二极管调谐指示器电路如图3所示。这个电路的特点是在没有台的地方,发光管不亮,调谐得越准确发光越亮。在检波电路中加入R\(_{1}\)、R2、BG\(_{1}\)、BG2四个元件。BG\(_{1}\)的β取200左右。
调整时注意:图2的R\(_{e2}\)、图3的R1应直接接电源,因发光管电流很大如果接在滤波电阻后面很容易将滤波电阻烧毁。另外,与AGC有关的元件数值改变时也影响发光管的电流。(余牧 王和平)