电路图是电子技术的一种语言,它不是用文字而是用线路与图形符号来说明电子设备的工作原理。学会看电路图,掌握识别和分析电路图的方法,对学习电子技术的同志来说十分重要。本文以一种晶体管超外差式收音机电路图为例,介绍看电路图的方法。
我们先把一个收音机的整机电路分成若干部分,每一部分只用一个方框来表示,不画出框内的具体电路,只标出各方框的作用、名称及相互间的联系。这就是所谓的方框图。用这样的方法来了解整机的工作性能,既清楚又简单。
图1是一部超外差式收音机电路的方框图。下面我们简述各方框的作用,并标出各部分的波形图。

输入回路:收音机的天线能够接收各个电台的信号,输入回路的作用就是从所有这些电台信号中选出我们所需要的信号,并把不需要的信号拒之门外。选出来的信号通常叫做高频调幅信号(u\(_{a}\)),实际上它就是一个高频振荡信号,不过它的振幅随音频信号而变化。这个音频信号就是所要传送的内容:音乐或语言。
变频器:由两部分组成,一是本机振荡器,二是混频器(见图2)。从输入回路耦合过来的高频调幅信号U\(_{a}\)与本机振荡器产生的高频等幅信号U振同时加到混频器的输入端,经混频后在输出端取出一个频率固定的中频调幅信号U\(_{b}\)(其频率为振荡频率减去高频信号频率等于465千赫),这就是变频作用。需要指出,变频器只改变了高频调幅信号的高频频率(由高频变为中频),并没有改变它的振幅变化情况,即音频信号(包络线的形状)没有变,所以传输的内容没有变。有的收音机变频器只用一只晶体管,它既完成振荡又完成混频的功能。也有的收音机,本机振荡单独用一只管,混频另用一只管,这时,两者合起来才叫变频器。

增加了变频器,是超外差式收音机最重要的特点。因为尽管我们收到的各个电台的信号频率不同,但经过变频之后,都变成了中频调幅信号,因为频率固定,又比较低,这就有条件精心设计中频放大器的谐振回路,使收音机的灵敏度和选择性大大提高。
中频放大器:它的任务是用调谐在465千赫的并联谐振回路从变频器取出中频信号,并加以放大,然后送给检波器。这一级质量的好坏,对收音机的灵敏度和选择性有决定性的影响。
检波器:它能把音频信号(U\(_{d}\))从中频调幅信号(Uc)中分离出来。它后边的低频放大器和功率放大器都是放大音频信号的,最后由音频信号推动喇叭发出声音。
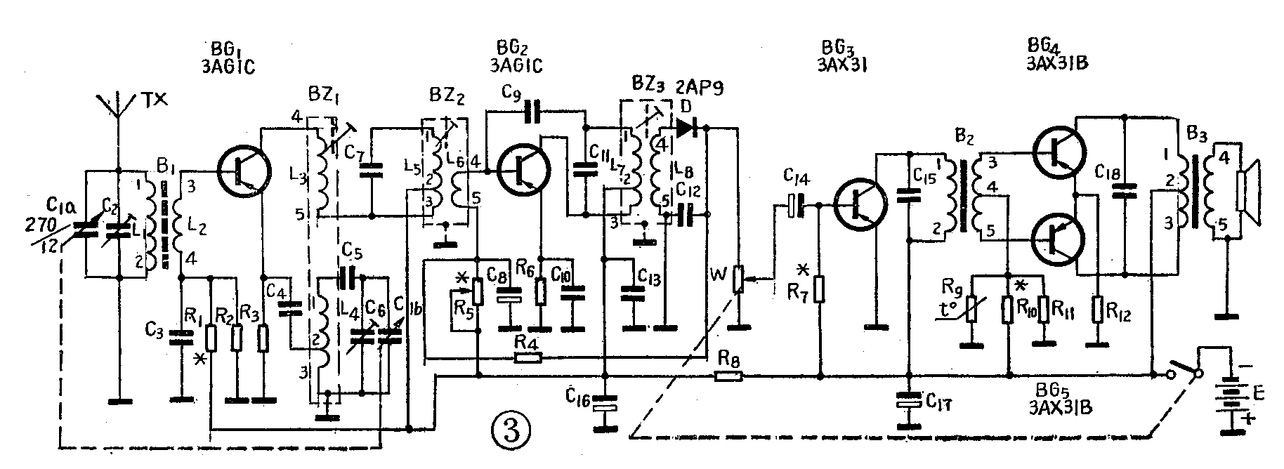
图3是一种超外差式收音机的整机电路。初看起来,这个电路很复杂,有点眼花缭乱。但只要按照方框图的顺序,逐级加以分析,头绪也就清楚了。

输入回路。从天线到晶体管BG\(_{1}\)基极之间的电路,叫输入回路。由图3可知,从天线收到的信号,加到线圈L1和可变电容C\(_{1a}\)组成的谐振回路上,改变C1a的数值,使回路对我们所要接收的电台信号的频率发生谐振,就能选出我们所要接收的那个电台的信号。 C\(_{1a}\)的容量从最大调到最小,可以使回路的谐振频率从535千赫变到1605千赫。这样整个中波波段内的电台就都包括进去了。与C1a并联的电容C\(_{2}\)是一个微调电容,其作用是补偿C1a以便能够与本机振荡频率在高频端更好地达到统调。L\(_{1}\)、L2绕在同一根磁棒上,构成磁性天线。通过电磁感应,L\(_{1}\)上的信号电压感应到L2上,使L\(_{2}\)产生一个高频信号电流,此高频信号电流,就是BG1的输入信号电流,其通路为L\(_{2(4)}\)→C3→地→L\(_{4(3)}\)→L4(2)→C\(_{4}\)→BG1(e)→BG\(_{1(b)}\)→L2(3)。
变频级。它是用一只晶体管BG\(_{1}\)完成振荡与混频的功能。因此它的输入端除有高频信号电流外,还有本机振荡电流。下面我们分析本机振荡电流是怎么加上去的。线圈L3与L\(_{4}\)绕在同一磁心上,加金属隔离罩屏蔽,叫振荡线圈。在电源接通的一瞬间,变频管BG1的集电极电流必然发生一个从无到有的变化,这个变化的电流流过L\(_{3}\),由于L3与L\(_{4}\)的互感作用,便在L4中产生感应电流。L\(_{4}\)与C1b、C\(_{6}\)、C5组成振荡回路,L\(_{4}\)上的感应电流使C1b、C\(_{6}\)、C5充放电,导致该回路产生电振荡,在回路两端形成振荡电压。此振荡电压的一部分(L\(_{4(2)}\)~L4(3)两点间的电压)通过电容C\(_{4}\)、C3加到BG\(_{1}\)的发射结(和L2上的高频信号电压叠加),于是在BG\(_{1}\)的输入端便流过一个振荡电流i振,此电流通路为L\(_{4(2)}\)→C4→BG\(_{1(e)}\)→BG1(b)→L\(_{2}\)→C3→地→L\(_{4(3)}\)。该电流经BG1放大,形成BG\(_{1}\)的集电极电流ic,i\(_{c}\)通过L3,又耦合到L\(_{4}\),也在L4中产生一个振荡电流i'\(_{振}\)加到BG1的输入端。由于L\(_{3}\)与L4绕向相同,当L\(_{3}\)的4端为正、5端为负时,L4的2端为正、3端为负,所以i'\(_{振}\)与i振方向一致,是正反馈。如果反馈量又取得合适,能够补偿振荡的损耗,就会形成等幅振荡。
由于高频振荡电流与高频信号电流同时加到BG\(_{1}\)的输入端,于是在它的输出端就出现了多种混合频率的信号,如f信、f\(_{振}\)、f振±f\(_{信}\)等等,这就是平常所说的混频。混频后输出信号电流的通路为BG1(c)→L\(_{3(4)}\)→L3(5)→L\(_{5(3)}\)→L5(2)→C\(_{16}\)→地→L4(3)→L\(_{4(2)}\)→C4→BG\(_{1(e)}\)。输出端的负载是由L5、C\(_{7}\)组成的并联谐振回路。该回路调谐在f振-f\(_{信}\)=465千赫(中频),于是回路只对中频信号产生高阻抗,输出电压最大,而对其它频率的信号,回路阻抗很小,因而输出电压很小,甚至为0,这就选出了中频调幅信号。
由于各电台的信号频率不同,当收音机换台时,为了总能保持f\(_{振}\)-f信=465千赫,就必须使f\(_{振}\)跟着f信作相应变化。f\(_{振}\)的变化是通过调节C1b来实现的,而且都是把C\(_{1a}\)和C1b放在同一旋转轴上(叫双连可变电容),使两回路统调。C\(_{5}\)叫垫整电容,C6叫补尝电容,它们分别帮助C\(_{1b}\)在低频段和高频段与信号频率更好地实现统调。
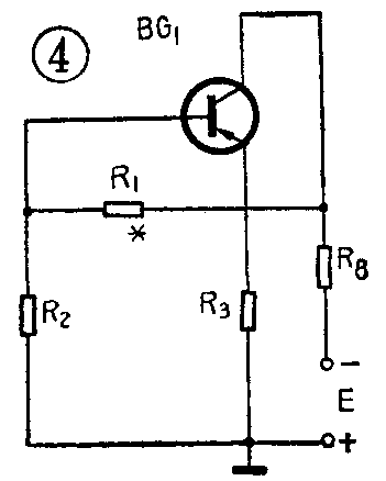
R\(_{1}\)、R2是晶体管BG\(_{1}\)的直流偏置电路。为了使晶体管建立正常的工作状态,就必须设置这样的电路。为清楚起见,我们把BG1的直流偏置电路单独画出来,见图4。由图4可知,电源电压E加到R\(_{2}\)、R1和R\(_{8}\)上,R2上的分压通过R\(_{3}\)加到BG1的e、b之间,构成BG\(_{1}\)的基极偏压。BG1基极偏流的通路为E\(_{+}\)→地→R3→BG\(_{1(e)}\)→BG1(b)→R\(_{1}\)→B8→E\(_{-}\)。偏流越大,发射极电流Ie越大,I\(_{e}\)在R3上产生的压降也越大,这就降低了BG\(_{1}\)的发射结偏压,从而限制了BG1基极偏流的增大,起到负反馈作用。因此这是一个分压式负反馈偏置电路。调节R\(_{1}\),可以改变基流的大小,也就是能使BG1得到合适的工作点。

中频放大级。此处只选用一级(BG\(_{2}\)),质量较高的收音机往往用两级或三级中放。BZ2是中频变压器,简称中周。它的作用有二:一是其初级线圈L\(_{5}\)与电容C7组成谐振回路,选出中频信号,又通过L\(_{5}\)与L6的耦合将中频信号送到BG\(_{2}\)的输入端,因而使BG2产生一个输入信号电流,该电流的通路为L\(_{6(5)}\)→C8→地→C\(_{1}\)0→BG2(e)→BG\(_{2(b)}\)→L6(4)。二是通过阻抗转换,使前级的输出阻抗与后级的输入阻抗得到匹配。BZ\(_{3}\)也是一个中周,电容C11与它的初级线圈L\(_{7}\)组成并联谐振回路,作中频放大器的负载。该回路也调谐在465千赫,因此,经BG2放大后的中频信号又经过一次选择,使漏过来的非中频信号再次被滤除。放大了的中频信号经L\(_{7}\)耦合到L8送到检波器去。BG\(_{2}\)的输出电流通路为BG2(c)→L\(_{7}\)(3)→L7(2)→C\(_{16}\)→地→C10→BG\(_{2}\)(e)。
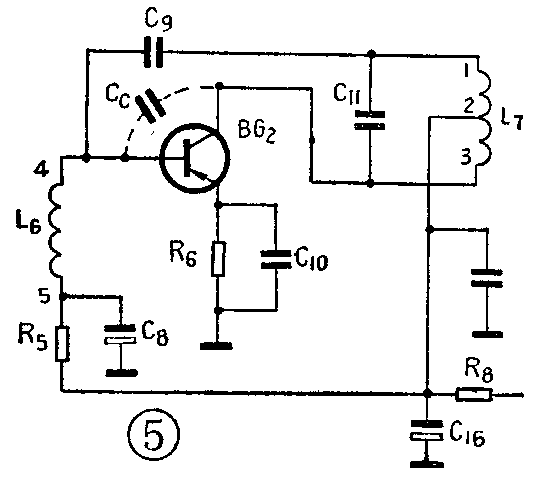
C\(_{9}\)叫中和电容。为什么要加中和电容呢?这是由于在晶体管的基极与集电极之间存在着集电结电容Cc(见图5)。 C\(_{c}\)的数值虽然很小,但是在频率较高时,就会有一部分集电极电流通过它反回基极,而且这个电流的方向与基极电流方向一致,是正反馈,因此易形成寄生振荡。加中和电容,就是为了消除这个寄生振荡。由图5可见,L7的3端为正时,1端为负,因此从3端(集电极)通过C\(_{c}\)送到基极的电流与从1端经C9送到基极的电流方向恰好相反。如果调整C\(_{9}\),使两个电流相等,它们就可以互相抵消,从而防止了寄生振荡。

我们再回过来看图3,R\(_{5}\)是BG2的基极偏流电阻,BG\(_{2}\)基极偏流的通路为E+→地→R\(_{6}\)→BG2(e)→BG\(_{2(b)}\)→L6→R\(_{5}\)→R8→E\(_{-}\)。
检波电路。D是检波二极管,C\(_{12}\)为滤波电容,W为检波器负载。耦合到L8上的中频调幅信号通过二极管D检波后得到音频信号加到W上。检波过程是:在信号的正半周时,即L\(_{8}\)的4端为正,5端为负时,二极管D导通,而在负半周时,D截止。因此L8上的中频信号经D以后就变成了只有正半周的中频直流脉动信号,这个信号包括三种成分:中频、音频及直流。中频信号电流的通路为L\(_{8(4)}\)→D→C12→L\(_{8}\)(5),可见中频信号电流由C12旁路掉了,送不到W上去。音频信号电流和直接的通路分为两路,一路为L\(_{8(4)}\)→D→W→地→L8(5),其中音频信号电流在W上产生的音频信号电压经C\(_{14}\)送到BG3的基极进行低频放大。调节W可改变BG\(_{3}\)基极的低频信号电流的大小,以控制收音机的音量。另一路则经R4、C\(_{8}\)构成的滤波器,滤去残余的中频及音频信号后加到BG2的基极。这一路直流电流的通路为L\(_{8(4)}\)→D→R4→L\(_{6}\)→BG2(b)→BG\(_{2(e)}\)R6→地→L\(_{8(5)}\)。这个电流和BG2的基极偏流方向正好相反,因而能抵消一部分偏流。外界信号越强,抵消得越多,于是降低了BG\(_{2}\)的发射结偏压,使BG2的放大倍数降低。反之,外界信号较小时,抵消作用也小,相应的使BG\(_{2}\)的放大倍数也有提高,这就自动调节了放大器的增益。因此由R4、C\(_{8}\)构成的电路叫“自动增益控制”电路。有了这个电路,虽然外界信号强弱不同,但收音机的音量变化并不显著。
低频放大器。BG\(_{3}\)为低频放大器,它将检波器送来的音频信号先经过一次放大,再送到后面的功率放大器。其输入信号的通路为地→BG3(e)→BG\(_{3(b)}\)→C14→W→地。R\(_{7}\)为基极偏流电阻,基极偏流的通路为E+→地→BG\(_{3(e)}\)→BG3(b)→R\(_{7}\)→E-\(_{2}\)是输入变压器,其初级作为BG3的负载。BG\(_{3}\)输出的音频信号电流通路为BG3(c)→B\(_{2(1)}\)→B2(2)→C\(_{17}\)→地→BG3(e)。其中音频信号的较高部分,经BG\(_{3(c)}\)→C15→C\(_{17}\)→地→BG3(e),被C\(_{15}\)滤掉,不致通过B2耦合到下级去。这就相对提高了音频信号的低频部分,改善了音质。
B\(_{2}\)初级的音频信号耦合到次级后,作为推挽功率放大器的输入信号。用变压器耦合可以达到两个目的,一是使本级的输出阻抗与下一级的输入阻抗相匹配(通过设计合适的初级与次级圈数比来达到目的),提高传输效率,二是把放大器的单端输出转换成推挽电路。
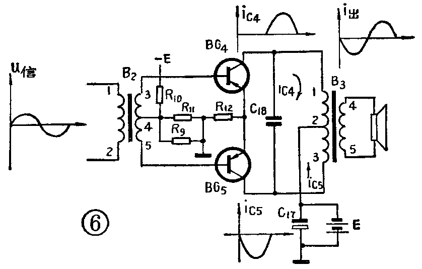
推挽功率放大器。BG\(_{4}\)、BG5构成推挽功率放大器。“推挽”是什么意思呢?我们看图6。由于B\(_{2}\)的次级有中心抽头,所以次级的信号电压在正半周即B2的3端为正,5端为负时,BG\(_{5}\)导通,其输入电流的通路为B2(4)→R\(_{9}\)‖R11(即R\(_{9}\)、R11的并联值)→地→R\(_{12}\)→BG5(e)→BG\(_{5(b)}\)→B2(5)。经BG\(_{5}\)放大的音频信号电流记作为iC5,其通路为BG\(_{5(c)}\)→B3(3)→B\(_{3(2)}\)→C17→地→R\(_{12}\)→BG5(e)。这时由于BG\(_{4}\)的输入端加的是反向电压而截止。在信号的负半周,B2的3端为负,5端为正,BG\(_{4}\)导通,其输入电流通路为B2(4)→R\(_{9}\)‖R11→地→R\(_{12}\)→BG4(e)→BG\(_{4(b)}\)→B2(3)。输出电流(i\(_{C4}\))的通路为BG4(c)→B\(_{3(1)}\)→B3(2)→C\(_{17}\)→地→R12→BG4(e)。这时BG\(_{5}\)截止。

B\(_{3}\)是输出变压器,BG4、BG\(_{5}\)两管的输出电流每半个周期交替地流过B3的初级绕组,使B\(_{3}\)的次级得到一个完整的音频信号电流(i出),这种工作情况与两个人拉锯的情况类似,一推一拉,因此称它们为推挽功率放大器。B\(_{3}\)次级的音频信号电流推动喇叭发出声音。C18的作用与C\(_{15}\)相同,可滤除音频信号中频率较高的部分,改善音质。
R\(_{9}\)、R11的并联值与R\(_{1}\)0构成电源E的分压电阻,从R9、R\(_{11}\)并联电阻两端取出的直流电压降通过B2的次级和R\(_{12}\)分别加到BG4、BG\(_{5}\)的基极和发射极间作为它们的偏压。R10为BG\(_{4}\)、BG5的基极偏流电阻。BG\(_{4}\)的基极偏流通路为E+→地→R\(_{12}\)→BG4(e)→BG\(_{4(b)}\)→B2(3)→B\(_{2(4)}\)→R10→E\(_{-}\)。BG5的基极偏流通路为E\(_{+}\)→地→R12→BG\(_{5(e)}\)→BG5(b)→B\(_{2(5)}\)→B2(4)→R\(_{1}\)0→E-。
和R\(_{11}\)并联的R9是热敏电阻。为什么要并联一个热敏电阻呢?因为当环境温度升高时,BG\(_{4}\)、BG5的基极偏流将增大,并导致集电极电流增大,使它们偏离原来的工作状态。增加R\(_{9}\)以后,因为R9的阻值随温度的升高而变小,使得R\(_{9}\)、R11的并联值也减小,这就提高了BG\(_{4}\)、BG5的基极电位(负数的绝对值减小),使两管的正向基极偏置电压减小,结果两管的基极电流和集电极电流都随着减小,起到了温度补尝的作用。
R\(_{12}\)为直流负反馈电阻,它也能使功放级直流工作点稳定,避免气温过高时因管子电流过大而将管子烧毁。此外,图3中的R8、C\(_{16}\)、C17是电源退耦滤波电路。由于各级管子直流工作电压都由同一个电源供给,为了防止这个电源内阻引起寄生反馈产生寄生振荡而加了这个电路。
以上分析了由天线接收的高频调幅信号经变频、中放、检波、低放,最后还原成声音的过程。至此,一部超外差式收音机线路的来龙去脉就比较清楚了。(荣田 焦德赏)