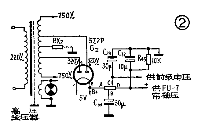
许多150瓦电子管扩音机常出现这样的毛病:当经过预热并开启高压开关的瞬间,经常发现次高压整流管5Z2P内部打火,使管子非常容易烧坏。图1是飞跃R150—1型150瓦电子管扩音机的有关电路。当高压开关刚接通时,5Z2P的屏板上便突然加上320伏交流电压。由于电解电容C\(_{33}\)容量较大,有30微法,在开机瞬间可视为短路,所以此时流过整流管5Z2P的电流大大增加,远远超过允许值,并且管内有时打火,发出亮光,经多次这样使用后管子就容易损坏了。

解决的办法是:将图1中的AB连线切断,并将C\(_{33}\)上端改接到B点(见图2),将R44的AB一段的电阻调节到150~250欧之间,这样就可以有效地减低高压开启时流过管子的电流。调节B、C两个滑点,可以使输出电压达到额定值。(丁六成)
