简易感光报警器的外形见图1。此报警器可放在抽屉中或柜中。如果室内灯光较强或自然光较强,抽屉或柜子被打开时,光照在报警器上(硅光电池上),蜂鸣器会发出响声。

工作原理
简易感光报警器电路见图2。它由感光开关与讯响装置组成。感光开关中用了三个晶体管,组成直接耦合的直流放大电路。R\(_{1}\)与R2为分压偏置电阻。基极电路中串有两块硅光电池。当无光照时,光电池两端不产生电压,光电池相当一个电阻;当有光照射时,光电池上产生电压。

把偏置电路中的电阻R\(_{2}\)的阻值调得合适,使它上面的电压接近但尚未达到BG1发射结的导通电压,故在无光照时BG\(_{1}\)并不导通,当光照到光电池上,两块光电池产生的电压与R2上的电压一起加到BG\(_{1}\)的PN结上,于是BG1管导通,BG\(_{2}\)、BG3也导通,继电器接点吸合,蜂鸣器发出响声。
元件选择
晶体管BG\(_{1}\)选用3CG1,也可用3CG、3CK型小功率硅管。BG2选用3DG4、3DG6。BG\(_{3}\)选用3DK2或3DK4。三个晶体管的穿透电流要小,β值大于50即可。电阻R1、R\(_{2}\)用\(\frac{1}{8}\)瓦碳膜电阻。两块光电池可选用圆形2CR61~64型(直径为17毫米),图3a所示。也可用方形的2CR71硅光电池,见图3b所示它的面积为20×20(平方毫米),两片电池固定在玻璃纤维印刷电路板上,并串联在一起接入电路。光电池上呈蓝色并带有栅线的一面为受光面,此面引出的电极线为正极引线(见图3b)。另一面(背面)的引出线为负极引线。当光电池受光面上有光照射时(室内光线),每块光电池上能产生0.3伏左右电压。

继电器应选用工作电压2.5伏,或者通过50毫安电流便能吸合的微型继电器。我们用的继电器是自制的。找一个直径3毫米、长度为20毫米的干簧管,并做一个空心骨架(空心孔作放置干簧管用),在骨架上用直径为0.14漆包线绕1400圈,用胶布把线包包好。把干簧管插入骨架空心孔内,继电器就制成了见图④。蜂鸣器选用自行车上用的那种,它的外形见图1。

调试
电路中电阻R\(_{2}\)需调整得合适,才能在有光照时电路开通,继电器接点闭合;而在黑暗时,继电器接点不闭合,并使电路最省电。用500K电位器代替R2,电流表串接在电源上。用黑纸盖上光电池,调500K电位器,使总电流减至10微安左右,此时拿开黑纸,继电器应吸动,否则应适当调大电位器阻值。最后测量电位器阻值,找一个同值电阻代替接入作为R\(_{2}\)。

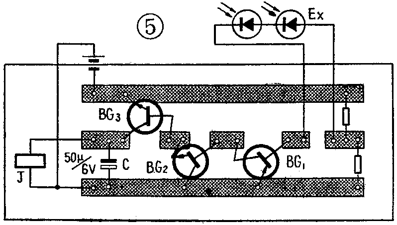
将感光开关中除硅光电池外的各元件装入图⑤所示的印刷线路板上。找一个装刮脸刀的小盒,在盒底开个“窗口”,将硅光电池上呈蓝色那面粘在“窗口”处,使硅光电池上受光面能接受光照。“窗口”外粘一层玻璃纸,以保护硅光电池板。将线路板装入小盒内,感光报警器就制成了。(朱耐冬)