编者按:集成电路收音机与分立元件收音机相有许多特点。集成电路块对广大读者来说还是一种比较新颖的器件,为了使读者对集成电路有所了解,给大家提供动手实验的机会,本文介绍一种集成电路收音机的制作资料,并由北京市崇文区茶食胡同小学校办工厂代销部分零件,读者可向该校函购。本刊今后还将陆续向大家介绍各种收音机用集成电路资料和邮购方法。
请注意:我部不办理函购业务,请不要把款寄到编辑部来。
集成电路进入收音机领域,这在技术上无疑是一次进步。收音机中使用集成电路有很多优越性。首先,由于元件的减少可以简化装配工艺,特别不必为选管化费很多时间;其次,调试简便,比分立元件收音机有更高的稳定性和可靠性;第三,在功能相同的情况下,比分立元件收音机成本低得多,有利于普及推广。另外,集成电路收音机的一致性好,温度特性好也是一般分立元件收音机难于比美的。收音机专用集成电路一方面在普及机中大量采用,另一方面则向着高级机方面发展。例如,在频率数字显示、自动选台的收音机中也有广泛应用。本文介绍的是国产专用集成电路CF039和CF043的基本原理和应用。
工作原理
CF039和CF043分别用于收音机的音频和高频电路中。CF039成一个电压增益为110倍的低频放大器。4.5伏供电时,不失真输出功率可达320毫瓦。CF043配合外部电路可完成混频、本振、中频放大、检波和自动增益控制等功能。包括检波损失在内,净增益可达54dB~63dB检波输出幅度为20毫伏以上,自动增益控制能力为12dB。
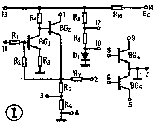
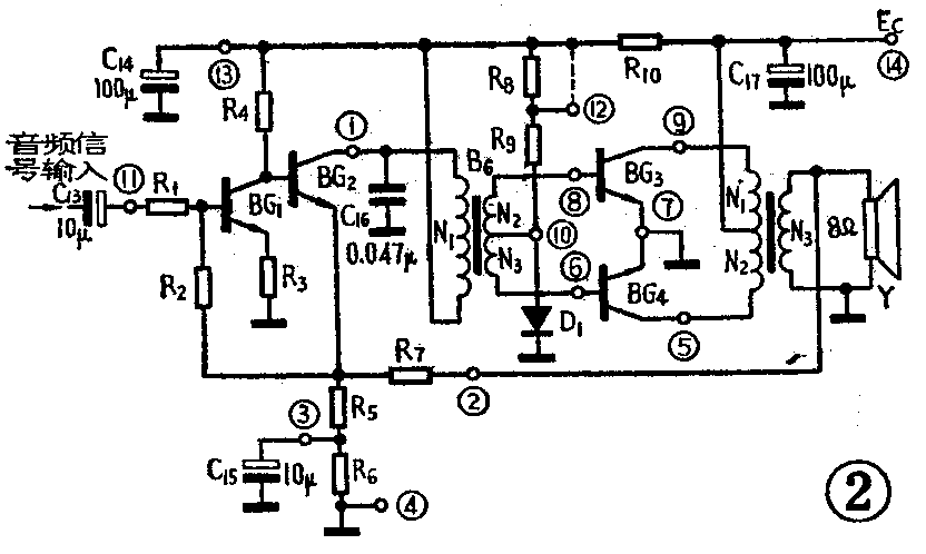
图1是CF039的内部电路。图2是接线图。由图可见,这是一个典型的带输入、输出变压器的音频放大器。为什么末级不采用无变压器的OTL电路呢?这主要是因为便携式收音机大多采用低电压供电(3~4.5伏)。而且,对于干电池供电的收音机来说,应能保证电源电压下降到额定值75%时仍能正常工作。假设有一台4.5伏(3节电池)供电的OTL电路收音机。考虑了每只末级输出管的电源电压利用系数只有0.5,并扣去每只输出管的饱和压降0.5伏,则它的输出功率最多只能是:P=(E\(_{C}\)×0.75/2-0.5)\(^{2}\)/2RL≈0.080瓦(式中E\(_{C}\)=4.5伏,是电源电压;RL=8欧姆,是喇叭阻抗)。显然达不到国家四级机(输出100毫瓦)的标准。而本文介绍的电路,电源电压下降到2.8伏时仍能正常工作。


BG\(_{3}\)和BG4是一对孪生的推挽输出管。每管能承受的最大脉冲电流可达500毫安。偏流可由R\(_{8}\)、R9、D\(_{1}\)提供。第12脚为偏置电阻抽头。当用3伏供电时,为了提高末级工作点可将12与13连在一起。D1既供BG\(_{3}\)、BG4的静态输入电压,又能在较宽的温度和电源电压变动范围内稳定其偏流。R\(_{1}\)0用来退耦,有时也可将13、14连接在一起,以便提高末级的推动功率。图2中的C16是为消除高频噪声和防止啸叫而加的。BG\(_{1}\)、BG2组成低噪声前置放大器,R\(_{1}\)、R3是为提高输入阻抗而加的。R\(_{2}\)是BG1的偏置电阻同时也起负反馈作用。R\(_{3}\)、R5为改善本级的频响指标而加。R\(_{7}\)、R5组成分压比约60∶1的分压器,通过2脚接扬声器,引入负反馈,进一步改善音质。与外部元件的连接方法可参看图3。

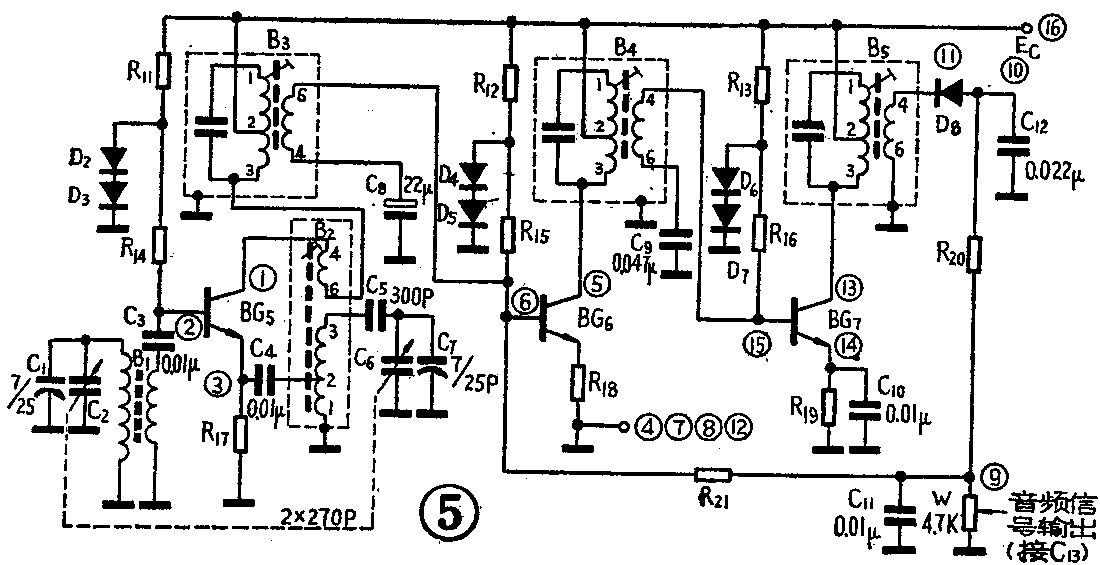
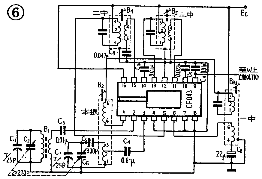
图4是CF043的内电路。图5是它与外部元件的接线图。由图可见 R\(_{11}\)~R16是BG\(_{5}\)~BG7各管的偏置电阻;D\(_{2}\)~D7及R\(_{17}\)~R19起稳定工作点的作用。R\(_{21}\)是自动增益控制电阻;D8为检波二极管。图5中C\(_{3}\)、C4、C\(_{9}\)、C10、C\(_{11}\)和C12的容量要求不严,可在0.01μ~0.33μ之间选用,但音量电位器W必须选用4.7千欧姆的,因为它不仅控制音量大小,而且还决定了检波二极管D\(_{8}\)和一中放BG6的偏压。图6是高频部分的安装图。



应用实例
题头画的是用CF039和CF043制成的收音机,图7是该机的印刷电路板。其中输出变压器B\(_{7}\)使用E6铁芯,叠厚12~14毫米,约34片。N\(_{1}\)=N2;(N\(_{1}\)+N2)/N\(_{3}\)=3~3.5。N1和N\(_{2}\)可用φ0.31毫米漆包线双线并绕130圈,N3用φ0.44毫米漆包线平绕80圈。输入变压器B\(_{6}\)使用E5铁芯,叠厚6~8毫米,约20片。N\(_{2}\)=N3,N\(_{1}\)/(N2+N\(_{3}\))=1~1.25。N1可用φ0.08毫米漆包线平绕1400圈,N\(_{2}\)和N3亦用φ0.08毫米漆包线,双线并绕600圈。该机使用4英寸8欧姆的扬声器,发音宏亮。


中频变压器采用TF—10型,谐振电容在中周之内,外形尺寸为10×10×13毫米,用7×7×12毫米的也可,但印刷电路板要稍加改动。也可按下列数据自制中频变压器。选用MX—400I形磁芯和磁罩。一中放的B\(_{3}\),1~3端为162圈,2~3端56圈,4~6端7圈;二中放的B4,1~3端为162圈,2~3端56圈,4~6端10圈;三中放B\(_{5}\)的1~3端为162圈,2~3端50圈,4~6端26圈。以上全部用φ0.08 毫米漆包线绕制,并且次级绕在内层。振荡线圈B2也是用φ0.08毫米漆包线,1~3端80圈,1~2端6圈,4~6端9圈。但应注意磁芯要用NX—40的。天线线圈B\(_{1}\)在Y10×120磁棒上绕制,L1分为两段,用φ0.07×7毫米的纱包线顺向平绕56圈+30圈。L\(_{2}\)在L1的两个线圈之间靠近56圈的一端绕7圈。L\(_{1}\)的两个线圈放在磁棒两端可移动,见刊头。中频变压器的谐振电容为200PF(中周内带有电容的可不外加),最好用云母或瓷介的,C5也用瓷介电容为好,其余电容均要求不严格,数值相近就行,全机电阻均在集成块内。按图3、图6和图7安装完毕,如无差错,接上电源就可收到本地强台。各级电路静态工作状态不用调整,因为均在集成电路内固定好了。此时,静态总电流应小于15毫安(4.5伏供电)。
业余条件下,调整中频和统调的方法与一般晶体管收音机的调整方法相同。首先收听低端的一个弱台,反复从后向前调B\(_{5}\)4\(_{3}\),直到声音最大为止。统调时先对准度盘低端的一个电台(如640千赫),调本振线圈B2的磁芯,使该电台与刻度盘的数值对准,然后调谐到高端(如1500千赫)的一个电台,调整C\(_{7}\)使该电台与度盘数值相符。再调谐到低端电台(如640千赫),调整磁棒上的线圈L1位置,使声音最大,再调谐到高端(如1500千赫),调整C1使发音最响。如复调整几次即可完成统调。
调试后,发现有音轻,难听等现象时,应检查集成块是否工作正常。检查方法是用改锥碰触CF039的11脚,此时扬声器应有明显响声。否则,查5脚和9脚静态电流(应为3~6毫安),以及1脚静态电流(应为1~2毫安)。如电流过大,可查看BG\(_{2}\)、BG3、BG\(_{4}\)是否穿通,C15是否短路;如电流过小,并且小音量时难听,声音越大音质越有改善。这种现象可查10脚是否虚焊,6、8、10、12脚是否与地相碰,查看输入、输出变压器是否断线。如1脚与5、9脚电流正常而音质仍然低劣,则可能是输入、输出变压器绕制不当或局部短路。表一是CF039各脚静态电压值,可作调试参考。

如高、中频部分不正常,可作如下检查:用万用表测9脚对地电压,无台时应为0.25~0.35伏。旋转双连,随着电台的出现,电表指针应在0~0.25(或0.35)伏之间摆动。而2、6、15脚应为1.25伏、0.66伏、和1.25伏。如与上述值不符,可检查B\(_{3}\)4的次级是否与地短路,或C\(_{3}\)、C9是否短路、或C\(_{8}\)是否严重漏电。3脚和14脚应分别为0.82伏和0.66伏,5脚电流应为0.2~0.6毫安。如上述测量值均正常但仍旧无声,可检查本振是否停振。将双连C6的动定片短路,3脚若从0.82伏降到0.75伏,则说明荡正常。如3脚的电压没有变化则可能本振不振振的原因多是因为B\(_{2}\)初级或次级接反。回路损耗大或C4虚焊,C\(_{6}\)、C7碰片也能造成停振。
以上故障现象和原因都是一般常见的,并不包括特殊情况,调试时应根据具体情况处理。
表二是CF043的静态电压数值,可作检修时参考。

焊接时应注意不要把集成块的管脚接反,否则容易烧坏集成块。另外,各管脚之间只有2.5毫米的距离,焊接时不要使两条腿短路。调试时电源电压不要突然给到额定值,而应慢慢提高到额定值,如发现总电流过大时,应立即断电,排除了故障之后再给电。(路民峰)