集成电路DYIC—Ⅱ型扩音机采用了5G922、5G37两个集成块,5G922作音调控制电路,5G37作功放电路(原电路曾发表于《科学画报》1979年第7、8两期)。这种扩音机音质很好,元件少,装调也很方便。但是由于原电路对电源要求较高,业余用5G37的质量又各不一样,所以扩音机容易出现自激和静噪声较大的毛病。另外,这种扩音机因为输入阻抗高,所以输入端容易受外部干扰。下面介绍几点改进经验。如果按本文给出的印刷电路板安装,效果更好。
消除自激振荡
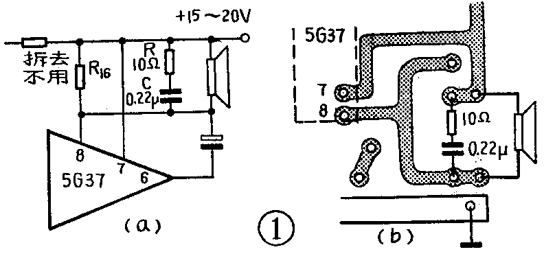
1.“嘟嘟”声自激:接通电源后,发出“嘟嘟”自激声,而且很大,不受音量电位器控制,仅随电源电压的高低而变化。一般是功率级(5G37)自激,与前级没有关系。由于5G37增益较大,当电源内阻比较高时,输出信号电流的变化会引起电源电压的变化,这种变化又通过电源线和地线耦合到5G37输入端,形成正反馈,就容易产生自激振荡。解决办法是:如图1a所示,在喇叭两端并联一个RC相移网络,破坏自激振荡的相位条件。改接办法如图1b,拆去原电路板上的R\(_{16}\)(此时5G37第8脚通过喇叭供电),焊上一个5~20欧的小电阻和一个0.1~0.22微法的电容器。电阻或电容的具体数值可通过实际试验选取。

有时由于电源滤波电容C\(_{13}\)外壳(负极)接地不良或接地位置不对,也会造成这种现象。因此电容器C13的外壳一定要用导线良好地接地,最好将正、负极引线直接焊在整流桥上。
2.“噼噼”声自激:现象是接通电源以后,喇叭中发出重复频率较高的“噼噼”声。其原因可能是5G37内电路的第一、二级电压放大级自激。可在5G37第4脚与地之间增加一个4700P~0.02μ的电容器(如图2)。表面看来增加电容后会使5G37的高端频响降低,但实际上由于5G37内部功率放大级的输入阻抗很低,所以高音不会有多大衰减。

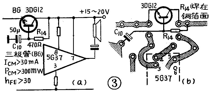
3.汽船声自激:汽船声自激的重复频率有时很低,并且音量开大时,出现汽船声自激,音量电位器关小时,自激消失。其原因是电源级间退耦不够所引起的。有两个解决办法,读者可根据情况选择其一。①将电容器C\(_{1}\)0的容量加大到470微法(耐压为16伏);②增加一只三极管,与原电路中的C10、R\(_{14}\)一起组成一级有源滤波器。改制办法是:从原电路板上拆下R14,将三极管的C、E极焊在原R\(_{14}\)的位置(见图3b)。从印刷电路板上焊开C10的正极,将C\(_{1}\)0的正极与R14的一端共同焊在三极管的基极上。R\(_{14}\)应在印刷板的铜箔面。所用三极管要求PcM>300毫瓦,ICM>30毫安,hFE>30。这样一来,原C\(_{1}\)0至少可等效为1000微法以上的一个大电容(见图3)。

降低静噪声
当扩音机的音量电位器调到最小时,喇叭中发出的“沙沙”声称为静噪声。如图4所示,5G922采用单电源供电,其中点电压通过D\(_{W}\)稳压箝位而得,因为5G922增益较高,电流流过半导体器件DW和电阻R\(_{1}\)0时产生的噪声会被5G922放大,于是产生较大的噪声。可在5G922的②、脚对地端并联一个0.22μ~1μ的电容器。最好采用独石或金属膜电容,不要使用电解电容器。

阻塞问题
首先分析一下阻塞产生的原因:有些5G37静态电流很大,使用时必须降低电源电压,有的5G37的业余品只能工作在13伏以下,此时输入信号可能通不过5G922,造成信号阻塞。例如,当电源电压低到13伏时,加到5G922第⑥脚上的供电电压可能只有12伏或更低一些。而5G922中点电压由D\(_{W}\)箝定为5~7伏(当利用小功率硅三极管发射结的反向击穿特性作为稳压管时,箝定电压都为7伏左右),便会造成5G922内部截止。出现这种情况时,应把5G922第②、脚电压相应降低,或把第⑥脚接到电源高电位点上(高于15伏)。采用后一个办法效果好些。
减小空间电场感应
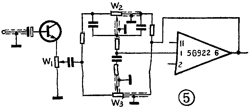
用5G922作音调控制电路时,输入阻抗很高,很容易从音调电位器外壳及引线处感应到空间电场,此感应信号经过5G922检波,经放大后在喇叭中便会发出不应有的电台广播声。当用手靠近音调电位器引线或电位器的轴时,这种现象尤其严重。
解决办法是:①W\(_{2}\)、W3的引线应至少有四个端头采用金属屏蔽线,如图5中的虚线所示。最好输入端也采用金属屏蔽线;②电位器外壳一定要接地。最好把电位器安装在金属底板上(金属底板要接地);③如果扩音机采用非金属外壳(如塑料外壳),应在印刷电路板的铜箔面,加上用薄金属片或香烟盒中的铝箔纸做成的屏蔽板,并且应将屏蔽板接地(如图6)。


扩大输入级动态范围
由于扩音机常用来扩大录音机输出的信号,而且目前盒式录音机输出电压均较高(从外接喇叭插孔输出),所以最好把由3DG6组成的射极跟随器的动态范围加大。只要把R\(_{1}\)改为160~220千欧就行了。此时用万用表测量3DG6发射极电压应大约为5~7伏。这样,当用录音机作信号源时,如果将扩音机的音量电位器旋到一定位置固定下来,就可调节录音机音量电位器来改变扩音机的输出大小,不会出现限幅失真。
电源问题
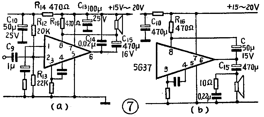
由于5G922和5G37开环增益较高(5G922可达1000倍,5G37可达800倍),所以对电源要求较高,如果处理不当,即使使用稳压电源,也难免自激。这是因为本电路采用单电源供电,各集成块均采用分压供电、中点悬浮零电平的方式。例如5G37中点电压是由R\(_{12}\)与R13分压后取得的,第②脚是它的输入端,输出端(第⑥脚)通过电容器C\(_{15}\)、喇叭接到电源正极,再通过电源接到地(见图7a)。这样接的缺点是:当电源内阻较大时,输出信号会通过电源内阻反馈到输入端,形成正反馈而引起自激。改进电路见图7b。它的特点是:①喇叭不接电源正极而改接到地,这就消除了信号通过电源内阻形成的正反馈;②滤波电容只用一个C10(470微法)就可以了;③增加了一个50~100微法的自举电容。



电源电路可改为图8形式。应注意的是四只整流管两端应各并联一只0.01微法的电容器。因为不使用稳压电源,电源效率有很大提高,因此可以使用较小的电源变压器给整机供电。可以用5瓦或10瓦的线间变压器改装,也可以用图9所示的铁心及有关数据绕制。
总体考虑


经过上面几项改进后,扩音机可以在简易电源下工作,而且容易制作和调整。改进后的整机电路见图10,为了便于调试,图中还标出了各点的工作电压。图11为改进后的印刷电路板,它包括了放大电路、电源整流和滤波三部分,使用时只要接上15伏交流电压就可以了。图中C\(_{3}\)和C9如果不易买到无极性的小型电容器,也可以用电解电容,容量一般为1~5微法,耐压为15~25伏。C\(_{3}\)、C9在电路中的极性应通过实测来决定,在图10中,一般是C\(_{3}\)左负右正,C9左负右正。5G\(_{37}\)可直接插入印刷电路板焊孔内焊接。5G37的散热板安排在电路板的后方,这样既便于散热,又减少了它对周围元件的温度影响。(林永恩)