一般电阻元件,它的导电特性是这样的:加在它两端的电压增加时,流过的电流就增加;加在它两端的电压降低时,流过的电流就减少。我们称这种电阻元件具有正电阻特性。
是否也有负电阻特性的元件呢?也就是说加在元件上的电压增加时,流过元件的电流反而减少,而当加在元件上的电压降低时,电流反而增加呢?随着半导体工艺的发展,人们制造出各种新颖的半导体器件,其中有的就具有上述那种负电阻特性。例如单结晶体管就是其中的一种。
为了能比较直观地看到单结晶体管的负阻特性,让我们来做一个小实验。
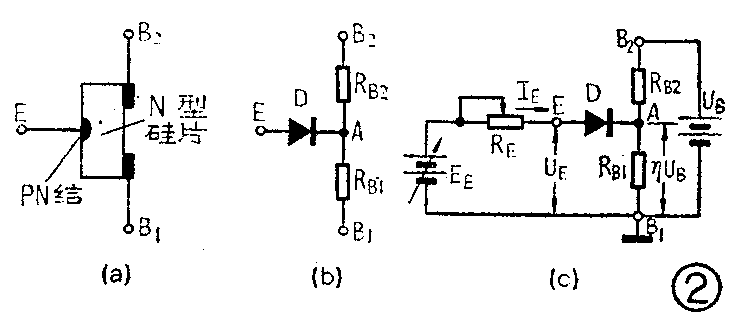
图1(a)是单结晶体管的代表符号。它有一个PN结、一个发射极E和两个基极B\(_{1}\)2\(_{1}\)叫第一基极,B2叫第二基极,因此单结晶体管也叫双基极二极管。

图1(b)是实验电路。因为负阻特性出现在发射极E和第一基极B\(_{1}\)之间,所以在发射极电路中接入电流表,在发射极和第一基极之间接上电压表,以便随时观察和记录它们的数值。
实验时,先由低向高逐渐调节电源电压E\(_{E}\),等到IE有明显增加时,再由大到小调整电阻R\(_{E}\),每调整一次EE和R\(_{E}\),都把电流表和电压表的指示值记录下来,并填入表1中。
表1
I\(_{E}\) 0 0 0 0 0 0.5 0.9 1.5 3 5 8 9 15 18
(毫安)
U\(_{E}\) 0 2 4 6 7 6 4 2.6 2.2 2.1 2 2.2 2.4 2.6
(伏)
从表1中列出的实验数据可以看出:在U\(_{E}\)以0伏上升到7伏这段区域里,IE极小,用普通的毫安表几乎测不出来,说明这时E、B\(_{1}\)之间呈现出极大的电阻。当UE升高到7伏以后,I\(_{E}\)明显地增大起来,而UE却作相反的变化,逐渐降低下去,直到I\(_{E}\)增大到8毫安以后,UE才随着I\(_{E}\)的增大而上升。因为UE上升到7伏以后,在7伏降到2伏这个区域内,U\(_{E}\)和IE的变化方向相反,所以在E与B\(_{1}\)之间出现的是负电阻特性。
从表1数据中还可以看到,U\(_{E}\)的最大值是7伏,从这个电压出现以后,便出现负阻特性,通常把IE开始突增时的电压叫做单结晶体管的峰点电压。在U\(_{E}\)下降到最低点(表1中的2伏),从这点以后,此管不再有负阻特性,我们称这时的电压值叫谷点电压。峰点电压和谷点电压是单结晶体管的两个重要参数。
为什么单结晶体管具有负阻特性呢?我们来看一下单结晶体管的内部构造。图2a是单结管的结构,图2b是它的等效电路;图2c是用单结管等效电路画出的工作原理图。

单结晶体管的结构很简单,内部是一块电阻率很高的N型硅片,在硅片的一个平面上,引出两个基极B\(_{1}\)2,在硅片另一个平面上靠近中央处有一个PN结,从P型区引出发射极E,这样就构成了一个单结晶体管。
如果用等效电路来表示单结晶体管,如图2b所示,可以把B\(_{1}\)2极间看成是由两个电阻R\(_{B1}\)和RB2串联而成,PN结形成的二极管D正极与E极相连,负极与R\(_{B1}\)、RB2的连接处相连。如图2c所示在B\(_{2}\)1间加上固定电压U\(_{B}\),则图中A点电位为UA=U\(_{B}\)·RB1/(R\(_{B1}\)+RB2),如果把R\(_{B1}\)/(RB1+R\(_{B2}\))用字母η表示,则UA=η·U\(_{B}\)。η(读作艾它)叫分压比,它也是单结管的一个重要参数,一般为0.3~0.8。若如前面的实验那样,UE从零开始增加,但小于η·U\(_{B}\),则等效发射极二极管D处于反偏状态,因而不导通,只有极小的反向电流(用毫安表是测量不出的)。当UE上升到等于ηU\(_{B}\)时,PN结两边的电位相等,发射极电流为零。UE继续增加,PN结便转为正偏置,直至正向导通,这时与发射极相连接的P型半导体就会把空穴源源不断地注入到硅片中去。注入硅片的空穴在硅片内电场的作用下,流经R\(_{B1}\)被吸收到电位较负的基极B1,这样R\(_{B1}\)中就增加了大量空穴载流子,因而导电性能大大增强,电阻值迅速减小,另一方面在RB1减小时,R\(_{B2}\)仍保持原阻值,这样UB在A点的分压η·U\(_{B}\)会随之降低,而A点电位的下降会使IE进一步增加,I\(_{E}\)的增加又引起发射极注入的空穴增加,并导致RB1进一步减小,这就形成连锁反应,结果使得I\(_{E}\)急剧增大。另外,RB1的减小导致U\(_{E}\)下降,所以在这段工作范围内出现UE下降I\(_{E}\)上升的现象,即呈现负阻特性。

利用单结晶体管的这种负阻特性可组成自激振荡器,它的基本电路如图3。单结晶体管中的PN结正向压降和R\(_{B1}\)、RB2的电阻值,会随温度的变化而略有变化,这些变化会改变单结晶体管峰点电压,因此,为了使电路工作稳定,一般在B\(_{2}\)回路里串联一个电阻进行温度补偿,如图3中的R2。当接通电源时,E\(_{B}\)便通过电阻RE向电容器C充电,于是电容器上的电压从零伏逐渐升高,升高的速度与R\(_{E}\)和C两元件的数值的乘积成正比。在电容器上的电压上升到管子的峰点电压以前,PN结上加的是反向偏压,E与B1极间电阻较大,几乎没有发射极电流流过R\(_{1}\)。另外,在未进入负阻区时,RB1和R\(_{B2}\)都是阻值很大的电阻,因此图3中的IB可以忽略,R\(_{1}\)上没有输出。经过一段时间,电容上的电压上升超过峰点电压,PN结正向导通,E与B1极间突然进入负阻区,I\(_{E}\)迅速增大,于是电容器C经E、B1极和R\(_{1}\)电阻(通常只有几十到几百欧姆)很快地放电,这个流经R1的放电电流就在R\(_{1}\)两端产生一个脉冲电压。
随着电容器的放电,C两端的电压迅速下降,当降至单结晶体管的谷点电压时,E与B\(_{1}\)间又呈现极大的正电阻,于是电源EB又重新向C充电,这样的充放电过程周而复始,不断循环,就形成了单结晶体管自激振荡,而振荡的频率决定于电阻R\(_{E}\)和电容C的大小。用单结晶体管做成的自激振荡器,电路简单,工作稳定可靠、而且可以取得多种脉冲波形。例如,我们把图3电路R1两端的脉冲电压作为信号输出,就成为一个脉冲信号发生器。我们利用它就可以作为计数器、可控硅等电路的触发电路。如果输出信号取自电容C两端,就成为一个锯齿波发生器。由于单结管具有负阻特性,除了做振荡器外,还可以利用它组成阶梯波发生器等电路。(年富)