为了适应业余爱好者和农村修理部修理电视机的需要,我们制作了一台用万用表配合,可以调整电视机伴音通道和图象通道的信号发生器。
这种信号发生器分两个波段,第一波段输出5.5~7.5MH\(_{Z}\)的调频或等幅信号;第二波段输出25~40MHZ的调幅或等幅信号。另外,还可以输出500H\(_{Z}\)的音频信号。下面介绍它的工作原理、制作及使用方法。
工作原理
原理图如图1所示,包括高频振荡器、方波发生器、调制器、射极输出器及电源五部分。

高频振荡器由BG\(_{1}\)、C3、L\(_{1}\)、L2以及C\(_{2}\)、C4、C\(_{5}\)、R1、R\(_{2}\)、R3、K\(_{2}\)组成共基电容三点式振荡电路。振荡频率由C3、L\(_{1}\)、L2决定。两个波段由开关K\(_{2}\)转换,并且共用可变电容C3调整频率。
方波发生器由BG\(_{4}\)、BG5及R\(_{6}\)、R7、R\(_{8}\)、R9、C\(_{9}\)、C10组成。实际上是一个阻容耦合多谐振荡器,振荡频率由R\(_{8}\)、R9和C\(_{9}\)、C10决定,即f=1/1.4RC。我们选用R=R\(_{8}\)=R9=36K,C=C\(_{9}\)=C10=0.04μ因此,能输出一个频率为500H\(_{Z}\),波形近似于方波的信号。
调制器由BG\(_{3}\)担任,BG3的基极—发射极的偏压由R\(_{6}\)、R7分压供给。BG\(_{4}\)、BG5在振荡过程中交替导通和截止,所以,当BG\(_{5}\)截止、BG4导通时,U\(_{ce4}\)≈0伏,UR6≈E·R\(_{6}\)/R6+R\(_{7}\)≈6×\(\frac{1}{3}\)≈2(伏)。BG3的基极—发射极之间,由于加上了2伏的正偏压而导通。BG\(_{3}\)导通后,BG1的电源被接通,高频振荡开始工作。反之,当BG\(_{5}\)导通、BG4截止时,U\(_{ce4}\)近似等于电源电压E,R6上没有电压降,BG\(_{3}\)的Ube≈0伏。所以,BG\(_{3}\)截止,BG1的电源被切断,高频振荡停止。这样,BG\(_{1}\)的发射极就输出一个被500HZ方波调制的脉冲调幅信号。
大家知道,晶体管的结电容是随着外加电压的大小而改变的。BG\(_{1}\)的集电结电容Cjcb实际上是同高频振荡回路电容C\(_{3}\)并联的,所以,它的大小会影响振荡频率。由于调制器周期性地切断BG1的电源,每一个周期,BG\(_{1}\)集电极的电压都将由0伏到6伏变化一次,因此Cjcb也按500H\(_{Z}\)的频率周期性的改变其容量,从而使振荡频率受到调制。所以,在BG1输出的调幅信号中也有调频成分。伴音通道及鉴频器正是利用6.5MH\(_{Z}\)信号中的调频成分进行调试和检修的。这就使电路更加简化。
当K\(_{3}\)闭合时,BG5始终处于截止状态,BG\(_{4}\)始终导通,方波发生器停止工作。这样就使BG3始终导通,BG\(_{1}\)输出高频等幅信号。因此K3为等幅—调幅(调频)转换开关。
射极输出器由BG\(_{2}\)、R4、R\(_{5}\)、C7、C\(_{8}\)、W1组成。BG\(_{1}\)输出的高频信号,经C6耦合到BG\(_{2}\)的基极,放大后由BG2的发射极输出。然后由C\(_{7}\)耦合到电位器W1,再经C\(_{8}\)从插口CZ2输出。调整W\(_{1}\)可改变输出幅度。加此级一方面是为了放大信号,另一方面是为了使负载和高频振荡部分隔离。500HZ音频信号由CZ\(_{1}\)输出,调整W2可改变输出幅度。
由于此仪器耗电很少,可选用6伏叠层电池或其他小型电池。
元件选择及制作
BG\(_{1}\)可选用3DG12,也可用3DG6等代替,β值应为60~100。BG2、BG\(_{4}\)、BG5可选用β值为60~100的3DG6,选择BG\(_{4}\)、BG5时,要求β等参数尽量对称。BG\(_{3}\)可选用3AX71、3AX81等型号的锗管,β为40~100。所有管子要求Iceo尽量小些。
可变电容C\(_{3}\)可用360P或270P等空气可变电容改制。方法是将动片保留3~4片,其它的都去掉,定片不动,使可调整范围为5~40P。线圈L1、L\(_{2}\)均用外径为φ10毫米的电子管中周骨架绕制。L1用φ0.64毫米的漆包线绕9圈;L\(_{2}\)用φ0.31毫米的漆包线绕40圈。磁心用M6×0.75的羰基铁(也可不用)。电阻均为1/8瓦小型碳膜电阻。电容可用瓷介或云母电容。K3、K\(_{2}\)采用一刀两位小型钮子开关或者小型拨动开关。


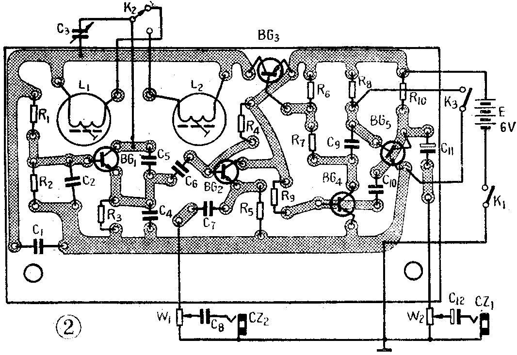
印制电路板如图2所示(1:1)。仪器外形及面板排列见题头图。装置C\(_{3}\)、K2时,应尽量靠近印制板的L\(_{1}\)、L2,以减小分布电容的影响。
首先检查元件焊接有没有错误,然后进行调整。先检查各点电压是否与图1标注的基本相同,再测总电流,应为5毫安左右。在音频输出插口,接上耳机或收音机低放时,应有500H\(_{Z}\)音频信号声,闭合K3,声音应停止,说明BG\(_{4}\)、BG5工作正常。此时测量R\(_{2}\)两端的电压,约为1伏左右,将C3动片与定片短路,电压应有所减小,这说明BG\(_{1}\)已起振。将K2转到另一波段,BG\(_{1}\)也应起振。再将K3置于调幅(频)位置,K\(_{2}\)置于第一波段,找一个短波收音机,调到6.5MHZ附近,将收音机靠近仪器,调整C\(_{3}\),在收音机中应有音频信号声。再闭合K3,音频信号声应停止。然后进行校准刻度工作。具体方法是:用一台XFG—6型高频信号发生器作为标准信号源,用一台SBT—5同步示波器鉴测。首先把标准信号发生器置于等幅工作位置,从0—1伏插孔输出,并从SBT—5的X—地端输入;再把电视中频、伴音信号发生器的K\(_{3}\)置于等幅位置,并将CZ2高频输出经示波器的探头接到Y输入。按照6.5MH\(_{Z}\)、27.75MHZ、30MH\(_{Z}\)、30.5MHZ、32MH\(_{Z}\)、34.25MHZ、34.5MH\(_{Z}\)、37MHZ等等频率分别将标准信号输入、将K\(_{2}\)分别置于Ⅰ、Ⅱ波段,由里向外钮动可变电容器C3,观看SBT—5荧光屏上的“李沙育”图形,如果呈现“O”形,说明被测仪器输出信号与标准信号频率相同,记下与之对应的角度。这样由频率低端逐点校测到频率高端,用红色线段刻上度数,使用起来就方便多了。如果有外差式数字频率计,校准刻度更好。
使用方法
1.调整鉴频器及伴音通道:用信号发生器调整鉴频器时,将万用表置于直流电压2.5伏或10伏档,信号发生器放在Ⅰ波段6.5MH\(_{Z}\)的频率上,K3置于等幅位置。信号发生器、万用表与电视机的连线尽量短一些,最好用电缆线或屏蔽线。目前电子管和晶体管电视机常用的几种鉴频器,如图3所示。根据所调电视机的实际电路,按图中实线将电压表接入电路。6.5MH\(_{Z}\)的高频信号由伴音中放栅极(或基极)输入,调节B1\(_{2}\)的磁心和半可变电容C,使电压表读数最大。然后将万用表按虚线改接,再调节B2,使万用表的读数为零。最后再检验一下,将6.5MH\(_{Z}\)信号频率增高或降低一些,这时万用表的指针应灵敏地离开零位向正反方向摆动,这样鉴频回路就调好了。如果需要作出鉴频器的频率特性曲线,可按图中虚线连接,将信号发生器从6~7MHZ每隔50KH\(_{Z}\)改变一次频率,记下所对应频率时万用表的电压读数及极性。根据这些数据,逐点描出如图4所示曲线。检查此曲线的直线部分(即AB段)其频率宽度应大于250KHZ,6.5MH\(_{Z}\)应在AB段的中点,电压为零伏。如果曲线不对称,就应仔细调整鉴频器的初级回路。


图3(c)是一种常用的单端比例鉴频器,调整时应临时外加两个电阻R\(_{1}\)、R2。电子管电视机,其阻值各为100K;晶体管电视机,其阻值各为10K。调整完再去掉。
用信号发生器调整伴音中放时,6.5MH\(_{Z}\)信号从视放管栅极(或基极)注入,万用表如图3实线连接在鉴频器上,反复调整伴音中放各回路线圈磁心,使电压读数最大。已调整好的鉴频器的回路,一般不要再动了。然后将信号发生器的K3置于调频位置,喇叭中应有500H\(_{Z}\)音频信号声。这样伴音通道就调整好了。
2.调整图象通道和各吸收回路:现以北京牌825—2型电视机为例,介绍一下调整通道的方法。其图象通道简化电路如图5所示。由于图象通道调谐回路和各吸收回路之间调整时互相有牵制,所以应配合起来调整。将万用表接在图5A、B两端,信号发生器置于波段Ⅱ,K\(_{3}\)置于调幅位置,信号由电视机混频管栅极与地之间注入,先调通道调谐回路,再调吸收回路。调整顺序应从L7到L\(_{1}\)逐级进行。先注入频率为32MHZ信号,慢慢开大对比度或适当加大输出,使万用表上有电压指示,调整L\(_{7}\)磁心,使电压指示最大。然后依次注入33.25MHZ、30MH\(_{Z}\)、34.25MHZ的信号,分别调整L\(_{5}\)、L3、L\(_{1}\)的磁心,使输出最大。调谐回路调完后,再依次注入27.75MHZ、26MH\(_{Z}\)、35.75MHZ、37MH\(_{Z}\)的信号,慢慢调整L8、L\(_{6}\)、L4、L\(_{2}\)吸收回路磁心,使输出最小。吸收回路调整完后,应检查前面调过的调谐回路频率有无变化,并可反复调整几次,直至各回路都谐振于规定的频率为止。

3.检查视放及场扫描部分:检查视放部分时500H\(_{Z}\)方波信号应从检波二极管后注入,这时在屏幕上应有黑白相间的横条,逐渐增大输出,条子的颜色应逐步加深,这说明视放工作基本正常,否则应仔细检查电路及元件。

由于此仪器有500H\(_{Z}\)方波信号输出,此信号频率正好是场频的10倍。所以,当将此信号输入到场扫描电路时,如果场频正常,在屏幕上应有10条亮带,如图6所示,并能稳定下来。如果多于10条,说明场频过低;如果少于10条,说明场频偏高。调整场频电位器,应能使亮带在8~12条间变化。另外,还可以检查场线性是否正常,调整线性电位器,应使条子上下宽穿一致。
4.整机检查:电视机调整好后,插上高频头,将此仪器放在Ⅱ波段34MH\(_{Z}\)的频率上,K3置于调幅位置。这时在距电视机一米左右的地方能够收到信号,在屏幕上有条子出现,并可听到500H\(_{Z}\)的音频信号声。调整同步旋钮,图象稳定后应有10条亮带。
要注意的是,在以上整个调整和检查过程中,信号发生器输出不应太大,电视机的对比度也不能开得太大。两者可以配合调节,使万用表有1伏左右的指示就行了。如果信号幅度和对比度太大,容易使电路产生自激,影响调整或者调节起来不太灵敏。尤其是各吸收回路的调整,只需在万用表上有一点指示就行了。(唐宗理)