电阻:图中未标出功率的电阻均用1/8瓦金属膜或碳膜电阻。亮度电位器要带开关,W\(_{4}\)用对数式,其它均用线性电位器,可调电阻器用小型碳膜式或实心式的。
电容:耦合用的电解电容容量不易太大。其余电容可用云母或玻璃釉电容。扫描部分的C\(_{24}\)~C28和电子开关中的C\(_{52}\)要求容量准确而稳定。C24~C\(_{26}\)可用金属膜电容。若容值不合适,C24、C\(_{43}\)、C53也可以各用几只电容并联代替。
电源变压器:绕制数据是①~②用线径为0.20mm的漆包线绕1750圈。③~④用线径为0.21mm的漆包线绕56圈。⑤~⑥用线径为0.14mm的漆包线绕45圈。⑥~⑦、⑨~⑩用线径为0.14mm的漆包线绕1082圈。⑦~⑧、⑧~⑨用线径为0.18mm的漆包线绕168圈。~用线径为0.53mm的漆包线绕56圈。铁心舌宽为19mm、叠厚35mm。
绕制时,应按着各线端所列标号的次序,由里向外绕制。注意次级各绕组间的绝缘,尤其是绕组~和其它绕组、屏蔽层及铁心之间的绝缘,应能长期承受1000V的高压而不击穿。绕好后应将变压器烘干、浸漆、再烘干,以增强机械强度和延长寿命。再在变压器外面用厚0.5~1mm的铜皮包成短路环或用线径为1mm的漆包线绕上1~2层且首尾相接,以抑制漏磁。然后初级加220V市电,测量次级各端子的电压应比图上注明的高10%左右。
示波管:一般为75mm(3英寸)的,如8SJ29等都行,这种小示波管一般没有第3加速阳极,如果有的话,将它接+150V。示波管要用屏蔽套罩上,可用铁皮作成两个大小不一样的套筒套在一起,两个套筒的夹层中间用硅钢片条卷绕上4~5层。
结构与安装
各电路的印制板图分别见图6、7、8、9(均为1∶1)。由于交流电源部分、负高压和显示电路的布线简单,没作印制板,而用导线直接连接。考虑到几个大型元件R\(_{41}\)~R44、R\(_{83}\)、C41、C\(_{42}\)安装在底板上的机械强度,用了几个空心铆钉见图6、图8。安装时应注意把铆钉与印制电路板上的铜皮焊牢。




整个仪器安装见图10。安装时要重视绝缘问题,尤其是负高压部分。各个系统的接地线应粗一点,各印制板线应分别接至电源板上,不要串接。底盘上只设一个接地点。应该屏蔽的引线要屏蔽良好,变压器至开关的两根线及绕组③、④至指示灯的两根线外面要包上锡纸,包得要严密,然后接地,以防对外干扰。从放大器至偏转板的线要用电视机上用的扁馈线,并尽量远离其它导电物体,以防对外界干扰,同时也不会过多增加输出回路的分布电容。

电子开关安装在一只小号铝制饭盒内,外壳接地(见图11)。从电子开关到示波器“Y输入”端的引线必须用屏蔽线。

调试
调整分以下几个步骤进行。
1.电源及显示电路部分:
先不带负载,接通电源后,检查负高压应是-1100V左右;正高压应为+220V左右。检查供给电子开关用的“正低压输出”时,可调R\(_{88}\),使输出电压为15V,然后将“正低压输出”插孔两端短路,15V电压变化应不大于0.2V。如电压波动太大,应检查稳压管、三极管BG24、BG\(_{25}\),并检查C43上的电压。然后接入显示系统,接时应注意,由于正、负高压存在,所以虽断电了,也须将电容器上的电放完,以防触电。
把四块偏转板连在一起接第二阳极9脚,接通电源,待灯丝充分预热后,检查亮度电位器W\(_{7}\)能否将光点从完全没有调到最亮。调W3检查聚焦情况,若不能将光点聚焦为直径小于1mm的圆,应检查示波管的屏蔽情况,并调整变压器放置的角度,使之最小,若W\(_{8}\)已调到头仍不能改善聚焦情况,则可改变R92试试。
2.扫描发生器和X放大器:
将扫频微调电位器W\(_{4}\)放在阻值最大处,“X选择开关”放在扫描频率最低档,其它调节电阻及W5、W\(_{6}\)放在中间位置, X偏转板接到电路中。Y放大器不接电源,在+125端另外接一只2.5K、10W电阻作为假负载,以防正高压升高。Y偏转板仍短接在第2阳极。通电后,检查电源电压,正高压应该在150V左右。此时,荧光屏上应有约5HZ的扫描信号,方向自左至右。若反了,可将两偏转板对调。调节R\(_{52}\)使W5上的压降为3.5V,调节R\(_{57}\)使光迹居于荧光屏中间,此时,BG20、BG\(_{21}\)的基极对地电压应为10伏左右。开大X幅度电位器W5,调节R\(_{62}\)使幅度最大。然后断电,拆去Y偏转板上的短接线,把一块偏转板仍接在第二阳极9脚。在两块偏转板上加上从另一变压器来的10~50V的50HZ的交流电压,同时,“同步选择”开关置于“外”档,用导线将电源部分的“电源同步信号”和“X输入”端连接起来。再开启电源,适当开大W\(_{3}\),加入同步信号,荧光屏上应出现11个稳定的正弦波。如太多或太少,可调节“频率覆盖”电阻R49。然后将W\(_{4}\)向阻值减小的方向转动,此时波形的个数应减少,当旋到最小时,应出现一个稳定的正弦波,否则可调节R49。如调R\(_{49}\)仍不能两头兼顾,应检查R47和W\(_{4}\)阻值是否准确。当出现11个波形时,调节R54使各波形间距离大小相同。然后增大波形幅度,细调R\(_{62}\),使左右两端的波形失真最小。当出现2~3个波形时,调节C23,使左端起始部分无扭曲。如根本不起振,应检查BG\(_{13}\)分压比是否太大。如幅度拉不开,应检查BG13的分压比是否太小,或BG\(_{15}\)的β是否不够大。如高频时有停振现象,应更换BG13。如高频时幅度变得太小(不到6cm),应检查R\(_{66}\)、C34,必要时可减小R\(_{66}\)或加大C34,也可以将C\(_{23}\)稍稍调大一点,或适当改变R51、R\(_{53}\)的分压比。
Y放大器:
去掉接在+125V的假负载,将Y放大器的+15V和+125V端接入电源,偏转板也接好,内同步信号输出端也与扫描发生器接好,各调节电阻和“Y移位”电位器W\(_{2}\)放在中间位置,“Y微调”W1放在最下端,“Y选择”放在空档。开启电源后,调节R\(_{16}\)及R17使BG\(_{9}\)、BG10两管的基极电位相等且为10V。调节R\(_{26}\)使两偏转板对地电压在50V左右。然后调节R10使BG\(_{2}\)发射极对地为0.5V调节R27使BG\(_{7}\)集电极对地为8.5V。在“Y输入”端加上从电源来的“试验信号”,并将“Y选择”扳向“ 1”位,荧光屏上应出现正弦波。开大W1,使波形充满屏幕,然后再调R\(_{26}\)使波形尖端失真最小。用W1将波形调至峰—峰值在4cm,然后在“Y输入”端与“试验信号”中加入一个1MΩ阻的电阻,调R\(_{12}\),使波幅减一半,即2cm,此时放大器的输入阻抗即为1MΩ。如输入阻抗调不大,则应检查BG1、BG\(_{2}\)的β是否足够大,C11是否完好。如仍不行,可适当加大W\(_{1}\)的值。然后再检查“内同步”,将“同步选择”开关扳向“内”,调节W3,检查同步是否良好。把“Y选择”放在1/100位置,W\(_{1}\)开到最大,用一节较新的干电池接在“Y输入”两端(负端接地),看光迹的瞬间偏转度,如在1.5cm就说明灵敏度正好是10mv/cm。如果灵敏度略偏低, 可将R20、R\(_{21}\)减小到91Ω或82Ω。另外,此时光迹偏转方向应向上。如向下,应将偏转板对调。调整中,如荧光屏上出现杂乱的噪声波形,把输入端接地也不能消除干扰,则应检查晶体管。衰减器待电子开关调好后再调。
电子开关:
将R\(_{94}\)、R95、R\(_{1}\)02放在中间位置,Ya、Y\(_{b}\)幅度调节(W10、W\(_{11}\))放在最下端。W12置于中间位置,W\(_{13}\)调到上端,“选择开关”放在“方波”位置,将电源接入示波器的“正低压输出”插孔,接好和示波器“Y输入”的连线。将机内扫描频率调在约几百赫,逐渐开大W13,此时荧光屏上应出现方波,调节R\(_{1}\)02使方波频率为1KHZ。将“Y选择”放在各个档位,分别调节C\(_{2}\)~C4使方波前沿无上翘和下塌现象。再配上高阻探头后调C\(_{1}\)。“1”档调C3。反复调整后,衰减器就调好了。然后调“双迹”,将电子开关电路中的选择开关K置于“双迹”,分别调R\(_{94}\)、R95,使BG\(_{26}\)、BG27发射极对地为2.5伏。将“回扫脉冲”传输线接好,示波器“Y选择”放在“1”档,W\(_{1}\)旋至最大,荧光屏上应出现两根横线,调节R109使之重合,这样电子开关就调好了。


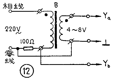
为了检验“双迹”的功能,可进行如下实验,按着图12连好线,从图中可以看到,Y\(_{a}\)是电压信号,Yb为电流信号。当变压器B(经济灯变压器)空载时,激磁电流应落后电压约90°。将图12的Y\(_{a}\)、Yb接至图5的输入端,调W\(_{1}\)0、W11,使幅度合适,两个极性开关放在同样位置,扫描频率调到25H\(_{Z}\),“同步信号”用“电源”或“内”,若荧光屏上出现图13所示的波形,Yb波形畸变是由于铁心饱和的缘故。改变极性开关,可使相应的波形倒相180°。调节W\(_{12}\)可以改变两个波形在Y方向上的相对位置。
整机调好后,即可投入使用。(丁和平)