在玻璃瓶计数器中采用光电转换电路采取得计数信号时,由于白色透明或半透明的玻璃瓶,它在遮住光源时会产生透射和折射,使光电管的“光电流”和“暗电流”变化范围较小,并使转换波形变复杂,以致造成不能正常计数。我们在生产实践中设计了一种适应透明物体的光电计数电路,下面主要介绍它的光电转换部分。
电路设计思想
1.为了消除玻璃瓶经过光电管时由于透射和折射产生的干扰信号,采用了一级单稳态电路(见方框图1),利用玻璃瓶前沿到达光电管瞬间触发单稳态电路翻转,并利用单稳态电路的暂稳期隔离光电信号,使玻璃瓶前沿以后所产生的折射和透射干扰不能进入计数电路,保证一个产品只产生一个计数脉冲。

2.计数器要求计数脉冲不能太宽,如将单稳态电路的输出直接加到计数器,会产生两次甚至多次翻转。同时为使计数脉冲获得质量较好的上升和下降边沿、一定的幅度和宽度,采用了一级积分型整形电路。
3.简化电路,统一采用5伏直流稳压电源。
工作原理

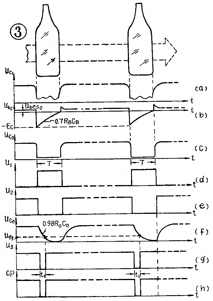
电路见图2,当传送带上没有玻璃瓶时,光电管受光直射是低阻,光电流很大,使I\(_{b1}\)≈0,BG1截止。这时u\(_{c1}\)≈Ec(+5V),使二极管D反向截止。单稳态电路的静止状态是BG\(_{2}\)饱和、BG3截止。当玻璃瓶遮光瞬间,光电管呈高阻,I\(_{b1}\)增大,BG1饱和,u\(_{c1}\)从+5V下降到0V(图3a),这个负跳变经RrC\(_{r}\)微分得到一个负脉冲,使BG2截止、BG\(_{3}\)饱和,也就是利用玻璃瓶前沿经光电管触发单稳态翻转。由于CB的放电使u\(_{b2}\)逐渐上升,当上升到BG2的导通电压时,BG\(_{2}\)才重新导通(图3b),电路又迅速恢复到静止状态。而此期内由于Ub2很负,玻璃瓶折射和透射干扰对截止管BG\(_{2}\)不起任何作用,起到了抑制干扰信号的作用,使得一个玻璃瓶只触发一次单稳。

积分型整形电路用五块7MY13型集成电路与非门以及R\(_{0}\)、C0组成。常态时因BG\(_{3}\)截止,uc3≈E\(_{c}\),YF1输出u\(_{1}\)为低电平“0”,YF2、YF\(_{3}\)输出(u2、u\(_{3}\))都为高电平“1”(图3c、d、e、g),电容C0被充电至u\(_{c}\)(图3f)。当玻璃瓶前沿到来时,单稳电路翻转,uc3≈0,u\(_{1}\)=“1”,虽然使YF2输出为“0”,但是C\(_{0}\)经R0和YF\(_{2}\)的放电需要时间,uc0不能突跳为“0”。所以YF\(_{3}\)的两个输入全为“1”,输出u3为“0”。此后C\(_{0}\)的放电使uc0逐渐下降到YF\(_{3}\)的关门电平(图3f中的ug3),YF\(_{3}\)输出U3又立即为“1”。此后经YF\(_{4}\)、YF5整形获得计数脉冲CP(图3h),其宽度t\(_{1}\)由R0C\(_{0}\) 决定。
几点说明
1.因玻璃瓶透明,使光电管的光电流和暗电流变化范围较小,为使BG\(_{1}\)可靠饱和、截止,电位器Rw的调节十分重要。BG\(_{1}\)截止条件:
I\(_{b1}\)=Ec-u\(_{b1}\)Rw+R\(_{b1}\)-IL≤0
即:R\(_{w}\)+Rb1≥\(\frac{E}{_{c}}\)-ub1I\(_{L}\)≈Ec;I\(_{L}\)
式中I\(_{L}\)为光电管光电流BG1饱和条件:R\(_{w}\)+Rb1≤(0.9~0.6)β\(_{min}\)Rc1
式中:β\(_{min}\)为20;Rc1为2KΩ所以R\(_{w}\)的选值应在:EcI\(_{L}\)≤Rw+R\(_{b1}\)≤(0.9~0.6)βminR\(_{c}\)范围内。
2.单稳态电路R\(_{B}\)CB的取值。单稳延迟时间T取决于产品传送带速度和产品直径,也就是玻璃瓶经过光电管所需的时间,T过大会引起下一个产品的漏计,过小则不能完全抑制干扰信号,一般选择:
T=0.7R\(_{B}\)CB=(1~1.1)\(\frac{d}{v}\)×6×10\(^{4}\)(ms)
式中v为传送带速度,单位米/分;d为产品遮光直径,单位米。
同时R\(_{B}\)应满足BG2饱和的条件,即R\(_{B}\)=βminR\(_{c2}\)1.5
根据以上两式,先选定R\(_{B}\),再选取CB值。
3.积分整形电路C\(_{0}\) 、R0的取值。计数脉冲(CP)宽度t\(_{1}\)不能小于计数器翻转时间,也不能大于T值。一般取t1=0.98R\(_{0}\)C0。R\(_{0}\)一般取200~330Ω,C0应根据计数器而定,若采用中、低速触发器作计数器,一般取C\(_{0}\)=0.01~0.0047μF。(泸州玻璃厂 杨晓)