当前集成运算放大器(以下简称运放)的品种、型号很多,能适应各种不同的需要。但它们的内部电路却有很多共同之处。下面我们就集成运放内部常用的各种单元电路作一简单介绍,为分析各种集成运放的整体电路打下基础。
差动输入电路
在集成电路中,不仅可以做出性能一致的晶体管对,并且由于一对晶体管靠得很近,而且通过衬底连在一起,所以“对管”的温度特性也一致,加上“对管”是装在一个管壳内,外界干扰相当于共模输入,能够被抑制,因此集成运放几乎无例外地采用差动输入电路。
简单的差动输入电路如图1a所示,其中BG\(_{1}\)、BG2为差分对管,输入信号加到(1)、(2)两端,输出信号由(3)、(4)两端引出。实际的差动输入电路,发射极电阻R\(_{e}\)均用恒流源代替,见图1b。有些电路为提高β值以便进一步减小输入电流,提高电路的输入阻抗,常用NPN管组成复合差动放大器,如图2a所示。图中BG1、BG\(_{3}\)和BG2、BG\(_{4}\)均为NPN-NPN复合管,这种复合管也叫达林顿管。我们把BG1、BG\(_{3}\)单独画出来,见图2b。图中Ib1为复合管的输入电流,I\(_{C}\)为输出电流,不难证明,IC≈β\(_{1}\)β2I\(_{b1}\),因此BG1、BG\(_{3}\)就相当于一个高β值的晶体管,其β=β1·β\(_{2}\)。


还有些输入电路采用NPN一PNP复合管电路。这又是为什么呢?为了说明这个问题,我们先看图3a。该图是一个普通差动电路的一部分,设输入信号V\(_{i}\)=7伏,则Vbe1=0.7伏,而V\(_{be2}\)=(7-0.7)伏=6.3伏,且为反向电压。这样大的反向电压有可能使BG2的发射结产生反向击穿,因此对于这种普通差动电路,两个基极之间的电压一般不能超过7伏,这个指标通常称为差动输入电压范围。图3b是采用NPN-PNP复合管的差动输入电路的一部分,其中PNP管(BG\(_{3}\)、BG4)在集成电路中做成所谓“横向”管,这种管子的β值很小,特征频率也比较低,但是它的eb结和bc结的反向耐压很高。差动输入信号加到(1)、(2)两端,当(1)端为正、(2)端为负时,(1)、(3)两点为正向电压,(2)、(3)两点为反向电压,由于BG\(_{4}\)管的反向耐压高,所以允许输入的差动信号就大,提高了差动输入电压范围。

恒流源
恒流源在集成运放中是应用最多的一种电路,它除了代替差动输入级中的发射极电阻R\(_{e}\)之外,还常用作有源集电极负载、给晶体管提供稳定的偏置电流以及用在双端信号变单端信号的电路中。下面介绍恒流源的工作原理和各种电路型式。
图4a是一个恒流源电路的原理图,图4b是它的常用符号。图4a中,晶体管的基极加有固定偏压Eb,因此它有固定的基极电流。我们知道,只要晶体管的基极电流一定,其集电极电流I\(_{C}\)随Vce的变化就很小,近似于恒定,所以可以看成是一个恒流源。这一点由图4c所示的晶体管的输出特性曲线(因基流固定,所以只有一条曲线)也能明显地看出来。在工作点A处,交流电阻R\(_{AC}\)=Vce/I\(_{C}\)。由于该曲线B点以后的平坦部分几乎和横座标轴平行,大的Vce的变化只能引起很小的I\(_{C}\)的变化,所以RAC很大。R\(_{AC}\)越大,说明其恒流特性越好。恒流源的直流电阻RDC=V\(_{ceA}\)/IcA,这个数值远远小于其交流电阻。正是由于这些特点,恒流源电路才得到较多的应用。

图5a所示的恒流源用二极管D代替了基极电源E\(_{b}\),该电路的优点是二极管D可以起温度补偿作用。这可以用图5b所示的晶体管BG随温度而变化的输入特性曲线来说明。当环境温度升高时,例如从25℃上升到50℃,晶体管的输入特性曲线就由(1)变到(2),如果这时晶体管BG的eb结外加电压不变,象图4a那样,则其基极电流必从I1上升到I\(_{2}\),从而使IC也随着增加,这就破坏了恒流源的性能。如果当温度升高时,外加电压也从V\(_{1}\)减小到V2,则I\(_{b}\)将保持I1的值不变。图5a中二极管D上的压降就是晶体管的基极偏压,当温度升高时,这个压降也相应减小,这就保证了晶体管基极电流的恒定,因而其集电极电流也恒定,达到了恒流的目的。

实际的恒流源多采用图6所示的电路。图中晶体管BG\(_{1}\)、BG2的eb结相并联。由于BG\(_{1}\)、BG2的特性一致,而且它们的基射极电压任何时候都相等,所以I\(_{b1}\)=Ib2=I\(_{b}\),Ic1=I\(_{0}\)。由图还可以看出,IR=I\(_{c1}\)+2Ib,而基流I\(_{b}\)相对于IR来说很小,可以忽略,所以I\(_{R}\)≈I0。其中I\(_{R}\)是参考电流,它的大小由电阻R决定,I0则为恒流源的工作电流,I\(_{R}\)与I0总保持相等,I\(_{R}\)不变,IO也不变,因此I\(_{0}\)是一恒流源,但是当IR变化时,I\(_{0}\)将随着变化,就象物体在镜子前面运动时,像也跟着运动一样,所以常把图6的电路称为“电流镜”或“镜像电路”。

当要求工作电流I\(_{0}\)与参考电流IR不同时,一般采用图7的电路。图中
I\(_{e1}\)R1+V\(_{be1}\)=Ie2R\(_{2}\)+Vbe2
当管子的β足够大时,I\(_{e1}\)≈IR,I\(_{e2}\)≈I0,所以I\(_{R}\)R1+V\(_{be1}\)=IOR\(_{2}\)+Vbe2。
一般V\(_{be1}\)与Vbe2近似相等,所以当I\(_{R}\)R1比V\(_{be1}\)、I0R\(_{2}\)比Vbe2大很多时,则
I\(_{R}\)I1≈I\(_{0}\)R2,I\(_{0}\)=IRR\(_{1}\)/R2
改变R\(_{1}\)和R2的比值即可改变两管的电流比。
有些电路要求一个参考电流带动几个工作电流,如果仍然象图6那样,直接由参考电流I\(_{R}\)供给各晶体管基流,则参考电流与工作电流误差较大,而且带的工作电流数目越多,误差就越大。为了解决这一问题,通常都加一级射极跟随器,如图8中的BG1。图中I\(_{c}\)=I01=I\(_{0}\)2,IR=I\(_{C}\)+Ib。这就是说,I\(_{R}\)只比IC多一个I\(_{b}\),而这个Ib相对于I\(_{C}\)、IR来说又很小,可以忽略,所以I\(_{R}\)与I01、I\(_{0}\)2等相差极小。

双端变单端转换电路
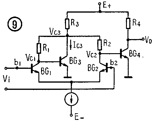
差动放大器一般都是双端输入、双端输出,然而为了和后级连接方便,又必须把双端输出信号变成单端输出信号(一端接地)。像图1所示的电路,如果输出信号不是从(3)、(4)两端引出,而是由(3)或(4)端对地引出,当然也能得到单端输出信号,但是这样作其电压放大倍数将只有双端输出的一半。为了把双端信号变成单端信号而又不损失放大器的增益,有些运算放大器采用图9所示的电路。图9电路工作原理如下:当一个差动输入信号使V\(_{b1}\)为负、Vb2为正时,则输出V\(_{C1}\)增加、VC2减小。由于V\(_{C1}\)增加,流过BG3的I\(_{C3}\)也增加,IC3流过公共电阻R\(_{3}\),使VC3减小,而V\(_{C3}\)又通过电阻R2加到BG\(_{2}\)的集电极上,从而促使VC2进一步减小,即增大了BG\(_{2}\)的输出。总之,由于BG3的反相作用,把BG\(_{1}\)的放大作用也加到BG2的输出上,从而提高了差动放大器单端输出的放大倍数。如果是共模信号输入,电压V\(_{C1}\)、VC2同时增加(或减小),V\(_{C1}\)的增加经BG3反相以后,却使V\(_{C2}\)减小,正好和原先VC2的增加作用相反,所以对共模信号能够加以抑制。


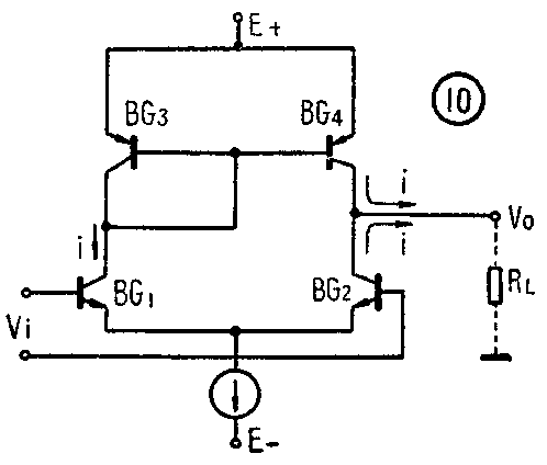
图10是利用有源负载将双端信号变单端信号的一种电路。图中BG\(_{1}\)、BG2构成差动放大电路,BG\(_{3}\)、BG4是一对特性对称的管子,分别作BG\(_{1}\)、BG2的有源集电极负载。当输入的差模信号使BG\(_{1}\)集电极电流增大i时,BG2集电极电流将减小i。对BG\(_{1}\)、BG2管来说,i增大的方向应流入集电极,i减小的方向流出集电极。另外,当BG\(_{1}\)集电极电流增大i时,BG\(_{3}\)集电极电流也必然增大i,BG4电流也随着增大i。对BG\(_{3}\)、BG4来说,i增大的方向为流出集电极,这样在负载R\(_{L}\)上电流的改变将为2i,表明采用有源负载将双端信号变单端信号时,增益并没有损失。
有源负载放大器
集成运放都要求有很高的电压放大倍数,这主要是靠中间放大级来实现。为了尽可能提高这一级的放大倍数,放大管一般用恒流源作负载,叫作有源负载。有源负载为什么能提高电压放大倍数呢?我们知道,晶体管放大器的电压放大倍数与负载电阻大小成正比,因此,为了提高放大倍数,就应设法提高负载电阻R\(_{C}\)。但是在集成电路中,制造大电阻有困难,而且,在电源电压一定时,集电极电阻过大,将使晶体管直流工作点变低,仍然不能提高放大倍数。前边谈过,恒流源直流电阻较小,交流电阻很大。用它作集电极负载,既能起到一个大电阻的作用,又不会使直流工作点降低,因此比较理想。图11a是有源负载放大器的原理电路,其中BG2是恒流源,它就作为放大管BG\(_{1}\)的负载。图11b画出了放大管BG1的输出特性曲线族和两条负载线,曲线a是用电阻作负载的负载线,曲线b是有源负载的负载线。其实曲线b就是负载管BG\(_{2}\) 的一条输出特性曲线,只不过将它翻转了180°。因为BG2的eb结偏置电压是固定的,所以只应画出它的一条输出特性曲线。为了保持两负载线直流工作点一样,从而保证一定的电压输出范围,电阻负载线(曲线a)则必须很陡,说明负载电阻较小。显然,为得到相同的输出电压,例如从V\(_{ce}\)′→Vce″,采用电阻负载的放大管的基流必须从1μA→11μA,而有源负载放大管的基流只需从5.5μA→6.5μA,说明有源负载放大器的放大倍数比电阻负载高得多。

直流电位移动电路
运算放大器是一个高增益直流放大器,我们要求这种放大器在输入为零电位时,输出也是零电位。但由于电路采用直接耦合方式,信号从基极输入,集电极输出,而NPN管的集电极电位总比基极电位高,经几级放大后,输出直流电位不断升高,这样就不能使输出端得到所要求的零电位,输出电压的范围也因此减小。为解决这一问题,在集成运放中都加有电位移动电路,目的是把升高的直流电位降下来,但信号电压不能受损失。
用简单的电阻分压器可以降低直流电位,如图12a所示,但信号要受到同样的衰耗,因此不可取。如果用直流电阻小,交流电阻大的恒流源代替图12a中的电阻R\(_{2}\)(见图12b),则能大大降低直流电位,而交流信号基本上不受损失,因此比较理想,用得很多。一个硅二极管在导通时其结电压为0.7伏左右,也可用来作为电位移动电路,可以用串接二极管的个数来控制移动电压的大小。此外,在NPN管电路中,同时使用PNP管,也能方便地进行电位移动,见图12c。图中直流电位VB>V\(_{A}\),但由于BG2为PNP管,因此V\(_{C}\)<VB,达到了电位移动的目的。

输出级电路
输出级常用的电路叫作互补射极跟随器,见图13a。该电路一般都有较大的电流输出能力。图中BG\(_{1}\)为NPN管,BG2为PNP管。当输入信号为正时,BG\(_{1}\)导通、BG2截止,电流为I\(_{L+}\),RL上得到正向电压输出;输入为负时,BG\(_{1}\)截止、BG2导通,电流为I\(_{L}\)-,RL上得到负向电压输出。该电路有一明显缺点,就是当输入信号小于±0.7伏时,BG\(_{1}\)与BG2都不导通,运放的输出电压为0。图13b就是这种输出级电路的电压传输特性曲线,显然在V\(_{i}\)小于±0.7伏时,曲线出现了一段平坦部分,称为“死区”。由于死区造成输出电压VO在跨越零点时出现的失真称为“交越失真”。为了克服交越失真,在实用电路中又增加了两个二极管D\(_{1}\)、D2,见图14a。这样,末前级BG\(_{3}\)的工作电流IC3在D\(_{1}\)、D2上各产生0.7伏左右的压降,它使BG\(_{1}\)、BG2在V\(_{i}\)=0时也处于导通状态,从而使BG\(_{1}\)、BG2合成的输出级的电压传输特性曲线具有理想的跟随特性,见图14b,不再有死区存在。



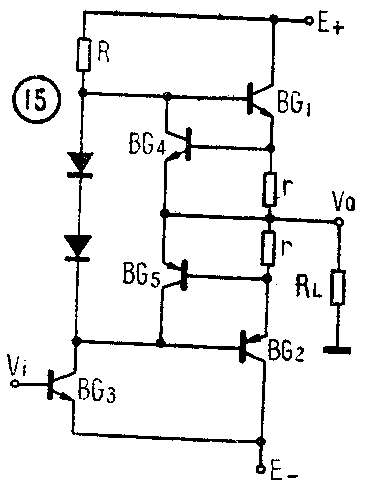
图15是在图14a的基础上又增加了两个晶体管BG\(_{4}\)、BG5及两个小电阻r,起过流保护作用。正常工作时BG\(_{4}\)、BG5均截止,当输出电流过大时,电阻r上所产生的压降足以使BG\(_{4}\)、BG5导通,从而起到分流作用,保护了输出管。(易明銧 丁)