要想使音箱播出的声音优美、动听,单靠一只低音扬声器不行,还必须配备有质量较好的高音扬声器。根据实践得知,要想使所听到的音乐在低音和高音范围内有相当满意的平衡,应当要求所播放乐音的有效频率范围,其上限和下限频率的乘积大约为800000。例如:150赫~5500赫;80赫~10000赫;50赫~16000赫等。
一般口径不小于300毫米(12英寸)的扬声器能放出40赫左右的低音;但要想播放出10000赫以上的高音,普通纸盆扬声器就很难胜任,需要采用专用高音扬声器。本文讲讲动圈纸盆高音扬声器的结构特点及其使用经验。
结构特点
纸盆高音扬声器的基本结构与普通纸盆扬声器大同小异,参看图1。磁体是使磁路空气隙产生永久磁场的磁源。它是用强磁性的永磁铁氧体材料制成的。永磁体的磁性越强越好;场心为圆柱体;上、下夹板为扁圆体。场心与上夹板之间形成了一个空气隙,磁力线最大限度地集中在这里,它是音圈运动的空间。为了减小磁路的漏磁,上夹板的直径应略小于磁体的直径。导磁金属件多用低炭钢材料制成。
动圈式纸盆扬声器多为低阻抗,再加上高音扬声器音圈的线径相当细,就使得音圈的有效长度较短。因此音圈的效率很低。使用强磁性的磁体并尽量减小磁路漏磁,可以充分提高磁路的效率;以弥补音圈效率低的缺点。对于纸盆高音扬声器来说,要求它的空气隙的磁通密度应大于12000高斯。

振动系统是由纸盆、音圈和定中心片等零件组成的(见图2)。纸盆的设计和制造工艺对扬声器的质量起着关键作用。如果纸盆不存在分割振动现象(即纸盆锥体每一小部分不能保持同样程度的振动而产生的局部振动现象),则纸盆口径越小,越容易在高频时获得宽阔的指向性。但纸盆太小也会带来一些缺点:一方面使扬声器的谐振频率太高,于是与低音扬声器组合时的分频频率也必须取得足够高,这就可能带来音质上的缺陷。另外,口径太小时,音圈的直径也必然较小,而且线径也细,这样的振动系统就不能承受必要的输入功率。高音扬声器纸盆的有效直径通常选择在50~70毫米之间。
在确定纸盆锥体的大小两个口径的同时,还要决定纸盆的半顶角a。a角确定后,纸盆高度H也就确定了。从图3可看出,a角增大时,盆高H会减小,此时纸盆刚性较大,失真较小,承受的功率也较大;a减小时,盆高H增大,此时纸盆刚性变小,声音失真会增大,承受的功率也会减小。为了增加纸盆刚性,减小纸盆在某些频率时的分割振动而产生的失真,高音扬声器纸盆母线的形状常做成曲线形(见图4),此时的半项角β\(_{1}\)要比做成直线形时的半顶角β2小。

音圈是音频信号电流的直接承受体。音圈导线一般使用铜漆包线。因为高音扬声器的频率范围主要由振动系统的有效质量来决定,有效质量越小,频率特性的高音域越宽,所以比较高级的高音扬声器也常用铝线(铝的比重比铜小许多)来绕制音圈。
定中心片是振动系统的支撑体,还可防止振动系统的径向运动。一般它是用纤维织物经过浸胶处理再用模具热压成形的。其断面呈皱折状,可使轴向有良好的顺性。由于高音扬声器纸盆振幅较小,因此定中心片上皱折的个数也可少一些。
纸盆高音扬声器常采用没有开孔的铁盆架(见图5),这样可使纸盆背面与盆架之间形成一个封闭的空腔。其主要作用是:

1.使纸盆背面辐射的声波,无法扩散到盆架之外的空间,从而对纸盆背面形成一个反作用力,这个力在声电类比线路上相当一个声阻抗。它能提高振动系统的谐振频率,这有助于扬声器更好地辐射高频声波。
2.纸盆高音扬声器往往和低音扬声器共同组装在一个助声箱内。没有开孔的铁盆架,能防止低音扬声器纸盆背后所辐射的声波对高音扬声器纸盆背面所产生的有害干涉。
怎样正确使用高音扬声器?
1.如果用户的声源是普通的收音机(五灯电子管收音机或与其相当的晶体管收音机),频率范围的高音界限一般在6000赫左右,此时作为放声用的扬声器,只要选用市场上普通的纸盆扬声器就很适用,不必选用高音范围较宽的扬声器。它常在音箱当中和低音扬声器配合运用,以播送来自优质扩音机、收音机和录音机的信号。
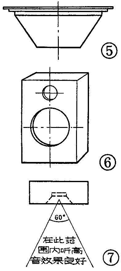
2.在助声箱的面板上,习惯把纸盆高音扬声器安装在低音扬声器上方,两只扬声器成直线排列(见图6)。如果助声箱较小,面板上的位置不便于高、低音扬声器成直线排列时,也可以把高音扬声器安装在低音扬声器的左上方或右上方。高音扬声器距离低音扬声器不要太远,否则在室内近距离收听节目时,会产生高音与低音有分离的感觉。另外,高音扬声器的安放高度,应和听者坐在椅子上时的耳朵的平均高度差不多,大约为1.1米。并且听者坐在高音扬声器前60度水平角的范围内收听为好(见图7)。
3.家庭用助声箱的前面板厚度应在10~20毫米之间。高音扬声器不应从音箱里面装在面板上(如图8a),否则由于面板厚度而形成的一圈硬光面圆框,会使纸盆所辐射的声波受到有害的反射(如图9),这种现象叫空腔效应。它给人耳朵的实际感受是音量稍弱并且声音有“卷缩”在后面的印象。正确的安装方法应该是从助声箱外面装到面板上(见图8b)
4.在组合扬声器箱中,高、低音扬声器分频点的选择与多方面因素有关,这里仅讲讲它与高音扬声器谐振频率的关系。一般说来,分频频率应选在高音扬声器的谐振频率的一个倍频程以上为好。例如,当谐振频率为1000赫时,分频频率应选2000赫以上。

5.高、低音扬声器在组合使用时,有的高音扬声器的灵敏度高于低音扬声器的灵敏度(可从主观试听来判断),使得频率特性不平衡(如图10①),这时必须降低高音扬声器的灵敏度,使高、低频特性平衡(见图10②)。

最简单的办法是在高音扬声器的线路里串上一个固定电阻器,见图11(a)。这种办法的缺点是串入电阻后破坏了分频网络的阻抗匹配,使失真增大一些。改进办法是在高音扬声器线路里增加一个衰减网络(如图11(b)),改变图中R\(_{1}\)、R2的数值,可得到不同的衰减量。表1给出了四种衰减情况,可供参考。表1中电阻的功率取1瓦即可。如果在业余条件下找不到阻值很小的电阻,可多用几个电阻用串、并联的办法得到。

两种动圈纸盆扬声器的区别
经常有同志问:一般晶体管收音机中用的小型动圈纸盆扬声器,口径也很小,是否能作为小高音扬声器呢?回答是不能,因为虽然它们基本结构相似,但性能却有明显的区别。主要有:
1.如前所述,为了提高磁路效率,高音扬声器采用强磁性的磁体或磁钢,磁路系统处于饱和状态(即导磁金属件中的磁通密度已达最大值),空气隙的磁通密度一般大于12000高斯;而一般扬声器使用普通的磁体或磁钢就能满足要求,其磁路系统处于欠饱和状态,空气隙的磁通密度一般为5000~8000高斯。
2.高音扬声器的纸盆锥体母线为曲线式,能尽量减小纸盆的分割振动现象。并且纸盆较轻,轭环的刚性大:一般扬声器的纸盆锥体母线是直线式的,因为功率小,所以分割振动也不大。它的纸盆偏重,轭环的刚性小。
3.高音扬声器的谐振频率很高,设计在1000赫~3000赫之间,以保证辐射频率高的声音,频率响应的高频端均大于10000赫;而一般扬声器的谐振频率低,设计在200赫~400赫之间,能辐射出频率较低的声音,频率响应的高频端通常均低于10000赫。

表2给出了北京第一无线电器材厂生产的几种高音扬声器的参数,供参考。(王义善)