用分立元件组装的电路,当其中某元件损坏时,换上一个相同规格的好元件就行了。集成电路是将许多元件制作在一块电路内的,只要其中某一部分损坏,整块集成电路就要报废。通过实践,我找出了一个用万用表检测5G37质量好坏和查找具体故障的办法,并摸索出一些具体修理经验。本文先只讲故障检测办法,如何修理,下次再讲。
内电路的分组
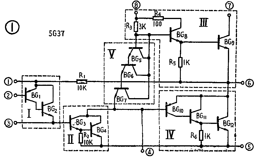
为了分析方便,我们将5G37原电路画成图1的形式。然后围绕引出脚将电路分成五组(见图1中虚线部分),这五个组都可以分别等效成一只简单的半导体三极管(PNP型或NPN型)或二极管,如图2所示。图1中的第Ⅰ组是输入放大级,BG\(_{1}\)、BG2是两只异极性复合管,可等效成一只PNP型三极管;第Ⅱ组是驱动级,可将BG\(_{3}\)、BG4两只NPN型三极管和一只10千欧电阻等效成一只NPN型三极管;第Ⅲ组可等效成一只NPN型三极管;第Ⅳ组可等效成一只PNP型三极管。第Ⅲ组、第Ⅳ组又组成了准互补乙类输出级;第Ⅴ组是次要部分,它的三只NPN型三极管(BG\(_{5}\)、BG6、BG\(_{7}\))可等效成一个正向电压为1.8~2.1伏箝位二极管连。通过这样地分析和等效以后,我们就可以用万用表像检查普通半导体三极管一样去检查集成电路内部各部分的质量了。


测试原理简述
在以前的一些文章中,我们曾经讲过用万用表测试晶体三极管PN结的好坏及估测管子放大能力的方法,这些方法在这里也是适用的。可用万用表测量各组等效PN结的正反向电阻来判断各组电路的好坏。例如对第Ⅱ组来说,如果是好的,当用负表笔接③脚,正表笔接④、⑤脚(万用表拨在R×1K档)时,表头均应指示小电阻;将表笔反过来测量时均应指示大电阻。而测试④、⑤脚之间的电阻时,④脚接正表笔、⑤脚接负表笔时应大于5千欧,反过来测量时应大于100千欧。这种测量结果与测单个晶体管不同,这是由于集成电路与分立元件组成的电路在结构上有明显的不同,它的内部有许多连线已经使电路形成了环路,所以集成电路等效三极管C—E之间的电阻,可能没有普通三极管那样大,通常为几十千欧或几千欧。我们要求这个电阻值只要大于零就算正常。又由于集成电路内部三极管的β值均比较低,且大多数连接成复合管形式,所以等效三极管的发射结电阻也比一般三极管大。可用万用表的R×10或R×100档测量等效三极管的发射结正、反向电阻,只要正反向有电阻差就算正常(一般正向电阻比反向电阻小许多倍)。
对于某些结构的电路,如第Ⅰ组来说,虽然可以用万用表判断出发射结的好坏,但测量集电结时,因为是两个反极性管串联,正、反向电阻可能都很大,不好做出判断。在这种情况下,可用测量等效三极管β值的办法间接测量出集电结的好坏来。由于复合管的β值较高,很容易测试。如果β值正常,说明这一组是好的;如果β值不正常,又知道发射结是好的,就可断定是集电结有问题。
测试等效三极管的放大能力和测试一般晶体三极管也是相似的。例如图3是测试5G37第Ⅰ组放大能力的接线图和等效原理图。当正表笔接③脚、负表笔接①脚,左手拇指同时按在②、③脚上时,相当于通过人体电阻给三极管加一个偏流,如果此时表针由2000千欧变化到20千欧,就说明第Ⅰ组是好的。

对于第Ⅲ组电路来说,表面看来似乎不容易等效成一只三极管,也不容易估测β值。其实也是可以的。如图4所示,当正表笔接⑥脚、负表笔接⑦脚并用手指按在⑦、⑧脚上时,从万用表内电池正极流出的电流,通过人体电阻再经R\(_{4}\)(100欧)流向BG8的集电极,并且经R\(_{3}\)(3千欧)流向BG8的基极,R\(_{3}\)就相当于BG8的偏置电阻。当有一个基极电流I\(_{b8}\)时,BG8集电极回路就产生一个被放大了的集电极电流I\(_{c8}\)=β8·I\(_{b8}\),因为Ic8≈I\(_{e8}\),从而就产生了Ib9,又因I\(_{c9}\)=β9·I\(_{b9}\),所以Ic9>I\(_{b8}\)。显然电流有了明显地变化,此时万用表读数由500千欧变化为50千欧,第Ⅲ组电路也就相当一只NPN三极管了。

测试方法
1.光测试一下5G37功率放大级的质量。用万用表R×1K档,正表笔接集成块⑤脚,负表笔接⑥脚,此时电阻值应大于50千欧(一般约为几百千欧);正负表笔位置对换时,阻值应大于2千欧;正表笔接⑥脚,负表笔接⑦脚或者反向测试时,电阻值均应大于100千欧。达到上述要求时,功放级可能是好的,否则可能是质量不好。有少数5G37,由于功放级漏电流大,所以测量的电阻值都很小,那就只能用实际通电试验的办法来判断了。
2.测量5G37各放大级的质量。用万用表R×1K档,用右手拿表笔,正笔接⑤脚,负笔接⑥脚,电阻值应大于100千欧。右手不动,然后再用左手姆指同时按在③、④脚上(注意测量时手不要碰散热片或其它引出脚),相当于在③、④脚之间并联上一个电阻,万用表指针指示应为30千欧左右,抬起左手姆指时指针应回原位。达到上述要求时说明第Ⅱ组、第Ⅳ组是好的,否则可能有问题。在保持正笔接⑤脚,负笔接⑥脚的情况下,再用左手同时捏住5G37的散热片及第②脚,万用表指针应正偏,指示在30千欧左右。放开左手,指针复位。这样就说明5G37的Ⅰ、Ⅱ、Ⅳ组是好的。
3.正表笔接⑥脚,负表笔接⑦脚,万用表指示应大于100千欧。将左手手指稍蘸湿,同时按在⑦、⑧脚上(或用舌尖同时舔⑦、⑧脚,也可在⑦、⑧脚之间直接接一个200千欧电阻),指针应正偏,电阻值约为50千欧左右,这就说明第Ⅲ组是好的。以上三步测试均符合要求,就说明整块5G37质量优良。有的业余级的5G37集成块,因为第Ⅰ组的电压放大倍数很小,所以在进行上述第3步测量时,可能万用表指针变化不大,这样的集成块也可以用,只是开环增益低些。
表1中列出了用万用表测试各组放大能力的接线方法及表针应变化的规律。如果表针按表1中的规律变化(注意:有少部分5G37变化范围小些),说明所测等效三极管性能是好的,否则就有问题。
表1
组别 电 路 万用表表笔 供 偏 指 针 变 化
正 负 流 端
Ⅰ 见图2Ⅰ ③ ① ② - ③ 2000K→20K
Ⅱ 见图2Ⅱ ⑤ ④ ③ - ④ 1000K→50K
Ⅲ 见图2Ⅲ ⑥ ⑦ ⑦ - ⑧ 500K→50K
Ⅳ 见图2Ⅳ ⑤ ⑥ ④ - ⑤ 200K→20K
注:①指针变化的前一个数值为未加入偏流时的数值;
②上列数值是用500型万用表测量的。
整体功能试验
经过上面几项测试后,如果没有发现什么问题,还应进一步粗测一下集成块的整体功能。可将5G37接入图5所示电路。测试步骤是:

1.将稳压电源调到15伏,合上开关K,电流表A的指示应小于50毫安。如果远大于50毫安,例如达到150~200毫安,应降低电源电压使用;如果电流表指示较小,则可提高稳压电源电压。在电流表读数为50毫安(或稍小于50毫安)时的电源电压,就是这一块5G37最合适的工作电压(一般小于24伏)。
2.将万用表的10伏档接到图5中的B、D端,将电位器W顺时针调节到头,此时U\(_{B}\)应为12伏左右;逆时针旋转电位器到底,UB应为8伏左右。如果调节电位器W时U\(_{B}\)不变,可将R1与W的公共端改接到集成块的第③脚,②脚甩空。然后调节W,如果U\(_{B}\)发生变化,则可能是第Ⅰ组有问题;如果UB不变,可再把R\(_{1}\)与W的公共端改接到第④脚,调节W时如果UB变化,则说明第Ⅱ组有问题(注意改变接点时应断开开关K)。
读者可依据上述办法去分析、测量其它功率集成电路,如常作为稳压电源用的W2等。(林永恩)