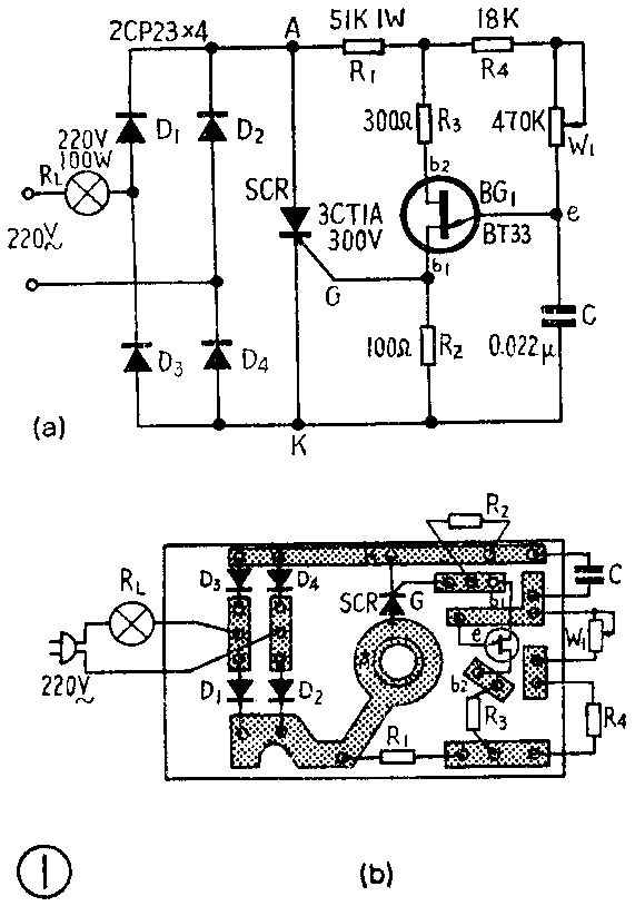
做一个简单的电子电路来调节加到灯泡上的电压,可以很方便地控制台灯的亮度以适应不同的照明要求。图1a就是电子台灯的基本电路,它实际上是一个可控硅调压电路。图1b是印刷电路板图。

交流市电由二极管D\(_{1}\)~D4整流后,加在可控硅SCR的A、K两端的电压是一种正弦脉动直流电压。这个电压再由限流电阻R\(_{1}\)降去一部分,然后供给触发电路作为直流电源和同步电压。单结晶体管BG1和阻容元件R\(_{4}\)、W1、C等组成弛张振荡器式触发电路。在每半个周期内,当电容C上的充电电压u\(_{c}\)达到单结管的峰点电压UP时,单结管就由截止变导通,电容C的放电电流在R\(_{2}\)上形成一个尖脉冲,送到可控硅的栅极作为触发信号,可控硅导通,于是即有电流流过灯泡RL和可控硅SCR,电流的大小由R\(_{L}\)的大小来决定。可控硅在导通后,其A、K间的正向降压很小(约1伏),所以此后触发电路停止工作。电源电压过零点时,可控硅关断。待到下一个半周期开始时,电容C才又得以重新充电,重复以上过程。在电源电压过零点时,C上的电压也将为零,这就使触发信号与电源能够实现同步。电路的工作波形如图2所示。

调节W\(_{1}\)可以改变在每半个周期内可控硅导通时间的长短,从而控制了供给灯泡的功率,也就是调节灯泡的亮度。例如:当W1调到阻值比较大时,电容C充电电压到达U\(_{P}\)的时间就比较长,因而可控硅的导通角θ就比较小,灯泡的亮度(它与图中“阴影区”的面积成正比)也就较小;反之,当W1调到阻值比较小时,“阴影区”的面积就大些,灯泡也就亮些。
实际调试时可能遇到这样一种现象:在W\(_{1}\)逐渐调小时灯泡亮度逐渐增加,但当W1进一步调小时灯泡却突然完全熄灭了。这是因为R\(_{4}\)的阻值取得太小所致。如果R4阻值选得太小,则当W\(_{1}\)调到最小时,单结管一经导通就不能截止,所以触发脉冲也就无法产生,可控硅将完全截止。为使电路正常工作,必须选用适当阻值的R4。

也可以用一对互补晶体管来代替单结管组成触发电路,如图3所示。BG\(_{1}\)管和BG2管的集电极和基极互相耦合,因而构成正反馈闭环,只要电路元件的数值选得合适就可产生弛张振荡。其中BG\(_{2}\)应尽可能选用β值小些的,如果没有,可将其集电极与发射极互相对调然后接入。
这种电路也可用于交流电动机的调速。例如,对于16英寸以下的台式电风扇,只要将图1电路中的负载R\(_{L}\)由灯泡改为风扇马达,电位器W1改用100KΩ,就可以方便地实现风扇的平滑无级调速,调节W\(_{1}\)可使马达由爬行速度直至通常的最高转速。作者还对一台转速过快的C691型电唱机作过试验,用图1电路并以W1作为转速微调即可获得合适的转速,唱片因转速过快而引起的声音失真被消除了。(许国殷)