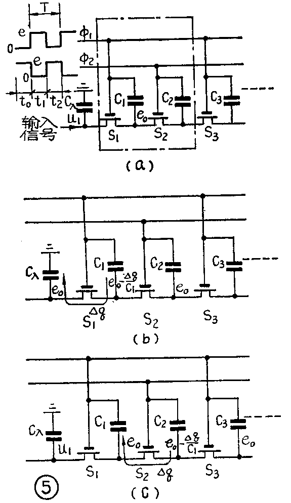
斗链器件的电路如图5。图中只画了斗链器件的三个节,每节由当作电子开关的绝缘栅场效应管S和存贮电容器C组成。在时间t\(_{0}\)期间,时钟φ1为0,φ\(_{2}\)为e。若场效应管为n沟道型,左端为源极,右端为漏极,则S2导通(当然S\(_{4}\)、S6……也导通),C\(_{1}\)被充电到e0(C\(_{3}\)、C5……当然也被充电到e\(_{0}\),这里我们只分析一节)。输入信号加到C入上,设电压为u\(_{1}\),当时间为t1时,S\(_{1}\)导通,S2关断,C\(_{入}\)上电压由u1变为e\(_{0}\)(如图5b),给C入充电的电荷量为Δq=(e\(_{0}\)-u1)C\(_{入}\)0此时,S\(_{1}\)处于放大状态,不是饱和状态,因为t1开始时漏极对地的电压为e\(_{0}\)+e,C入的充电电荷完全由C\(_{1}\)上所充之电荷供给,结果使C1上的电压下降为e\(_{0}\)-Δq/C1。同理,t\(_{2}\)期间,S2导通,S\(_{1}\)及S3关断,C\(_{1}\)上的电压由e0-Δq/C\(_{1}\)变为e0,补充了电荷量Δq,而C\(_{2}\)则由于损失了电荷量Δq,变成e0-Δq/C\(_{2}\)。如果工艺精度高,能做到C入=C\(_{1}\)=C2=……,那么,图中e\(_{0}\)-\(\frac{Δq}{C}\)1=e\(_{0}\)-Δq;C2=……=e\(_{0}\)-\(\frac{Δq}{C}\)=u1,也就是信号u\(_{1}\)得到了逐级转移。

假定斗链有n节,那么输入信号必须经过n次转移才能到达输出端,转移一次的时间是时钟脉冲半个周期的时间\(\frac{T}{2}\)。显然,经过n次转移后,输出信号与输入信号相比,延迟了一段时间τ。而且,τ=nT;2=\(\frac{1}{2}\)n;f其中n是斗链的节数,T为时钟脉冲的周期,f为时钟脉冲的频率。
由上式可见,如果时钟频率f不变,则延迟时间τ与节数n成正比,即节数愈多,延迟时间愈长,反之,则短;如果斗链节数不变,则延迟时间τ与时钟频率f成反比,即时钟频率f愈高,延迟时间τ愈短,反之则长。由于每一个时钟周期T内信号移位二节,所以式中有系数\(\frac{1}{2}\)。这就是斗链器件的模拟量延迟特性,或叫存贮特性。
如果加到斗链器件上的时钟频率是可变的,先用n个较低频率的时钟脉冲将信号存入2n节斗链中,然后再用n个较高频率时钟脉冲将贮存在斗链中的信号取出,通常把前者称为写入(即存入)时钟脉冲,后者称为读出(即取出)时钟脉冲。这时得到的输出信号与输入信号相比,幅度变化规律不变,只是在时间轴上被压缩。倘若写入时钟频率高,而读出时钟频率低,则被扩展。写入和读出时钟频率的比值就是信号被压缩或扩展的倍数。

在双画面电视机中,为了扩大容量并提高转移效率,所采用的器件是由许多条斗链横竖连接组成面阵斗链,其构成如图6所示。信号由第一行输入,该行的信号转移由写入时钟脉冲控制。中间各行相当于把线阵斗链竖起来,并排着连接到最上面一行的各个斗上,它们的信号转移,由纵向移位脉冲控制。当电视信号的第一行将面阵斗链的第一行各斗存满后,纵向移位脉冲来一次,使整行存贮的信号全部下移一行,并使第一行空出,以便在第二组写入时钟脉冲到来时继续存贮新的信号;在第二行信号存满后,纵向移位脉冲又来一次,使第二行的信号全部下移至第三行;这时第一行新存贮的信号又下移至第二行。依此继续下去,直至从一场电视信号中选出的各行将整个面阵各斗全部存满为止。若纵向移位脉冲是每四行来一次,只要面阵斗链的行数足够多,那么存贮的信号是一场有效行数的14。
信号由面阵的最下一行输出,该行的信号转移,由读出时钟脉冲控制。上面已指出:读出时钟频率与写入时钟频率之比决定输出信号时间被压缩(或扩展)的倍率。如写入时钟频率为1.5MH\(_{Z}\),读出时钟频率为6MHZ,则输出信号被压缩的倍率为1/4。若斗链每行有64位,写入时钟脉冲每行周期内有64个。则斗链每行存满时,所存信号的持续时间为
64×1.5MH\(_{Z}\)=42.7微秒;
从最末一行读出的全部存贮信号的持续时间为
64×1/6MH\(_{Z}\)=42.7×1/4=10.7微秒。
读出时钟脉冲在一场时间内出现的时间,决定了小画面在屏幕上显示的位置。斗链中一行的信号全部输出后,最下一行便空出,等待上行下移。面阵斗链行与行之间的信号转移仍由纵向移位脉冲控制,它的频率决定了所读出的一场抽取行之间的间隔。若这时的纵向移位脉冲是每行周期来一次, 那么一场输出信号中的各抽取行紧相挨邻。双画面电视机中,采用两块上述BBD面阵,分别存贮奇数场和偶数场的信号。奇数场信号写入BBD(Ⅰ)时,BBD(Ⅱ)中已存满的偶数场信号读出;偶数场信号写入BBD(Ⅱ)时,BBD(Ⅰ)中已存贮完毕的奇数场信号读出。
为减少面阵斗链存贮容量,通常把小画面的四边各裁去10%,即水平方向显示时间约为42微秒,压缩成1/4后约为10.5微秒;垂直方向一场的有效行数约为220~230行。每四行抽取一行后,约为58行。BBD存贮容量为64×58=3712位。
至此,从模拟量存贮器中,读出的小画面电视信号便可以送到视频混合电路中,将大、小画面信号混合在一起,送到显象管上去显示。视频混合电路实际上是一个电子开关,当显示小画面时,把大画面信号断开,使小画面信号送给视放级,而显示大画面的时候,则把大画面信号送给视放级,这样,就可以轮换地把大、小画面信号加到显象管上。
控制电路
控制电路用来产生存贮器所需的各种控制脉冲。
虽然大、小画面的行、场周期相同,但是不同电视台来的电视信号的相位还是会有差别的。如,大画面正在显示奇数场第一行时,小画面不一定恰好也是奇数场的第一行,要想使得显象管的水平和垂直扫描系统, 既与大画面信号同步,也与小画面信号同步是不可能的。我们使显象管的扫描只与大画面信号同步,而使BBD面阵的写入时钟脉冲和写入纵向移位脉冲和形成小画面的电视信号同步。也就是BBD面阵的行顺序和从小画面信号中抽取的行的顺序相同。例如,面阵第一行存贮的是小画面的第一行信号,面阵第二行存贮的是小画面的第五行信号……等等。面阵斗链的读出时钟脉冲和读出纵向移位脉冲必须与大画面信号同步。只有这样,才能使读出的各抽取行信号正好插到大画面信号的相应行中去。大、小画面之间的起始相位差,是依靠小画面信号在存贮器中存贮时间的长短来加以校正的。而存贮器的存贮时间取决于出现读出时钟脉冲的时间。
要正确的显示图象,显象管扫描电路必须与所显示的电视信号严格同步。如显象管扫描奇数场的第一行时,必须对应于奇数场第一行的大画面电视信号。此时如果小画面也正好是奇数场信号来到,那么,这时从存贮器中读出的小画面信号是偶数场信号,也就是说,大画面在显象管上显示奇数场信号时,小画面显示偶数场信号。等到下一场,大画面在显象管上显示偶数场信号时,小画面却显示奇数场信号。这时大画面没有问题,偶数场各行信号仍然插在奇数场各行信号的下面。但是小画面却相反,奇数场各行插到了偶数场各行的下面,从而使小画面隔行顺序颠倒,在发在这种情况时,就要求控制电路必须给出一个相位校正信号,控制读出时钟脉冲和读出纵向移位脉冲,提前一个行周期时间到来,使得小画面的奇数场各行仍能插在偶数场各行的上面。如果在显象管显示大画面奇数场的时候,小画面是偶数场来到,那么这时,无论是大画面,还是小画面,奇、偶数场顺序正确,控制电路不必给出相位校正信号。因此控制电路除产生行、场写入、读出定时信号和供给BBD存贮器所需要的写入、读出时钟脉冲与写入、读出纵向移位脉冲外,还要产生相位校正信号。
通过控制电路的控制作用,存贮器,视频混合电路和两个独立的电视机系统协调动作,就能实现在一个荧光屏上同时显示两个电视台的广播节目。(刘诚 周继新)