不过要严格控制录音输入电压才能做到。有些录音机(如上海L-316)装有录音电平控制钮(由音量电位器兼),调整起来比较方便。目前国内外各厂家设计的盒式录音机或收录机都带有自动录音电平控制(ALC)线路,当录音磁平增大到OdB之前,ALC线路开始工作,将信号压缩。这时即便成十倍,百倍地增加录音输入电压,磁带上所录的磁平也不会比OdB增加很多,不致到达饱和磁平。这就为我们控制录音输入电压带来了方便。因为有了ALC即使录音输入电压大些也问题不大了。但是也不能太大,否则由于ALC的强力作用,录音信号处于深度压缩状态,使音乐节目的动态范围变窄,声音起伏小(即分不出强音、中等音、弱者),听起来不够生动,层次不分明。可以这样说,凡是带ALC线路的录音机,录音输入电压可以比说明书中的规定值稍大一些,但不宜超过5倍。凡是装有ALC通断开关的机器,录语言时宜将开关放在“通”位置,输入电压控制如前所述。如录制高质量的音乐带,可将ALC开关放在“断”的位置,注意调整机上的录音电平控制扭,使电子表在最强音和中等音的指示不超过前述值。如果录音的音源(即信号源)电压过大,满足不了上述要求,就必须使用外接衰减器。
二、录音前的准备
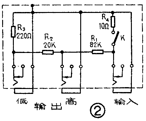
如果自己有一台盒式录音机或收录两用机,最好能动手做几件小工具,以便与各种型式的盒式录音机配合转录,这会带来很多方便。常用到的有以下几件;(1)衰减器 有些录音机没有线路输出插座,输出电压从扬声器两端取得,用耳机插座输出。扬声器以中等音量放音时。它两端的电压一般为0.5伏到1伏。而国产录音机线路输入要求的电平约100毫伏,话筒输入电平要求约1毫伏。假设扬声器两端电压是0.5伏,那么衰减器的衰减量就应该是5倍到500倍。图2是按这种要求设计出来的电路。这是一个简单的分压电路。在这里
=\(\frac{20KΩ}{82KΩ+20KΩ}\)≈1;5
而\(\frac{话筒输入电压}{扬声器输出电压}\)=R\(_{3}\);R1+R\(_{2}\)+R3≈\(\frac{R}{_{3}}\)R1+R\(_{2}\)
=\(\frac{220Ω}{82KΩ+20KΩ}\)≈1;500
正好符合上述要求。其中R\(_{4}\)用1瓦电阻;R1、R\(_{2}\)、R3均用1/8瓦电阻,阻值如图2所示。另外准备3只φ3.5毫米微型插座和1只微型钮子开关。找一只金属小盒,按图2把插座安装在盒的两侧,输出一侧在插座旁边分别写“低”、“高”字样;输入一侧在插座旁边写“输入”字样。开关安装在盒顶部并写上“通”、“断”字样。应该注意、国外进口录音机的录音输入电平很不统一。如SANYO-M9930的线输入只有10毫伏左右(五脚插座);AIWATPR950的线输入电平为100毫伏(针型插座);而SANYO-M9994的线输入电平是60毫伏。读者可以根据具体情况适当增减衰减器的电阻值。例如,假若所用录音机的线路输入电平较低,就应该在保持R\(_{1}\)+R2=100KΩ的情况下增加R\(_{1}\)减小R2的阻值,使其衰减量符合新的要求。(2)各种连接线连接线是用来连接直源和录音机的。读者应根据录音机插座的型式,配备相应的带插头的连接线。连接线一律用屏蔽线,根据两端的插头形式不同又可分为下列几种:①φ3.5毫米微型插头——φ3.5毫米微型插头,见图3;②针型插头——针型插头,见图4;③φ3.5毫米微型插头——以针型插头,见图5。④五脚插头——五脚插头,见图6;⑤φ3.5毫米微型插头——五脚插头,见图7;⑤鳄鱼夹——φ3.5毫米微型插头,见图8。







三、具体操作
对于不同的信号源有不同的操作要领,以下从三方面谈一些体会。
(1)复制录音带 复制录音带必需用两台录音机。一合作放音用(称作放音机),另一合作录音用。当两台录音机型号不同时,应选择性能较好的一台作录音用。如果立体声录音机和单声道录音机对录,一般应选立体声机作录音用。另外应选择质量优秀的磁带(最好是原声带)作为“范带”,才能保证复制带的质量。
目前在国内外生产的录音机上所采用的输出、输入插座数量和型式很不一致。作为信号源的放音机可能带有线路输出插座(包括五脚插座)也可能不带。而不带线路输出的机器,只好由外接扬声器(或耳塞机)插座输出信号。录音机方面可能带线路输入插座(包括五脚插座),也可能只带有话筒输入插座。以上两种输出对两种输入可能有四种不同组合,下面分别说明:①放音机有线路输出插座,录音机有线路输入插座的情况。目前国内外线路输出插座(包括五脚插座的输出孔)的输出电压大多在150毫伏至300毫伏之间,而线路输入插座所需要的录音输入电压大多在数十毫伏至100毫伏之间,基本上符合前面所说的录音输入不大于规定电平的五倍的要求。因此可以直接用相应的连接线把放音机的输出插座连接到录音机的输入插座进行录音。这里应该注意,某些进口机的五脚插座其输入孔要求的输入电压不足30毫伏,与某些录音机的线路输出配合时,相差可能超出5倍,这样录出的带子磁平较高,动态范围稍差一些,但作一般节目来欣赏还是允许的。②放音机有线路输出而录音机只有话筒输入。这种情况,由于线路输出电压比话筒输入所要求的电压高出100倍至数百倍,因此必须使用上述的自制衰减器,将信号衰减。方法是将放音机的线路输出用相应的连接线接到衰减器的高电平输出端,再由低电平输出插座输出信号到录音机的话筒输入插座。③放音机只有外接扬声器插座,而录音机有线路输入插座。这种情况固然可以将放音机的音量关小一些,以满足线路输入的需要。但是放音机的功率放大器在小音量时失真却很大,所以不如使用衰减器为好。可将放音机的外接扬声器插座用相应的连接线接到衰减器的输入端,并将负载电阻开关K打到“通”一边,再由衰减器的高电平输出插座输出信号,然后接到录音机的线路输入插座进行录音。这时衰减器的衰减量为5倍。放音机的音量旋钮可以控制录音电平,大致要调到输出约0.5伏到1伏的中等音量为宜。当微型插头插入外接扬声器插座时,机内扬声器被断开,因此要将录音机打到监听位置,以便于操作。④放音机只有外接扬声器插座,而录音机只有话筒输入插座。这种情况的处理与③相似,不过录音机的话筒输入插座应接到衰减器的低电平输出插口。此时的衰减量为500倍。其他操作同③。
如果用两台立体声机器对录,则必须使用连接线按照左对左,右对右的方式同时将左右两声道连接起来,并将两台机器的工作方式开关部打到“立体声”的位置。这样录出的带子才是真正的立体声。如用单声道作放音机,立体声机作录音机录音,则必须将单声道机的输出信号同时送到立体声机的左、右两声道输入插座,要使用图5或图7这类连接线。同时将立体声机的工作方式开关打到“单声道”位置。这时录出的带子是单声道的。反之,如果用立体声机作放音机,单声道机作录音机录音,则只要将立体声机的工作方式开关打到“单声道”位置,输出信号可以从左右两声道的任一路取出都行。录出的带子当然也是单声道的。
(2)录收音机或电视机节目 目前不少爱好者使用的录音机是兼有收音功能的收录机,用这类机子录收音机节目非常容易,只需在收听广播的同时按下录音键就行了。此处着重谈谈如何用单录机录收音机节目的方法。①从收音机的耳塞机插座取出音频信号。方法与前述第(1)条的第③,第④款相同。如果所用的收音机没有耳塞插座,则需要用鳄鱼夹连接线直接夹到扬声器焊片。同时应将衰减器的负载电阻开关打到“断”的位置。此时收音机的扬声器继续工作,便于监听。这种方法的缺点是一般半导体收音机的低放级频响较差、失真较大,影响了录音质量。因此可用下面的方法:②从收音机的检波级直接取出音频信号。方法是用图8所示的鳄鱼夹连接线分别夹到音量电位器的热端和接地端(连接线的外皮一定要接电位器的地端)。收音机在接收本地强电台时,检波输出电压约数十毫伏至100毫伏,因此可直接接到录音机的线路输入。如果录音机只有话筒输入而没有线路输入时,可利用衰减器。方法与前面第(1)条第②款相同。从电视机录伴音节目的方法与从收音机录广播节目的方法相同,比较起来也是以从电视机鉴频器取出音频信号为佳,而从扬声器取出信号效果差。
(3)录取唱片节目 把唱片上的节目转录到磁带上,有三点好处:①放送节目方便。因为开动录音机比起开动电唱机来要方便得多。②有利于延长唱片寿命,可将一些有价值的唱片珍藏起来,免得每播唱一次,唱片磨损一次。③不必购置与电唱机配套的拾音放大器,只需一台电唱机再加一台录音机就能完成唱片的录音和放音。甚至连电唱机和唱片都可向朋友暂借使用。因此录制唱片节目是一种廉价的欣赏唱片节目的方法。
电唱机所用的唱头分电磁式和压电式两大类。高级电唱机一般用电磁式唱头(包括动磁式和动圈式),这类唱头放送密纹唱片时由于其输出信号的频率特性不均匀,需要经过均衡电路补偿,因此不能直接用来录音。而业余爱好者普遍采用的压电式唱头(包括晶体唱头和陶瓷唱头)放送密纹唱片时其输出信号的频率特性是比较均匀的,可以直接用来录音。这种唱头能输出0.3伏至1伏的电压,但要求配合1兆欧以上的负载阻抗,因此不能直接接到录音机的线路输入插座(线路输入插座的输入附抗约50千欧),而要使用图9所示的电路,将唱头输出电压衰减200倍,送到话筒插座去录音。应该指出有人为了省事,将唱头直接接到线路输入插座进行录音,虽然也能录,但低音将损失很多,这是很不妥当的。

目前在爱好者手中的录音机,其规格型号很不统一。以上所述的一些经验和数据难免对个别产品不适用,因此更希望爱好者能通过自己的实践活动、摸索出自己的经验来。(录放)