二、图象不同步
(1)水平、垂直均不同步或性能差
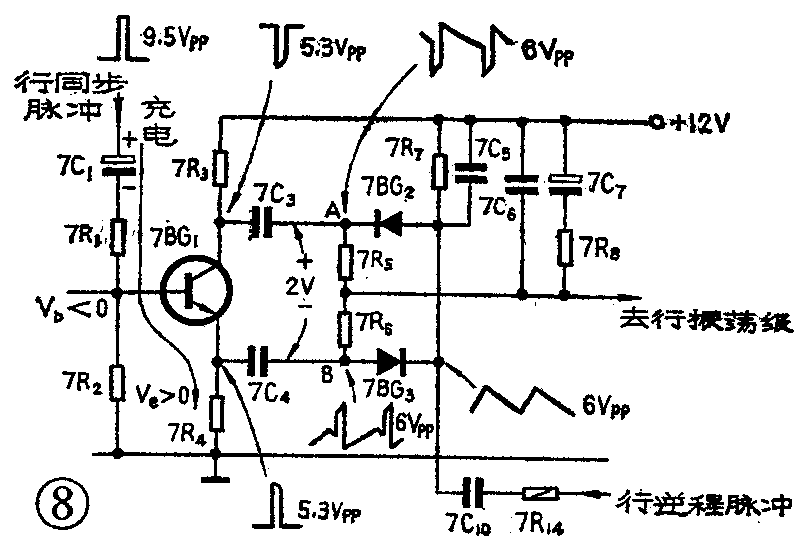
原因有:①同步分离级有故障。检查方法是先测量二极管5BG1静态电压,应为0.3V左右,若过低,一般为5BG1或5L1断路,或5R2阻值变大;若过高,则是5BG1内阻太大。再测量5BG2集电极电压,应为2~5V,若过高则是5BG2漏电流太大(击穿)或电容5C1漏电;过低则是5BG2开路或β太低。假若静态电压均正常,可在接收到电视信号时,测量5BG2集电极的动态电压,应为1.8V左右,否则有故障,通常是5C1断路。②AFC电路有故障。检查方法是先在静态和动态两种状态下,测量7BG1管基极电压U\(_{b}\)和发射极电压Ue,并进行比较(参见图8)。以判断同步脉冲是否到达基极。正常情况下,无信号输入(静态)时,7BG1基极经7R2接地,故U\(_{b}\)=0,Ue=0当接收到信号(动态)、行同步脉冲来到时,同步脉冲经7BG1基极——发射极对7C1充电,使U\(_{e}\)>0。由于充电电流大(基极——发射极正向导通电阻仅数百欧),而放电速度慢(通过7R1、7R2等),故在7C1上建立起电压,使Ub<0(约-0.2V)。如果在静态、动态两种状态下, 7BG1各极电压没有变化(或变化很小),说明行同步脉冲没到达7BG1基极,通常是由于7C1或7R1断路或晶体管7BG1损坏等造成。另外测量7BG2负极与7BG3正极之间(即图8中A、B两点)的直流电压。正常情况,不论是静态或动态,应为2V左右,若无电压或电压过低,则说明鉴相器上没有锯齿形比较脉冲,原因是7C10坏(短路、断路)或7R14断路,或7C5坏。③AGC电路不起作用。前面已介绍过AGC电路失控或控制能力差会引起接收信号时电路“阻塞”,收不到图象的情况。但在未完全“阻塞”时,虽仍能收到信号,但检波后的全电视信号幅度很大,超出晶体管动态范围而出现“限幅”,同步头严重压缩从而使同步受到破坏。判断方法:如减弱输入信号,同步恢复正常,即说明AGC不起作用。图8画出的各点波形,供使用示波器进行检查时参考。

(2)只是垂直不同步(或同步范围小)
原因大多有:①帧同步脉冲未加到帧振荡管。可能是由于6R1、6R2或6BG1断路或6B1绕组断线引起;②电容5C3(100μf16V)容量变小、严重漏电等造成退耦不良,引起负反馈作用,使帧同步脉冲的分离不正常。
三、同步范围小
图象能稳定,但稍稍变动一下帧频、行频(即帧、行同步)旋钮,图象就会失步,亦即同步范围小。通常有两种情况。
(1)帧、行同步范围均小。原因大多在AGC电路和同步分离电路,如AGC电路充放电电容4C4(4.7μ16V)漏电或容量显著减小,同步分离管β值太小使分离灵敏度太低,5R4阻值变大,5C1漏电等。
(2)帧同步正常,行同步引入范围小。原因主要有:行振荡电路压控灵敏度低,一般为行振荡脉冲宽度太宽,可参照“调整”一文重新检查调整;AFC和行振荡电路元件损坏,如7BG1~7BG3管性能差(三极管β值过小,二极管正向内阻太大等),电容7C3、7C4漏电或容量变得过小,或退耦电容7C11损坏等。行振荡线圈7L1锁定位置不正确也会使行同步范围变小。
四、图象不稳定
通常有四种症状

(1)扭曲、错格现象,如图9a。故障原因在AGC和图象中放电路。①2BG5管漏电流I\(_{ceo}\)过大或反向击穿电压Vceo低,4BG1或4BG3损坏等造成AGC性能变差,在接收中等或较强信号时会出现这种症状,可参阅表2有关部分。②电位器4W1调整不当,高放AGC电路起控太迟,整机AGC控制能力减弱。解决的方法可参阅“调整”一文有关部分。③图象中放供电电路退耦电容2C27(47μ)容量显著减小或漏电,造成高频信号被低频交流纹波电压调制,使图象扭曲。
(2)图象顶部扭曲(见图9b)。故障原因是帧同步脉冲混入AFC鉴相器。一般是7R8阻值偏大或断路、7C7容量减小或断路引起的。有时适当减小7R8的阻值可消除扭曲,但7R8阻值不得小于680Ω,否则AFC电路负载太重,使鉴相灵敏度降低,使行引入范围减小。同步分离级5R1或5C4损坏也会出现图象顶部扭曲症状。
(3)图象边缘出现锯齿状扭曲(见图9c)。原因有以下几点:①行振荡脉冲宽度太宽。这时行频引入范围太宽,使AFC电路抗干扰性能变差。尤其是电视信号较弱时,行振荡频率很容易受外界干扰脉冲的影响而变化,产生这种症状,而当信号较强对,这种症状一般即消失。②AFC电路滤波电容7C6断路。这时不论电视信号强弱,症状都存在。③高压打火。加显象管内部极间跳火或高压帽打火,行输出变压器磁心接地不良引起打火,尤其是高压包内部打火等,都会引起图象边缘扭曲。通常可仔细观察有关部位是否有打火紫光出现。
(4)图象伴有上下滚动的黑条。这种现象是市电对图象的干扰,尤其在接收晶振同步电视信号时较严重。解决的方法是适当减小4C4的容量。4C4的标称值为4.7μ,但实际容量有时相差甚大。此外也可将电容4C8(lμ)取消试试。
五、图象不清晰
一般表现为图象模糊、拖尾、镶边,图象黑色成分或白色成分“饱和”等。其原因大多在视频部分而与高频头或中放关系较小。
(1)图象模糊、镶边、拖尾。原因是视频检波电容2C6、2C26(均10pF)容量过大或2L8电感量过大(如装错),会使图象高频分量损失、图象细节部分不能充分重现。电容2C38(430pF)、2C31(2200pF)断路会引起模糊、拖尾等现象,使图象好象蒙上一层薄雾。电阻2R31(10K)阻值变大或开路会造成高频分量过冲,使图象出现镶边。电容2C33(0.22μ)容量减小,会使图象低频分量损失,图象模糊并且灰度等级降低(黑白不分明,灰蒙蒙一片)。
上述图象镶边与重影不同。重影应通过转动天线或改变电视机安放位置,必要时需外接天线才能消除。
(2)图象黑色成分或白色成分“饱和”。其原因(不包括显象管老化后出现的类似症状)是视放管2BG6(3DA87B)工作点不合适。正常情况2BG6集电极电压为65~70V(V\(_{ce}\)≈60~65V);电压过低时,则信号中的白色成分易饱和(即白电平被压缩),过高则黑色成分易饱和(即黑电平被压缩),见图10。更换视放管时,若其β值过小(<30)或过大(>100)需重配电阻2R26,使工作点符合要求。

六、图象和伴音不一致
正常的电视机,调节高频头“频率微调”并配合转动天线,总能做到图象清晰伴音宏亮无杂音。若无法使图象和伴音同时达到满意的效果,其原因除伴音中放有故障外,大多是高频头与中放总曲线不符合要求,不是对伴音载频吸收过深就是图象载频位置过低。具体来说:(1)高频头高放曲线或图象中放曲线带宽太窄,使伴音载频(或伴音中频30.5MHz)吸收过深或图象载频(或图象中频37MHz)在曲线中位置太低,如图11a、b。(2)因本振线圈松动、本振微调螺钉滑牙等造成高频头本振微调范围大小,使总曲线调不到兼顾图象和伴音的较好情况,见图11c、d。

修理方法:略微旋动中放输入回路线圈2L14,若效果不明显再稍微旋动三中放双调谐回路次级线圈2L6,使图象伴音都能达到较好效果。这种方法实质上是减小伴音中频(30.5MHz)的吸收深度。由于是仅凭接收效果来调节,故旋动量不能过大,以免把曲线调得更乱。有条件最好能用仪器检查调整。
七、伴音干扰图象
表现为随着伴音的起伏图象上重迭着有规律性变化的水平影条干扰。检查时可将音量电位器关死,若干扰依然存在,则故障在图象通道(高频头、中放);若干扰消失,则故障在低放级供电回路。
(1)由图象通道故障引起的伴音干扰,原因是对伴音载频吸收太浅。一般可微调2L14使干扰消除。
(2)低频放大级供电回路退耦不良引起的伴音干扰。音量越大,低放级所需电流就越大,音频纹波电压就越大,对图象通道的影响就越严重。早期生产的“9D3”机低放级退耦较差,现已作改进,见图12。

八、图象上出现网状花纹或同时收到两个电视台的节目
这种故障在大城市尤其容易发生。原因是外界干扰如雷达、短波电台、高频热合机等发出的电磁波,以及接收了本频道以外的电视信号,干扰了正常电视信号的接收。改善方法:
(1)调节4W1,减小高放AGC放大管4BG1发射极——基极反向偏压,使高放AGC起控提早,可减轻这种干扰。
(2)改变天线位置或架设外接天线。在某些接收环境下,光靠电视机本身是抑制不了外来强干扰信号的(如高频热合机干扰),只能靠架设方向性较强的室外天线来解决。
有关伴音电路其它方面的故障如:无伴音或伴音轻,声音发闷,失真等等这里就不一一介绍了,请参阅有关文章。(续完)(费钥)