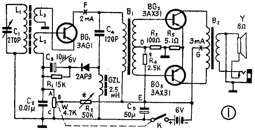
三管机的电路见图1,它对应的实物连线图见图2。此电路中第一级采用了来复再生式,在功率放大级采用了推挽输出式。由于采用了以上的措施,因此本机有一定的灵敏度和音量。全机静态电流为5毫安。


工作原理
由磁性天线接收到广播电台发送的高频信号经L\(_{1}\)和C1选择后,通过L\(_{2}\)交连到三极管BG1基极和发射极进行高频放大,放大后的高频信号经C\(_{4}\)送到二极管进行检波,检波后的音频成分又经C3加到三极管BG\(_{1}\)的基极和发射极之间进行音频放大。放大后的音频信号经输入变压器B1交连到BG\(_{2}\)、BG3的基极和发射极进行音频功率放大,经功率放大后的音频信号由输出变压器B\(_{2}\)送到扬声器发音。
图1中C\(_{2}\)为高频旁路电容,使L2上取得的信号顺利地加到BG\(_{1}\)的基极与发射极之间。R1是检波后的直流通路,并通过它给BG\(_{1}\)基极一个反偏流,起到自动音量控制作用,C3为检波后的音频通路。高频阻流圈GZL阻止高频信号通过,给二极管一个直流通路,并给它一个小的直流偏压,以提高检波效率。
电阻R\(_{2}\)和电位器W组成三极管BG1的偏置电阻,调节W可以改变BG\(_{1}\)的偏流大小从而控制BG1的放大倍数起到手动音量控制作用。
本机的再生作用是发射极电流通过线圈L\(_{3}\)产生的,这种再生方法灵敏度高且整个波段较均匀。
电阻R\(_{4}\)为BG2和BG\(_{3}\)的上偏置电阻,R3为下偏置电阻。R\(_{5}\)为BG3、BG\(_{4}\)的发射极电阻。
元件选择
电容C\(_{1}\)为270微微法密封双连中任意一连,也可采用单连。C2、C\(_{4}\)为涤纶或云母等固定电容器。C3为10微法耐压为6伏的电解电容器。
电阻R\(_{2}\)为阻值150千欧的微调电阻(图上误为50K)。电阻R1、R\(_{3}\)、R5均为18瓦炭膜电阻。
晶体管BG\(_{1}\)选用3AG1型,β值为100左右。其他PNP型锗高频管均可代用。BG2、BG\(_{3}\)选用3AX31型,β值为60左右。其他3AX型的低频管均可代用,但要求两管的β值接近,而且β值不要太低。
输入变压器B\(_{1}\)采用市售的B306型,变压比为3∶1,其他规格也可代用。输出变压器B2采用B408型,其他类似规格也可代用。
磁性天线选用长度为100毫米的扁磁棒,按图3要求来绕制。全机安装在一个125×83×38立方毫米的塑料菜盒内,在盒底打上扬声器放音孔。整机元件安排和接线图见图4。如果机盒大一些可装体积稍大的电池。


调试方法
整机装好后首先调整BG\(_{1}\)的工作点,此时可把L3移至离L\(_{1}\)最远的地方,并暂时短路。把偏流电阻R2先调到阻值最大位置。图5为两种偏流电阻的外形图,如果把1、2连起来,并把装碳膜片那面朝自己,在顺时针转动时2和3之间的电阻减小,逆时针转动阻值增大。接通电源并把电位器W拨到最上端(A端),然后缓缓转动偏流电阻R\(_{2}\),使BG1集电极电流在2毫安左右。R\(_{2}\)对整机灵敏度影响特别大,所以要细心调整才能取得最好效果。

BG\(_{2}\)、BG3的偏流由调整R\(_{4}\)决定。可按图6的方法,用一只4.7千欧左右的电位器串上一只510欧姆的保护电阻来代替R4,调整电位器使两管的集电极电流为3毫安,然后取下电位器和保护电阻,测一下电位器和保护电阻的总阻值,换上一只同样阻值的固定电阻焊在R\(_{4}\)的位置即可。

图中画×处为各级偏流的测试点,把画×处断开串入一个毫安表或万用表的直流电流档即可测量集电极电流。
第一级调好后,可再用几只3千欧上、下的固定电阻,替换一下原接上的3千欧的电阻,直到声音最大而不失真为止。
工作电流调好后,收听一个弱电台,把L\(_{3}\)的两个端头拆开,接入电路,然后调换两端头再接入电路,其中声音大的那次说明L3两端接对了。然后把L\(_{3}\)在磁捧上向L1移近到声音最大而不啸叫,就是再生的最好工作状态了。
本机还设有耳机插口,可用8欧姆低阻耳塞机收听广播。装好的三管机的外形见题头。(沈征)