目前,大多数国产晶体管电视机显象管灯丝预热问题尚未解决。它直接影响到显象管的使用寿命。为此,我们在飞跃12D1电视机上试装了一个延时开关电路,在开机后约经15~30秒钟左右自动加高压,实现了显象管的灯丝预热。
工作原理:本文介绍的延时装置简单易行,对原电路元器件不会造成不良影响,只要行振荡级一工作,各电路就能正常工作。
一般行振荡级正常工作电流不大于20毫安,只要在施密特触发电路上稍加改动,就能胜任这一开关功能,其电路如图1所示。当电视机电源开关刚接通时,E\(_{c}\)=12伏电压加到此电路的输入端,由于电容器C0上的电压不能跳变,BG\(_{1}\)的基极电压Ub1=R\(_{2}\)Ec/(R\(_{1}\)+R2)≈11伏,而BG\(_{2}\)的基极电压Ub2=R\(_{6}\)Ec/(B\(_{3}\)+R4+R\(_{6}\))≈10.6伏。可见Ub1>U\(_{b2}\),所以BG1抢先导通并达到饱和。BG\(_{1}\)发射极的电流Ie1在R\(_{5}\)上产生的电压Ue1=U\(_{e2}\)≈4.7伏,而BG1的饱和压降V\(_{CES}\)≈0.3伏,所以Uc1≈5伏。此电压经R\(_{4}\)和R6分压后,使U\(_{b2}\)≈4.5伏<Ue2,因此BC\(_{2}\)截止,BG3也截止。由于BG\(_{3}\)处于截止状态,所以行振荡级的供电电路被切断,不能起振。然而这种状态是不稳定的,因为Ec要经过R\(_{1}\)和BG1的输入电阻对C\(_{0}\)充电。随着C0两端电压的升高,充电电流(即注入BG\(_{1}\)的Ib1)会慢慢减小。I\(_{b1}\)小到一定程度,BG1退出饱和区进入放大区,由于I\(_{c1}\)随着Ib1减小而减小,造成R\(_{3}\)、R5上的压降减小(即U\(_{c1}\)增大,Ue1减小),结果使BG\(_{2}\)的be结由反偏转。化为正偏,所以BG2开始导通。由于I\(_{e2}\)的出现,它在R5上产生的电压又加速BG\(_{1}\)截止,随着Ie2的增大,很快使电路翻转,结果变成BG\(_{1}\)截止,BG2饱和导通的稳定状态。所以在BG\(_{2}\)集电极上形成一个陡峭的负跳变电压,这个电压经R8加到BG\(_{3}\)的基极,使BG3饱和导通,这样+12伏电源电压就可加到行振荡电路上去了。可见,从电源接通到行振荡电路开始工作有一段延时过程,延时时间的长短,取决于电容器C\(_{0}\)充电时间。电视机关机后,C0上的电压自行泄放,电路恢复到起始状态。

元件作用及其要求:电路中R\(_{1}\)的作用有两个:一是影响C0的充电时间;二是防止C\(_{0}\)开始充电瞬间的电流太大烧坏BG1。经过分析和实验,证明R\(_{1}\)选150KΩ左右为最佳。接入R2主要是为了稳定延时时间,避免因C\(_{0}\)漏电流太大(如大于10微安),使BG1无法退出饱和区,造成电路不能翻转。R\(_{9}\)为电视机原电路中行振荡级的电源去耦电阻。
为了保证BG\(_{1}\)抢先导通,要求β1>β\(_{2}\),因为BG1的直流电流放大倍数对电路的延时时间有影响,所以最好选β\(_{1}\)>40(Ic为500微安时测试)的管子。为了保证行振荡级的电源可靠地断开和接通,要求BG\(_{3}\)的BVCEO>12伏,β\(_{3}\)≥40。C0选用漏电流小于10微安(6伏下测试)的电解电容,电容量为100μ。在不增加C\(_{0}\)电容量的情况下,延时时间最长可达一分钟。延时时间过长也不好,因为显象管灯丝加热后,阴极周围空间电荷逐渐积累,时间一长,空间电荷积聚过多,刚加上高压的瞬间,在屏幕上可能出现短时间的过亮现象,这也是不希望的。延时时间与下列元件有关:(1)增大R3的阻值,会减小BG\(_{1}\)的饱和电流值,推迟BG1退出饱和区,增加延时时间;(2)BG\(_{1}\)更换β大的管子或者采用复合管,这样也能显著增加延时时间。
制作与调整:为了使此电路在使用时更加灵活,可把延时电路安装在一个20×15mm\(^{2}\)的小印制电路板上,如图2所示,图2(a)为印制电路板的接线图,比例为2∶1;图2(b)为1∶1的印制电路板。利用电阻R\(_{3}\)、R2、R\(_{9}\)的三根引出线,构成鼎足分布,作为小单元电路的引线,如图2(a)黑色孔所示。这样装拆都很方便。

延时电路安装完后,需要单独调整,方法如图3,在+12伏输入端串接一只电流表(万用表电流档亦可),置于50毫安档作监测用。输出端接620Ω负载电阻,代替行振荡级的电流消耗。接上12伏电源,开始计时,这时电流表指示约为0.4毫安。经过20~30秒钟后,若电表指示突然升到20毫安左右,表示延时电路已自动翻转接通。这时再测量BG\(_{3}\)集电极与发射极之间的电压,若VCES<0.1~0.2伏,表示BG\(_{3}\)已经饱和,说明电路接通情况良好。若延时时间不合适,可改变R3的阻值或更换BG\(_{1}\)的管子。

特别要注意的是,调整过程中要保证R\(_{3}\)>R7+ R\(_{8}\),否则会出现电路多次翻转才接通的现象。

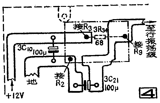
延时电路板小单元,在安装到12D1电视机上时,应将行振荡级印制电路板上的去耦电阻3R\(_{34}\)(68Ω)取下来,焊在延时电路印制板B9的位置上,如图4所示。再在原印制板3C\(_{1}\)0接地端旁钻一个小孔,就可把此小单元很方便地象其他元件一样,直接焊在电视机上。对于其他型号的电视机也可用类似的方法安装。(梁思地)