本文介绍一线路简单、调整容易、取材方便的对讲机,供初学者制作参考。
工作原理
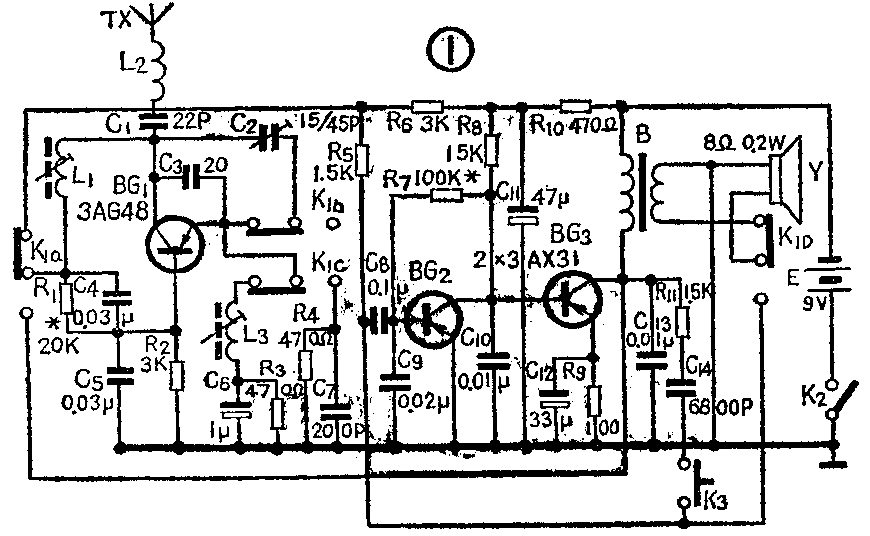
本机线路见图1。当开关K\(_{1}\)置于图示位置时,处于收信状态,BG1与L\(_{1}\)、C2、L\(_{3}\)等构成超再生检波电路。此时,从天线上接收到的信号经C1耦合至BG\(_{1}\),检波后的音频信号再经K1a、R\(_{5}\)、C8耦合至BG\(_{2}\),经BG2、BG\(_{3}\)两级放大,由扬声器送出。

当K\(_{1}\)置于另一位置时,处于发信状态。此时人对着扬声器讲话,话音信号经K1D、C\(_{8}\)加到BG2的基极,经BG\(_{2}\)、BG3两级放大后的音频信号从BG\(_{3}\)的集电极输出,再经K1a加至BG\(_{1}\)的基极。由于BG1此时已为共基极电容三点式振荡器,这个振荡器产生的高频载频信号经音频信号调幅,成为已调波,由天线发射出去。
图中,调节L\(_{1}\)可以调节振荡器的频率,本机取工作频率在业余波段28~29.7MHz范围内。由R1、C\(_{14}\)和开关K3组成呼叫电路。当接通K\(_{3}\)时,BG3的集电极输出经R\(_{11}\)、C14和K\(_{3}\)反馈到BG2的基极,由于这一正反馈,与BG\(_{2}\)、BG3形成阻容自激振荡器,产生一近于1000Hz左右的音频信号去调制BG\(_{1}\)产生的载波,发出呼叫信号,若将K3换成发报电键,则可作练习发报用。
元器件选择
由于本机工作频率较高,故BG\(_{1}\)需选用fT较高(>100MHz)的锗高额三极管,如3AG48、3AG28、3AK20等,β大于50。BG\(_{2}\)、BG3要求Iceo<200μA,β>40,可选用任何3AX型低频三极管。
线圈L\(_{1}\)的磁心用NXO—20,线圈骨架带有内螺纹(M4×1),外径为6毫米。用线径为0.5毫米的漆包线平绕13匝,电感量在0.6~1.5微亨之间可调。L3的磁心用NXO—40,线圈骨架同L\(_{1}\)用的。用线径为0.27毫米的漆包线平绕20圈,电感量在1.8~4微亨之间可调;它们的Q值应大于70。L2为空心线圈,用线径为0.5毫米的漆包线在外径为6毫米的胎具上平绕20圈脱胎即可。变压器B用晶体管收音机用的输出变压器。
电容C\(_{1}\)、C2、C\(_{3}\)和C7用高频瓷介或云母电容。开关K\(_{1}\)用无锁直键开关KZJ1—W4。K2用1×2的拨动开关。天线可用收音机的拉杆天线或用自行车的车轮辐条三根接用。电路中的电阻均为1/8瓦。
电路的元器件安装在图2所示的1:1的印制板上,然后装在木盒或塑料盒内。

调试
整机调试分初调与联调两步进行。初调主要是调两机的各级晶体管的工作点,联调主要是调电路工作在收、发状态时的工作频率。
初调:两机的BG\(_{2}\)、BG3的调整与收音机的低频放大器同,调整R\(_{7}\),使BG2的集电极电压在0.9伏左右,BG\(_{3}\)的集电极电流约8~10毫安。在发信状态时,调R1使BG\(_{1}\)的集电极电流在2~2.5毫安左右,并调L1的磁心至中间位置,此时用手触及天线,若集电极电流有些变化,说明电路已起振。在收信状态时,R\(_{1}\)数值不变,由于工作状态改变,此时BG1集电极电流减小约为1~1.2毫安,调L\(_{3}\)使扬声器中出现超再生“沙沙”噪声到最大。当没有信号输入时,只要本机处于收信状态,就出现“沙沙”声,一旦收到信号时,此“沙沙”噪声就会被信号所抑制。
联调:若没有仪器、联调只能达到两机的收、发信频率相同,但是不能确定工作频率的数值。调整时,让两台机子同时工作,天线拉出,不要与其它金属物相碰,周围要无强的电磁场。先将甲机置于发信状态,乙机置于收信状态。调乙机的L\(_{1}\)及C2,使乙机扬声器中的“沙沙”声减小到最小或消失,然后将两机的工作状态互易,调甲机的C\(_{2}\),使甲机能接收到乙机的信号,再将两机反复调整,就能达到两机对讲了。调整时应注意两机不能离得太近,否则互相影响产生啸叫。调整后,最好再将两机拉开一定的距离,一方发,另一方收,收方再微调L1、C\(_{2}\)、L3,使声音最清晰。因通信距离有限,随着两机距离增加,“沙沙”声也越来越大。
若有信号发生器,那么可以把频率调准在业余频段的某一频率上。调整时,先将信号发生器的频率置于28~29.7MHz的某一频率上,通过环形天线输送出一定强度的信号。分别将申、乙两机工作在收信状态,调整两机的L\(_{1}\)及C2,把两机的接收频率校准在信号发生器给定的频率上,这时两机的“沙沙”声消失或最小。去掉信号发生器,置甲机于收信状态,而乙机为发信状态,再调乙机的L\(_{1}\),使甲机的“沙沙”声被抑制,说明甲、乙机的频率相同。但由于乙机的L1已变动,接收频率亦有了变化,故需要再用信号发生器校准,重调乙机的C\(_{2}\),使乙机的频率校准在信号发生器原来给定的频率上。对甲机也要用信号发生器再校准。由于用信号发生器反复校准,故频率准确度高,这样调整后,两机再拉开距离调整,只要微调L3就能达到最佳效果。
本人用这样的两机,调整后在开阔地上通话距离为200米,室内通话距离约100米。
注意事项
1.在一对机子上,BG\(_{1}\)的参数应尽量一致,不然容易引起收发频率不能统调,通常会造成发的频率偏低,收的频率偏高,而双方不能对讲。BG1的f\(_{T}\)不能太低,否则影响通话距离。
2.K\(_{3}\)的两端引线要短,若太长会产生寄生耦合,使低放自激,无法工作。
3.调整时,电源最好用干电池,因为稳压电源与地的耦合会影响收、发频率。
两机调整时,应用无感起子。(邹振熊)