一般用普通晶体管制作的路灯光电控制器,常因自然光的强弱变化大、对电路性能要求高而不能达到预想结果。我们用运算放大器制作的这种光电路灯自动控制器,电路灵敏度高,能比较有效地防止电路状态转换时的不稳定过程。能跟踪季节和天气晴阴的变化,自动调整开关灯时间的早晚,也可以手动调节。并具有对雷电和各种偶然短时强光的抗干扰能力。
工作原理
本电路主要由光电转换级、运放滞后比较级、驱动级和电源等四部分组成,电路见图1。图中GDB—1是一只光电倍增管,白天当光电管的光电阴极受到较强的光照时,就产生了光电发射,阴极电流与照射在光电阴极上的光强度成正比例地增加,使得BG\(_{1}\)栅极(G)正电压增高。BG1是一只N沟道结型场效应管,当栅极正电压增高时,漏源电流I\(_{DS}\)也增大,这时在运算放大器(FC—54,上无七厂产品)反相输入端(11脚)测得的电压约为+3.1V,所以运算放大器输出(6脚)为负电压(-13V)。这时二极管D7不导通,BG\(_{2}\)截止,继电器J0处在释放状态,故路灯不亮。到了傍晚该开灯时,由于光照减弱,光电管电流减小,使BG\(_{1}\)的栅极电压和漏源电流随之减小。这时在运算放大器反相输入端上得到一个负电压(约-0.35V),在输出端得到正电压(+13V),因此D7导通,经R\(_{12}\)限流后向BG2注入基极电流I\(_{b}\)≈1.2mA,因而BG2导通饱和。这时继电器J\(_{0}\)吸合,使路灯接触器通电吸合(见图3),路灯亮。到第二天早上,由于光照加强,电路自动转换。


为防止夜间阴雨天的闪电或突然短时强光的照射,使电路翻转造成误动作——灯光闪动,在图1电路中,由C\(_{1}\)、R1和光电管内阻构成一个延时电路,使得电路的转换要延迟一段时间,一般在3~5秒钟。经试验此控制器在夜间用手电筒光慢晃过光电头,不会引起电路翻转,空中有闪电时也仍能正常工作。
由于自然光从亮到暗的变化是很缓慢的,放大器开环比较时,会经过一个不稳定的过程,使继电器跳动一段时间,因而会造成路灯闪动、接触器接点烧坏等后果。为了消除上述现象,我们在电路中加接了正反馈电阻R\(_{11}\)。R11一端接在运算放大器FC—54的输出端,另一端经R\(_{6}\)、R7分压后接到放大器的同相输入端(12脚)。只要电路一转换,就会由R\(_{1}\)1引入一定的正反馈,这样保证了继电器工作利落稳定。
图1中,D\(_{1}\)是温度补偿二极管,用它来补偿场效应管GS极之间结压降随温度的变化。二极管D2、D\(_{3}\)为运放输入保护,D4、D\(_{5}\)主要用以防止反向电压进入运算放大器,D8为续流二极管。
元件的选用
图1中GDB—1用的是电影放映机中还音用的光电倍增管,因为从它的光谱特性曲线可以看到它对波长为4000~6000埃的光反应最灵敏,比较适合在自然光中应用。而目前2CU、2DU等类型的半导体光电管一般对9000埃的近红外光反应最灵敏,但对于自然光的灵敏度较低,故这里采用的是前者。光电倍增管的额定阳极电压为220V,在本电路里它是工作在低电压状态,虽然灵敏度有所降低,但管子的寿命和温度特性都得到了改善。场效应管3DJ7应选择饱和漏源电流I\(_{DSS}\)大些的。继电器J0用的是JRX—13F型、内阻为1460Ω的灵敏继电器。如果改用其它类型的,应考虑到BG\(_{2}\)的PCM是否允许。图中W采用的是带指示的多圈电位器,以利于电压的微调。BG\(_{2}\)、BG3、BG\(_{4}\)的β值应大于60。电源部分两个做基准电压的稳压管BG5、BG\(_{6}\)应选择Vz在15.6V的或相差不大的。
电路的安装与调整
(1)光电头是光电继电器的重要一环。应安装在采光充分的玻璃窗内,最好放在室内,冬天温度不可低于零度。白天光电管应避免阳光直射,以免使光电管灵敏度降低。可以把光电管装在小盒子内,前面镶上毛玻璃,盒子内壁涂上黑漆防止杂散光干扰。
(2)图2是图1电路的印刷电路板,其引出线可配上14线插头座,使用方便。

(3)运算放大器FC—54D的管脚接线如图4a所示。烙铁焊接时间要短,以免热量传入管内。焊接时可以翻过来轻轻把管脚弯好后,焊在线路板上,如图4b所示。

(4)电源变压器可用3瓦电铃变压器改绕,正负电源可双线并绕,初次级间注意加静电隔离。
(5)电路装好后,遮住光电管调电位器W,使运算放大器11脚的电压为-0.35V至-0.5V,并按表1所示的各点电压测试一下。如果控制器在转换时有跳动现象,可适当减小一些反馈电阻R\(_{11}\)或增加一些R6的阻值,以加大反馈量。

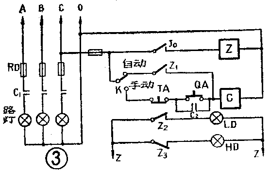
(6)控制器调好后,可与路灯接触器接成如图3所示的电路。K为自动、手动开关,开关放在自动的位置时,为光电控制。(何金生)