(肖松林 王力人)JEC—2型集成电路块是一种多功能触发器。最初设计这种电路的目的是为了把晶体管延时继电器集成化(它的名字也由此而得,其中J表示晶体管式,E表示延时,C表示电路),然而由于它具备很多优良的性能,加上体积小、成本低、稳定可靠、组装调试简单等优点,因而除用于延时继电器以外,也广泛用于其它简易自动控制设备中,在技术革新中发挥了较大作用。
电路的构成和特点
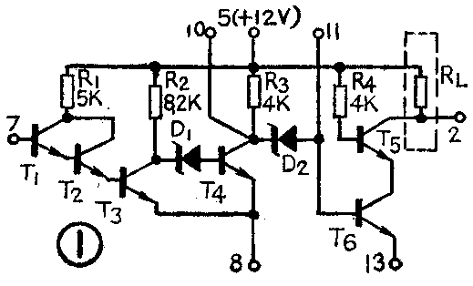
图1是JEC—2型触发器电路。它虽然叫触发器,其实并不是一个完整的触发器电路,而是一个三级反相器联接电路。其中T\(_{1}\)、T2、T\(_{3}\)接成复合管构成第一级反相器,T4是第二级,T\(_{5}\)、T6是第三级。级间用稳压管D\(_{1}\)、D2耦合。它共有14个管脚,7脚是输入端,2脚是输出端(外接负载电阻R\(_{L}\)或继电器),5脚接电源(+12伏),8脚可以接地,也可以外接其它元件,13脚接地,10、11脚主要用于测试,也能外接元件,其余均为空脚。如果把该电路的某几个管脚外接一些元件,则第一、二级反相器便能灵活地构成各种触发器电路,第三级则用于带动负载。

JEC—2电路不接成触发器,而作为三级反相器使用的情形也不少。这时8脚接地,10、11脚悬空,其它管脚接法如上所述。其工作过程如下:
首先在输入端加一个小于2.1伏的电压,则复合管不导通(三个小功率硅管的b~e结导通压降之和约为2.1伏),这时稳压管D\(_{1}\)被击穿(击穿电压为8伏左右),电流由电源经R2、D\(_{1}\)注入T4基极,使T\(_{4}\)导通并饱和,T4的饱和压降V\(_{C4}\)=0.3伏,这个小电压不能使D2击穿,因此D\(_{2}\)截止,T5、T\(_{6}\)也由于无基极电流而截止,输出(2端)为高电平。当输入电压达到2.1伏时,复合管导通,T3处于饱和状态,V\(_{C3}\)=0.3伏,因此D1、T\(_{4}\)截止,VC4升高,稳压管D\(_{2}\)被击穿,电源经R3、D\(_{2}\)向T6注入基流,使T\(_{5}\)、T6导通,输出为低电平。如果在输出端接有继电器,则当T\(_{5}\)、T6截止(输出高电平)时继电器释放;T\(_{5}\)、T6导通(输出低电平)时继电器吸合。也就是说,输入大小不同的信号,能够控制继电器的动作,从而达到自动控制的目的。
该电路在设计中有它自己的特点。其中一个特点是触发灵敏度高。所谓触发灵敏度是指输出端由高电平变成低电平时,需要提供的最小输入电流,即T\(_{1}\)的最小基流,也叫触发电流。由图1可见,T1、T\(_{2}\)、T3三级复合管的总β值相当于三个管子的β的乘积,即β\(_{总}\)=β1·β\(_{2}\)·β3。假设每一级管子的β值均为20,则β\(_{总}\)=20\(^{3}\)=8000。T3管饱和时的集电极电流I\(_{C3}\)=EC-V\(_{ces3}\)R2=12V-0.3V;8.2K≈1.43mA,所以复合管的输入端只需有I\(_{P}\)=IC3β\(_{总}\)=1.43mA;8000≈0.18μA的注入电流即可,也就是说小于1μA的输入电流就能使输出电压由高电平变成低电平。
电路的另一特点是三级反相器之间的耦合采用稳压管D\(_{1}\)、D2。在集成电路工艺中,这种稳压管可以很方便地由三极管的e~b结代替,其反向击穿电压为8伏左右。这样高的反向击穿电压保证了T\(_{3}\)饱和时T4可靠地截止,T\(_{4}\)饱和时T6可靠地截止。因此电路的抗干扰能力很强,工作稳定可靠。此外,稳压管在其稳压值附近动态电阻很小(这一段电压电流特性曲线很陡),即很小的电压变化将引起很大的电流变化,因此用稳压管作级间耦合,电路状态翻转很“干脆”,即电路的开关性能好。
电路的第三个特点是输出级采用T\(_{5}\)、T6的串联形式,这就使输出管截止时能够承受较高的电压,加上输出管导通时输出电流也比较大,因而能够直接驱动小型继电器,而不必另外配备小功率晶体管,从而简化了线路,节省元件。
组成触发器电路
前面谈到,JEC—2型集成电路块能够组成各种触发器电路。其中用得最多的是射极耦合触发器。如果管脚8通过电阻R\(_{e}\)接地(见图2),就构成一个射极耦合触发器。为了便于分析,我们把图2分成三部分:第一部分是T1、T\(_{2}\)组成的射极跟随器,仅对输入电流起放大作用;第二部分是由T3、T\(_{4}\)组成的射极耦合触发器;第三部分是反相放大器,用以带动负载。下面重点分析由T3、T\(_{4}\)组成的射极耦合触发器的工作原理。

和普通射极耦合触发器一样,该电路有两个稳态:T\(_{3}\)截止T4饱和为第一稳态;T\(_{4}\)截止T3饱和为第二稳态。假设直接从T\(_{3}\)基极输入三角形电压(见图3),当输入电压Vb3从0开始上升时,电路处于第一稳态。但当V\(_{b3}\)上升到图3中的E点时,T3开始导通,R\(_{2}\)中开始有T3的集电极电流I\(_{C3}\)通过,因此VC3开始下降。V\(_{C3}\)的下降,使VD1、V\(_{b4}\)都减小,但起初减小的数值不大,不影响D1的导通,也不影响T\(_{4}\)的饱和状态。如果VC3继续下降,则T\(_{4}\)将会首先脱离饱和而处于放大状态,这时只要VC3再减小一点(即I\(_{C3}\)再增加一点),则将使T4的射极电流大幅度减少,而这个减少的值远大于I\(_{C3}\)增加的值,因此总的效果是使Re上的压降减小,也就是使T\(_{3}\)的Vbe增加,这就构成了正反馈,从而引起一个连锁反应:
T\(_{3}\)导通→IC3↑→V\(_{C3}\)↓→Vb4↓
↑ ↓
V\(_{be3}\)↑←VRe↓←I\(_{C4}\)↓

当然I\(_{C3}\)不会无限上升,当T3饱和、T\(_{4}\)截止(D1随同截止),即达到第二稳态后,连锁反应便告结束。全部过程速度极快,所以V\(_{C4}\)突然由低电平上升到高电平。以后Vb3继续上升,电路将保持第二稳态不变,一直到V\(_{b3}\)经三角形顶点下降,并再降至E附近时,电路又将发生反方向的连锁反应:
T\(_{3}\)脱离饱和
→V\(_{C3}\)↑→Vb4↑→I\(_{C4}\)↑
↑ ↓
I\(_{C3}\)↓←Vbe3↓←V\(_{Re3}\)↑
结果又使T\(_{3}\)迅速截止,T4迅速饱和,图3中V\(_{C4}\)由高电平突然降为低电平,电路重新回到第一稳态。
需要说明,无论是把JEC—2集成电路块接成射极耦合触发器,还是作为三级反相器使用,本质上没有区别。只是由于触发器电路多接了一个电阻R\(_{e}\),因此在T3、T\(_{4}\)状态翻转时增加了正反馈的因素,使状态翻转得更“干脆”,电路的开关性能更好。
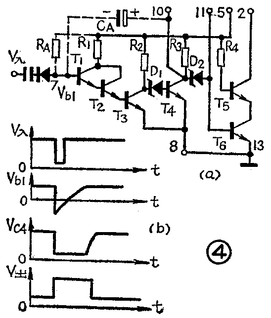
JEC—2电路还能接成单稳态触发器,如图4a所示。图4b为各点的波形图。当没有负脉冲触发信号(V\(_{入}\))输入时,电源电压通过外接电阻RA使复合管导通,这时V\(_{b1}\)=2.1伏,T4截止,T\(_{5}\)、T6导通,电路输出端(2脚)为低电平,V\(_{C4}\)=VD2+V\(_{b6}\)=8伏+0.7伏=8.7伏。当触发信号V入到来时,V\(_{b1}\)突然下降,复合管截止,T4导通并饱和,输出端也由低电平变为高电平。触发信号是一个窄脉冲,它很快便消失。但由于T\(_{4}\)由截止变成饱和状态,因此使VC4的电位突然下降8.7伏-0.3伏=8.4伏,这个变化通过C\(_{A}\)传到T1的基极,使T\(_{1}\)的基极电位也下降同样的数值,原来Vb1为2.1伏,下降后则为2.1伏-8.44伏=-6.3伏,因此触发信号消失以后复合管仍然截止,输出端继续维持高电平。以后电源便通过R\(_{A}\)对CA反向充电(充电电流通过T\(_{4}\)到地),使Vb1的电位不断升高,当上升到2.1伏时,复合管又导通,电路状态全部翻转,单稳延时结束。每来一次触发信号,电路就重复上述过程。单稳延迟时间决定于R\(_{A}\)、CA的值。

基本参数和测试线路
JEC—2集成电路块采用扁平陶瓷封装,见图5a,剪短的一脚为第一脚。它的通用符号见图5b。为了筛选方便,下面介绍它的基本参数和测试线路。

空载电流I\(_{CCL}\):测试线路见图6a。电路接好以后,毫安表的读数就是空载电流,小于10mA合格。
输出高电平V\(_{OH}\):测试线路见图6b。电压表的读数就是VOH,大于11伏合格。
输出低电平V\(_{OL}\)和负载能力IH:测试线路见图6c。7脚加一直流电压信号,使输入电流大于10μA,则2脚对地电压就是V\(_{OL}\),应小于2伏。而毫安表指示在20mA以上,如果适当减小一点RL,毫安表指示还可增大。在V\(_{OL}\)不高于2伏的前提下,IH可达30mA以上。

输出管反向击穿电压BV\(_{CeR}\):测试线路见图6d。当测试电压增大到电流表中的读数为200μA时,电压表的读数即为BVCeR,这个数值要大于12伏。
触发灵敏度I\(_{P}\)和触发电平VG:测试线路见图6e。调整电压E值,使7脚输入电流逐渐增大,当电压表V\(_{2}\)的读数由VOH突然下降到V\(_{OL}\)时,微安表的读数即为IP,该数小于10μA合格,而这时电压表V\(_{1}\)的读数即为VG,小于2.5伏合格。
广泛的应用
JEC—2型集成电路块在脉冲技术中可以用作脉冲整形、电压鉴别、电平转换等等。用于脉冲整形时可以把正弦波、三角波以及其它各种形状的波形变为前后沿很陡的方波或短形脉冲。图7就是将单结晶体管振荡器所产生的尖脉冲整形输出为一系列的矩形脉冲的电路。

电压鉴别器和脉冲整形电路相同。但电压鉴别器的输入信号是幅度不相等的一串脉冲(见图8)。如果我们使触发电平等于规定的幅度E,那么幅度超过E的脉冲就能使电路翻转,因此有脉冲输出;而幅度小于E的脉冲不能使电路翻转,因此没有脉冲输出,就达到了电压鉴别的目的。

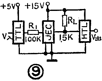
在脉冲数字电路中,有时会遇到TTL电路与HTL电路的联接问题。由于TTL输出高电平V\(_{OH}\)≥3.5伏,超过JEC—2的触发电平(小于2.5伏),而TTL输出低电平VOL≤0.35伏,低于JEC—2的触发电平,因此用TTL输出的高低电平能够可靠地控制JEC—2电路输出管的导通与截止;另一方面,HTL的开门电平为9.5伏,JEC—2输出的高电平大于11伏,完全能使HTL导通,而JEC—2输出低电平小于2伏,低于HTL的关门电平(6伏),因此用JEC—2电路作TTL与HTL的电平转换电路是十分方便的。其联接方式参看图9。

用JEC—2集成电路块可以构成各种不同形式的延时继电器。图10是一个延时吸合时间继电器原理图。电源接通以后便经R\(_{T}\)向CT充电,C\(_{T}\)二端电压呈指数曲线上升,当该电压到达触发电平时,电路状态翻转,继电器吸合,延时结束。延时时间由RT、C\(_{T}\)决定。由于JEC—2的触发灵敏度极高,因此RT可以选得很大,延迟时间很长,这是它的突出优点。调节R\(_{e}\)可以改变触发电平,因而可以方便地调整延迟时间(主要用于微调)或校正误差。

上述延时电路加一级反相器就可构成限时动作继电器,见图11。当按下按钮AN后电源接通,由于这时电容C\(_{T}\)两端的电压为0,所以JEC—2的输出为高电平,晶体管BG导通,继电器J吸合,其一组常开接点J1自保,同时使电容C\(_{T}\)开始充电。当CT充电到触发电平时,JEC—2输出管由截止变导通,使BG由导通变截止,继电器J释放,限时动作结束。以后每按一次按钮,继电器便吸合一次。和继电器线包并联的二极管起续流作用,保护晶体管BG。

JEC—2型集成电路块可以和热敏电阻、光敏电阻、压敏电阻等等能够把各种物理量转换为电参量的元件结合起来,组成各种各样的自动控制线路。图12是用热敏电阻组成的恒温控制线路。图12a是当温度高于预定值时,热敏电阻阻值迅速变小,其压降便低于JEC—2的触发电压,因此继电器释放。图12b是当温度高于预定值时,继电器吸合。如果继电器接点通过接触器去控制电炉电源的通断,则能达到恒温控制的目的。把热敏电阻换成光敏电阻或压敏电阻,同样能进行相应的控制。


JEC—2电路还能方便地用于水位控制,见图13。水位的高低由金属棒A、B和C决定。如果容器内的水位很低,由于极棒A、C之间被空气绝缘,JEC—2电路无输入电流,因此输出管是截止的,继电器J不吸合。这时可由继电器常闭接点通过接触器启动水泵向水箱灌水,待水位达到A点时,极棒A和C通过水而导电,JEC—2有触发电流输入,于是电路翻转,继电器吸合,常闭接点断开,切断了水泵电源,水泵停止工作。由于B棒由继电器常开接点J\(_{1}\)自保,因此水位再降到A以下时,继电器并不立即释放,必须等水位降到B点以下时,继电器才释放,水泵再开始工作,这样就使水箱内的水位总保持在A、B之间。