春雷3T4型12管台式半导体收音机,外型美观大方,性能优良,收听效果较好,深受广大群众的欢迎。为了帮助大家做好维修工作,现将这种收音机经常出现的一些故障现象和修理方法介绍出来,以供参考。本文分低频电路、中频电路和高频电路三部分。
低频电路
春雷3T4收音机的低频电路由主放大器、音调网络和射极跟随器组成,见图1。

一、主放大器。主放大器由BG\(_{7}\)~BG12组成,是一个典型的0TL电路。这部分常有以下几种故障。
1.中点电压调不准。在正常情况下,中点电压为直流电源电压的一半即-12V。此时微调电阻W\(_{7}\)的阻值应调在100KΩ左右。如果出现:(1)中点电压偏高(高于-12V)。这多半是IC8过小的缘故。可能是①BG\(_{8}\)损坏;管脚开焊;β太小。②BG9、BG\(_{11}\)耐压不够而击穿。 ③电路产生自激,此时应检查BG10是否良好,反馈网络R\(_{34}\)、R36、C\(_{58}\)是否开焊或损坏。(2)中点电压偏低(低于-12V)。这多半是由于IC8过大而引起的。可能是①BG\(_{8}\)、BG10、BG\(_{12}\)的耐压不够而击穿。②BG8的I\(_{ceo}\)或β过大。③C58漏电,特别是C\(_{58}\)击穿时,中点电压会很低。④C56极性接反、漏电、击穿。⑤C\(_{55}\)击穿。⑤C59击穿。当C\(_{59}\)击穿时,整机动态电流比正常值大得多,严重失真,BG11,R\(_{44}\)发烫。⑦由于反馈网络直接由中点经R36、R\(_{34}\)通地,当BG10不良(或基极开焊),W\(_{8}\)接触不良都会使BG8的集电极电压升到8伏以上,而此时中点电压仅有-2伏左右。(3)中点电压不稳。当有交流讯号时,中点电压在1~2伏范围之内变化是正常的,变化太大就是有故障了。故障可能是①R\(_{44}\)、R45的阻值变大。当R\(_{44}\)、R45烧毁时,现象更为严重。若R\(_{45}\)烧坏,中点电压随音量开大而升高,同时伴有BG10、R\(_{43}\)发烫。R44烧坏时,中点电压随音量开大而明显降低,并伴有BG\(_{9}\)、R42发烫。②功放管BG\(_{11}\)、BG12不配对。③BG\(_{8}\)的耐压不够或穿透电流太大。
2.无信号时电流过大。正常时,断开B点将万用表串进A点。此时调整可变电阻W\(_{8}\),BG7~BG\(_{12}\)的静态电流应为20毫安。远远大于此值则可能是①D4损坏或极性接反(正常时D\(_{4}\)两端有0.6~0.7伏的电压)。②微调电阻W8接触不良;R\(_{39}\)阻值远小于100Ω。④C59击穿。⑤整流管D\(_{5}\)~D8损坏(见图1),功放管BG\(_{11}\)、BG12损坏都能使整机电流增大。此时将万用表串在C点测量。
3.有信号时电流过大。正常情况满输出时,8Ω负载上有7伏交流电压,约6瓦。此时C点电流约400毫安。若输入中等信号时,C点就达到500毫安以上,并且功放管发烫,声音失真,则应检查C\(_{59}\)是否击穿或输出端有无短路点。
4.音量不足。该机功放级有较大的富裕量,使用时音量电位器只需开到1/3的位置就已很响了。如果开到1/2以上,还感到音量不足,则故障可能是①BG\(_{8}\)耐压不够,线性不好。②功率管BG11、BG\(_{12}\)不良,饱和压降大或β太小(<25)。③C57失效或击穿。④R\(_{34}\)阻值变大。⑤喇叭烧坏或音圈被卡住或磁钢退磁。
5.失真。该机频响较宽(50H\(_{Z}\)~10KHZ±2分贝),有较好的放音效果。如发现声音沙哑,阻塞等失真现象,一般是①C\(_{59}\)容量不足,产生输出电压削波(如图2),并且随着频率的降低削波越严重。②BG12基极与地短路,使输出波形上下不对称,其失真波形如图3所示,并且伴随BG\(_{1}\)0发烫。③功放管BG11、BG\(_{12}\)严重不对称,特别是BG11的β值太小,输出端产生如图4所示的这种波形失真。④BG\(_{1}\)0线性不良,耐压不够,将输出一个如图5那样的波形失真。⑤C57漏电、击穿会产生图6那样的波形失真。此外如扬声器音圈被卡住也会造成严重失真。

二、音调与射极跟随器。BG\(_{5}\)接成射极跟随器,其输入阻抗达到100KΩ左右。音调部分采用衰减式网络,有较大控制范围。这部分常见的故障有以下几种:(1)高音变化不明显。这可能是①BG5发射极或BG\(_{8}\)基极与地短路。②W5中点与C\(_{51}\)一端短路。③C42外壳与R\(_{23}\)相碰。(2)低音变化范围小或不起作用。这可能是①电位器W5中心点与R\(_{27}\)相碰。②R28阻值变大。③R\(_{3}\)0与C51发生短路。(3)C\(_{52}\)击穿时高低音变化范围减小而且高低音电位器相互牵连。其原因是当C52短路时,W\(_{6}\)下端接地,使得W5和W\(_{6}\)相当一个并联的音量调节器。(4)调节音量电位器W4伴有延迟现象,多半是C\(_{46}\)漏电或击穿。(5)调节音调电位器W5或W\(_{6}\)伴有延迟现象。多半是C48漏电或击穿。(6)音量开关W\(_{4}\)关不死:①电位器W4不良。②C\(_{45}\)与R26两元件外壳相碰。③C\(_{48}\)与C41外壳相碰。
三、低放电路的自激、交流声和增益降低。
1.自激:低频自激一般有以下几种情况:(1)接地点不良。高质量放大器对走线、接地点有严格要求,如接地点不正确就会引起自激。(2)C\(_{59}\)击穿。(3)负反馈电阻R36阻值变化或接错,开焊。(4)C\(_{57}\)与C48两电容外壳相碰。(5)BG\(_{1}\)0耐压不够,穿透电流过大、线性不好、(6)高音电位器W6中心点与地短路。
2.交流声。该机低放电路选择了合理的排列布线。一般在拾音位置,音量、高低音电位器全部开到最大时,交流声、噪声在15mV以下。如果远远大于此值就有可能①C\(_{42}\)、C60失效或假焊。②R\(_{34}\)短路、R36开路。③C\(_{59}\)击穿。④BG7~BG\(_{12}\)静态电流(即断开B点的A点电流)调得太大。⑤R44一端与保险丝外壳相碰。③电源线离拾音开关太近。此时可以把电源插头反插试试。
3.增益低。在低频电路正常的情况下,放在收音位置上,电压增益应为50分贝左右。如远远小于此值,则可能①C\(_{47}\)失效,R26、R\(_{34}\)阻值变大。②某一级晶体管工作电流不正常或管子损坏。如果收音状态正常而拾音状态音量不足则多半是①BG5漏电流过大或C\(_{41}\),C45漏电、击穿。②推键开关接点不良。
4.无声。这可能是①保险丝烧断。②BG\(_{11}\),BG12与线路板接触不良。③喇叭损坏或接线断。
中频电路
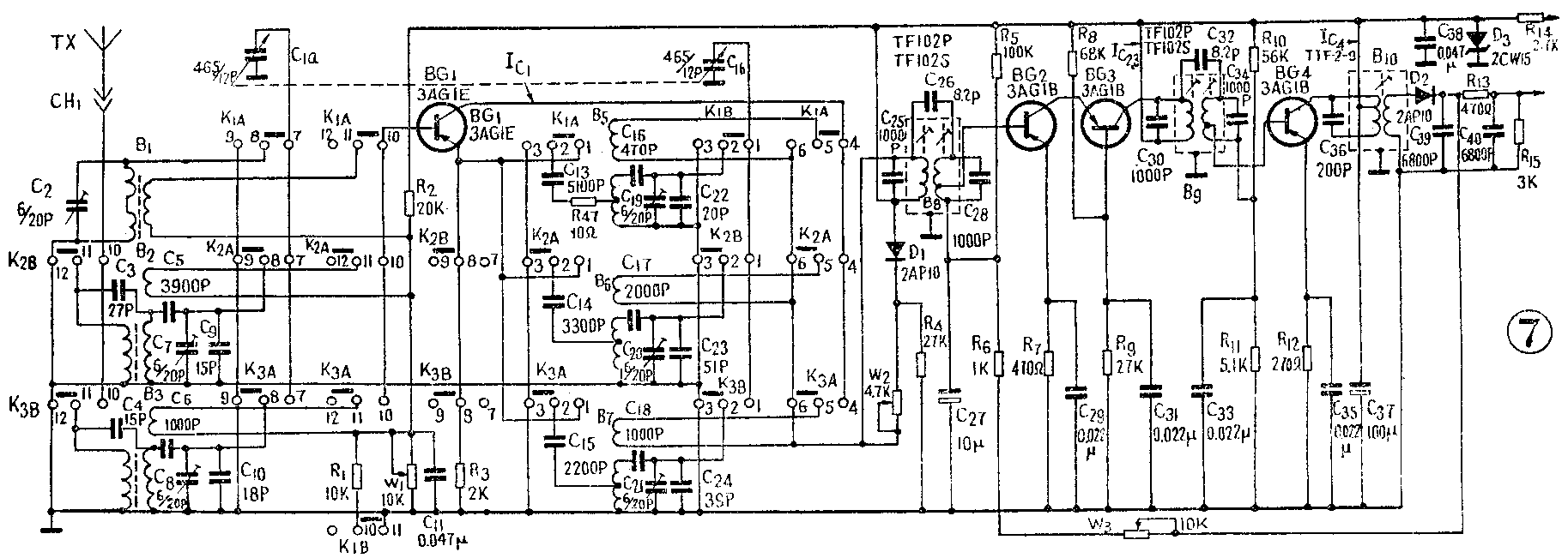
中频放大器采用了一级共发—共基电路见图7,所以较一般中放稳定,并且增益也高10分贝左右。中频电路常见的故障有:

1.供电电路不正常。整个中频的电源由-24V通过限流电阻R\(_{14}\)和D3稳压后供给,在正常值况下, D\(_{3}\)两端电压为7.5伏。造成供电电压不正常的原因有:①D3击穿或极性接反。②C\(_{38}\)击穿。③R14变值远远大于2.7KΩ。④TTF—2—9初次级短路。⑤中周内外引线与外壳相碰。⑥振荡线圈引线接错;初次级短路。⑦波短开关短路,C\(_{1a}\)接线与BG1集电极短路。
共射—共基放大器的直流电路可简化为图8。由图可以看出I\(_{e2}\)=Ib2+I\(_{C2}\)=Ib2+I\(_{b3}\)=Ib2+I\(_{b3}\)+Ic3。晶体管的基极电流与集电极相比一般很小,可近似认为I\(_{e2}\)≈Ic2≈I\(_{e3}\)。所以两集电极电流几乎是相等的。图中R8、R\(_{9}\)是为使BG3基极的电位高于BG\(_{2}\)的集电极而加的偏置电路。当C31、C\(_{27}\)击穿时出现本级无直流电流;D2击穿时该级电流减小或调不起来。

2.无中频输出:在7.5伏电源和各级电流都正常情况下,如中频放大器还不工作,则可能是:①R\(_{13}\)断开或变值。②拾音开关不良或与地线短路。③TTF—2—9中周内部短路。④C39、C\(_{4}\)0击穿。
3.中频输出不足。当中频放大器的共射—共基电路元件损坏时,会出现中频增益下降,其原因是:①大信号阻尼二极管D\(_{1}\)击穿或极性接反。②D2反向阻值不够。③微调电阻W\(_{2}\)短路。④C29、 C\(_{31}\)31、C37、C\(_{35}\)假焊或失效。当C37、C\(_{39}\)、C40。失效或假焊时也可能出现自激。此时中频特性从扫频仪上见到的曲线如图9所示。通带比正常时窄,有毛刺。⑤R\(_{4}\)变值。⑥C26、C\(_{32}\)容量不足。⑦BG5击穿或C\(_{41}\)击穿。

4.中频自激。造成中频自激的原因是:①C\(_{27}\)容量不够或断线会产生自激。②BG4的漏电流过大或管子线性不良。③C\(_{37}\)失效或B10中周引线脱焊。④C\(_{39}\)、C40脱焊或失效。⑤D\(_{2}\)极性接反。
高频电路
高频电路由输入回路及变频回路组成如图7所示。当推键开关的某一组出现如失锁、卡住等故障都会造成无声或灵敏度下降。常见故障是:
1.频率调不准。在正常情况下,本机的频率覆盖范围有较大富裕量。低端靠调整振荡线圈的磁芯,高端靠调节补偿电容。这部分的故障有:(1)波段低端调不准①中波振荡线圈不良,磁芯导磁率不够。②C\(_{16}\)的容量不对。③短波振荡线圈不良;C17,C\(_{18}\)数值不准。(2)波段高端调不准这是因为①中波C22不对,C\(_{19}\)失效。②短波C23、C\(_{24}\)数值不对;C20,C\(_{21}\)失效。
2.三个波段灵敏度均很低,短波尤其明显。故障可能是:(1)微调电阻W\(_{1}\)接触不良,假焊。(2)输入回路次级短路或断路。(3)C11、C\(_{27}\)、C37、C\(_{38}\)假焊或失效会造成整机噪声增大,灵敏度下降,中波出现严重啸叫、自激。短波出现停振或噪声很大。(4)双连可变电容受潮,动定片之间有水珠或污物。用万用表R×10K挡测量双连的动定片之间绝缘电阻。正常时表针无偏动。如表针有偏动则说明动定片绝缘不良。严重时只有数KΩ,使灵敏度大为降低,甚至停振、无声。
3.某一波段灵敏度偏低、无声。这可能是:(1)该波段磁性天线线圈位置松动。偏离统调点或天线线圈中断。(2)中波天线线圈不起作用。多半是线圈内部短路或导磁率低引起的。(3)中波高端灵敏度低是由于R\(_{47}\)变质、C2开路或失效,线路板高频部分漏电。(4)短波天线不起作用,多半是天线线圈要断、假焊、脱焊、圈数不对或磁性材料不良。(5)短波低端灵敏度降低甚至停振是由于短波的C\(_{14}\)、C17、C\(_{15}\)、C18损耗过大造成。(6)短波高端灵敏度低甚至停振,可能是①BG\(_{1}\)截止频率不够高或静态电流过小(正常值为0.6—0.8毫安)。②C3、C\(_{4}\)假焊、失效,使回路失谐很大,造成灵敏度低。③C11假焊或失效可造成停振或噪声大。
4.自激。高频部分调试不当,或有了故障也会产生自激。通常有以下几种:(1)在中波段,当双连电容快要全部调进时出现叫声,多半由于中波天线线圈松动后太靠近磁棒中心造成的。可以把线圈向边缘推一点。统调时若发现自激可以把天线次级两个头对调。(2)某个波段发出强烈的啸叫声,这多半是这个波段的振荡线圈次级断开或C\(_{13}\)、C14、C\(_{15}\)失效或假焊造成。(3)调到电台时就伴有叫声,可能是C37失效、假焊造成的。(4)电台调不准,伴有严重的刺耳尖叫声,这多半由于C\(_{27}\)容量不够或失效。(5)短波发出自激叫声,是C11失效或假焊引起的。
5.象频干扰:本机短波Ⅱ高端18兆周象频干扰指标是6分贝,实际上大都在10分贝以上,当出现以下故障时,会使该项指标下降。出现的原因是①BG\(_{1}\)电流过大。②输入回路圈数不对。③C14、C\(_{15}\)数值大大超过规定值。④C3、C\(_{4}\)数值改变。⑤C7、C\(_{8}\)未统调好。
6.调制交流声。该机采取了一定措施,保证在调准电台时调制交流声及噪声很小。此时若将音量音调电位器全部开足,信噪比可达40分贝以上,偏调时也在20分贝以上。如相差甚远多半有以下故障:①双连本身有松动,可涂环氧树脂加固。②振荡回路元件有松动。③中周磁芯与底座松动。④C\(_{37}\)、C38失效;R\(_{14}\)阻值远远大于2.7KΩ,使D3不能正常工作。⑤D\(_{3}\)稳压特性不良。有些业余爱好者用3DG一类废硅管的eb结反向接入电路代替D3,虽然经济些但效果还不如2CW15好。容易在大信号或短波时产生调制交流声。⑥BG\(_{1}\)电流太大(如Ic>1毫安)也容易产生调制交流声。⑦电源变压器静电隔离不良。⑧振荡线圈的磁芯不良。③某处因布线或去耦不良而产生的高频自激都可能产生调制交流声,从而触发造成机震。这可以改善布线,排除自激。或用0.01微法左右瓷介电容并接在4只桥式整流二极管(D\(_{5}\)~D8)上。可以获得较好效果。(上海无线电三厂 李传钟)