显象管是电视机的关键部件,如果出现故障,就会影响电视机的正常收看。现介绍一些显象管漏气、漏电、短路和打火等故障的检修方法。
一、检查方法
1.漏气
显象管的漏气故障,可用直接观察的方法进行检查。在电视机正常工作的条件下,如果发现荧光屏的亮度有变暗,散焦,并在电子枪部分出现紫红色辉光放电现象,即可断定显象管已经发生漏气故障。还可按图1所示电路,将阴极、调制极、加速极和聚焦极并联接地,然后接通高压,如在管颈部分出现蓝色或紫红色辉光,也说明显象管已经漏气。辉光放电的亮度,反映显象管漏气的严重程度。漏气严重,显象管将失去放射电子的能力。另外,显象管内消气剂变暗、变白;电子枪的金属光泽变暗、变灰或变黑,也是判定显象管漏气的依据。

一般情况下,显象管产生漏气故障是无法修复的。
2.漏电、短路
显象管电极之间的漏电、短路故障,可用测量电压的方法来检查。接通电视机的电源,测量显象管各管脚的电压如果发现某电极电压偏离正常值,然后将管座拔下,再测该极管座电压是正常的,则说明显象管内部有漏电或短路故障。对于电极之间漏电严重或短路的显象管,也可用万用表分别测量各电极之间的电阻值的方法来检查,测量时必须将显象管管座拔下,并将电源断开。如果测出的电阻值为零,说明被测二电极之间已短路;被测二电极之间有一定的电阻,说明极间有程度不同的漏电。
对于显象管内部漏电不很严重的管子来说,往往用万用表测不出来,因为万用表内仅有数伏的电压,一定要在漏电电极上加数百伏的电压才能观察出漏电现象来。对于晶体管电视机,可采用400伏电压;对于电子管电视机,可采用240伏、560伏电压,然后串接一个限流电阻和氖灯,如图2所示。根据氖灯的亮暗程度来判断极间漏电的大小,氖灯越亮,说明漏电越严重。此种方法是比较灵敏的,对于极间有数十兆欧的漏电电阻也能检查出来。

3.打火
显象管内部打火时,电子枪两电极之间有明显的电火花和闪光出现,整个光栅也随着放电而变暗,图象还会暂时失去同步,在伴音中也发出较强的“卡啦”声。打火严重时,光栅会消失,荧光屏的不同位置上会出现一闪一闪的棉花状白色光区。如果显象管采用胶木管座,打火时因管座放电碳化,在暗处可以看到胶木发出的暗红色,同时还伴有胶木味。
二、排除方法
在排除一只显象管的内部故障之前,首先要测量阴极发射电子的能力,判断一下显象管有无检修价值。可在灯丝上加额定电压,用万用表欧姆档测量显象管阴极和调制极之间阻值的方法判断,一般在500KΩ以下者,均属于有检修价值的管子。
检查出显象管某二极之间漏电、短路、打火后,可以用下列方法进行排除。
1.将漏电或短路电极之一,接到整流后的高压电源上(即第二阳极电压),如图3所示。然后用一根接地线碰触另一电极,使拉弧放电,数秒钟后,即将极间导电的污迹烧掉。也可将漏电电极之一先接到电视机的地线上,然后将高压引线固定在一根绝缘棒顶端(玻璃棒、塑料棒等),除灯丝外,逐个碰触其他电极,使之拉弧放电。进行操作时一定要防止触电(此种方法只适用于电子管电视机)。

2.如用上述方法还不能将漏电或短路电极间污迹烧掉,可以采用电容放电的方法来加大放电电流,电路如图4所示。首先将电容器C接在电视机内240伏直流电源上充电,然后再将已充电的电容器与待修显象管的两电极相接触,此时即有大电流通过导电污迹,将其烧掉。电容器C可用20μ/450V的电解电容器。若采用机内560伏的电压时,电容器可采用两个20μ/450V的电解电容串联。

3.显象管的管座及引线不动,只将其中漏电电极的引线拆下,在全机通电的情况下,再用一根接地线与该电极接触,开始接触时有火花放电,以后不再放电时,说明管子的漏电故障已经排除。故障排除后,再将引线焊回原位。
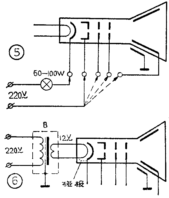
4.对于漏电严重或短路的管子,可用一只220伏、60~100瓦的电灯泡组成串联电路,如图5所示。将此电路接到显象管有故障的两个电极上,经过一定时间,就可将导电污迹烧掉。
显象管灯丝和阴极之间的漏电、短路故障,可采用外加变压器的方法进行隔离,使阴极、灯丝与地悬浮起来,具体电路如图6所示。

当显象管加速极和聚焦极之间的漏电、短路故障用上述方法均无效时,可把这两个电极连接起来,如图7所示,然后在额定聚焦电压范围内选取一个聚焦较好的电压接上,显象管仍能继续工作。

如果有的显象管打火严重,用上述方法仍不能排除时,对于电子管电视机,可采用全机降压的方法来减弱或排除。用500瓦小型自耦调压变压器来降压,使电源电压从220伏逐渐下降,直到显象管内部不打火为止。对于打火较严重的显象管,一般当电源电压降到180~200伏时,打火现象即可消除。(王本轩)