在工业生产的流水线上,经常需要对一些细长线状的物体进行外径规格的检查和测量。目前常用的方法是用千分尺对被检查的物体进行卡测,这不仅速度慢,而且抽样代表性差特别是对一些外径很细的物体,如棉纺行业的涤棉纱线、缝纫业中用的各种绞线和电工中常用的各种规格的漆包线等等,它们在卡式测量中很容易受力变形,造成误差。
我们试制的双线检测器,是一种适用于对各类细长线状物体外径的大小进行快速检测的电子仪器。我们用它来检测自动穿经分纱机分出的φ0.20毫米左右的棉纱线。要求分纱机每次分出一根经线,如果偶尔分出了两根经线(即双线),检测器就能及时鉴别、指示出来,带动机械装置关车。由于分纱机的分纱动作不但快而且是连续工作,所以要求检测器要具有很好的快速响应特性。该检测器在上海第一织布厂经过三年多连续工作考验,达到双线检测率为99.98%,单线误检率为004%。
工作原理
图1是双线检测器的方框图。光源采用砷化镓发光二极管,经聚光后成平行光束,照射到可调狭缝装置里的硅光电池上。当单、双线经过狭缝时,硅光电池上产生了相应的信号(见图2a)送到前置放大级进行比例闭环放大。放大后的信号输入到电压鉴别器上,如前置放大器送来的是双线信号U\(_{双}\),它的幅值大于鉴别器的开门电压值,使电路触发翻转,送出一个负脉冲;如送来的是单线信号U单,则它的幅值不足以触发鉴别器,没有脉冲输出。由于双线扫过光狭缝的速度较快,双线信号的脉定很窄,不能使执行级的继电器可靠吸合,所以在鉴别器后面又加了一级单稳态触发器,起延时作用,使继电器有足够的吸合时间,带动机械关车装置,并亮红灯和发出报警声。


检测头的结构
检测头是准确地区别单、双线的主要部件,图3是它的结构示意图,由光电池、可调导轨门、调节螺丝、固定导轨门、绝缘有机玻璃、支架等六部分组成。正对着狭缝放着一块光电池,为了适应不同粗细直径的线状物体,把狭缝结构设计成由两扇导轨门组成的可调光栏。为了制作简单,把一扇导轨门固定,另一扇门可左右调节,狭缝宽度的可调范围d=0~5毫米。
我们用线径为0.20毫米的纱线,经过实验,得出狭缝宽度d和电压差ΔU之间的关系如图4曲线所示(ΔU=U\(_{双}\)-U单)。从曲线可知,狭缝宽度越小,电压差越大。但在实际运转时,双线排列并不很紧密,往往线与线之间有一定的距离,有时甚至达到线径φ的2~3倍。从图4可看到,d=4φ~7φ这一段曲线较为平坦,所以选d= 5φ较为合适。在实际应用中对狭缝宽度d进行了一些修正,修正系数K=1.3。实际光狭缝宽度d=5×被测线径×K,当被测线径为0.20毫米时,d=1.30毫米。

通过实践知道检测长度为20~25毫米时,检测头的识别能力和抗干扰性能最佳。所以取光狭键的长度为20毫米。
硅光电池在接负载后,要使检测物体的光投影面积与输出电压成比例关系,必须使光电池有一较适当的预置电压,以克服光电池输出特性的非线性,提高检测灵敏度。这预置电压称为光电池静态门电位(V\(_{静}\))。V静和ΔU之间的关系如图5所示。用线径为0.20毫米的纱线做实验得知,当V\(_{静}\)为200~210毫伏时,电压差ΔU为最大(ΔU=35毫伏)。
光源和电子线路
1.光源:为了提高检测精度,要求光源发光强度非常稳定,否则光照强度一变化,光电池的静态门电位就改变,引起ΔU减小,造成双线漏检和误动作增多。我们采用的是HG52型砷化镓发光二极管(北京崇文光电器件厂的产品),其优点为:
a,工作电压低、电流小、耗电省、发热量低。
b,属固体发光元件,它没有灯丝,机械强度高、体积小、不怕震动。发光波长为9500埃的近红外光。
c,发光强度极为稳定,寿命长(约5~6万小时),并可调制。
2.光电接收器:我们选用2DR型硅光电池,面积为20×10(毫米)\(^{2}\),转换效率=11.3%。
使用硅光电池的时候,必须注意它的电压—电流特性。就是说对于不同的应用对象,应该选用不同数值的负载电阻值,否则不能得到较好的效果。图6是通过0点的负载线和一定照度时的电压—电流之间的关系。在双线检测器中对光电池输出的要求是:单双线光电投影面积的变化和光电池输出的电压和电流之间的变化要呈线性的同比例的关系,这样才能使单、双线信号不受压缩,以便取得尽量大的ΔU值。一般情况下元器件厂推荐的负载电阻值为4KΩ,在这检测器中应用时,经试验用2KΩ效果较好,但输出电压幅值较小,这就需要用高放大倍数的前置放大级电路来进行处理。

3.前置放大级:前置放大级实际上是一种小信号放大器,用来将硅光电池产生的U\(_{单}\)、U双信号进行放大,使放大后的信号达到后级电压鉴别器能正常工作的幅值。这里采用5G23集成运算放大器(上海元件五厂生产)作前置放大级,见图7。放大倍数决定于(W\(_{1}\)+R4)与R\(_{2}\)的比值,放大倍数在一定范围内可以调节(R4为粗调,W\(_{1}\)为细调),而不会影响电路的输入阻抗和输出阻抗。为了使前置级放大倍数稳定,这几个电阻要用金属膜电阻。前置级的输出波形见图2b。
图7中R\(_{1}\)为硅光电池负载电阻,C1用来泄放外界干扰的高频尖脉冲,W\(_{2}\)用来调整放大器使在无输入信号时输出端为0。C3为防振电容,为使放大器有一定带宽,C\(_{3}\)和R5取得比较小。C\(_{2}\)为隔直耦合电容。

由于放大器增益较高,而车间里强电干扰又多,硅光电池与前置放大器的引线一般不能超过1.5米。
4.电压幅度鉴别器:采用上无八厂生产的JEC—2集成电路组成施密特触发电路,其作用是鉴别前置级送来的被放大后的光电脉冲信号是否超过一定的门限值,并把大于鉴别器门限值的信号放大整形后输出。
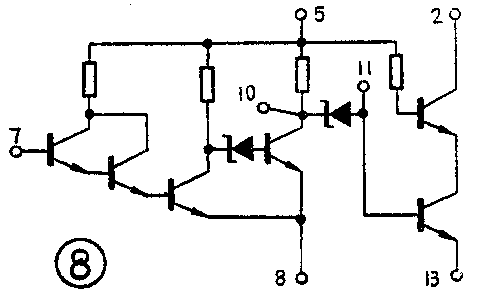
JEC—2的内部电路见图8,它的输入级是由三个晶体管组成一个复合管,它只需要很小的触发电流(约10μA左右)就可以正常工作。因5G23输出的正向电流较小(约2mA左右),两者配合起来使用效果较好。触发电压=(V\(_{be}\)×3)+(反馈电阻压降)≈2.4V,抗干扰能力较强。本级输出波形见图2c。

5.单稳态延时电路和执行级:采用HM-6109-DW2(上无六厂生产)集成电路作为延时单稳电路。它调试简单,只要调节电路的外接电容C\(_{9}\),就可以控制单稳延时范围。当鉴别器有信号输出时,它的负跳变边沿触发单稳电路,送出宽度为1秒左右约3.5伏高电平宽脉冲(波形见图2d),使执行级工作。执行级是由一只3DG6和一只3DG12复合而成的功率反相器。
6.变调、间断音报警电路:报警电路可发出变调音频信号或间隔音频信号,比一般讯响器发出的声音较为悦耳。整个电路由JEC—2组成的施密特积分反馈型振荡器和由YF1和YF2组成的调制开关器所组成。
当检测器检测到双线时,继电器J吸合并通过J\(_{1}\)-2触点自锁,J1-3触点则释放,原先被C\(_{14}\)短路的报警信号此时经扬声器送出,扬声器发出的报警声一直到双线故障被排除才停止。
调试方法
1.根据被检测的细线状物体的线径,计算出相应的光狭缝宽度d。例如我们要检测的对象是φ0.20毫米的纱线,算出光狭缝宽度d=1.30毫米。
2.用高灵敏电压表(或用较好的万用表)反复用单、双线做选择最佳静态门电位的实验,实验方法见图9所示。求出光狭缝宽度d=1.30毫米时的最佳静态门电位为200~210毫伏,此时电压差(U\(_{单}\)-U双)ΔU=35毫伏。

3.计算前置放大级的放大倍数,单线光脉冲幅值=V\(_{静}\)-U单=210-195=15毫伏,双线光脉冲幅值=V\(_{静}\)-U双=210-160=50毫伏。为了减少单线误动作,一般考虑单线光脉冲经前置级放大后,幅值不大于1.8伏,而双线尖脉冲放大后的幅值要大于3伏,因此
设1.K\(_{V}\)(放大倍数)×15毫伏<1.8伏
K\(_{V}\)<1.80.015=120倍
设2. K\(_{V}\)×50毫伏> 3伏
K\(_{V}\)>30.05=60倍
所以K\(_{V}\)的数值范围为: 60<KV<120,取K\(_{V}\)为80左右。
前置放大信号源的限流电阻取2KΩ,它的放大倍数K\(_{V}\)=80,所以负反馈电阻值Rf(图7中R\(_{4}\)+W1)取160KΩ左右,为了有调节余地,R\(_{f}\)用150KΩ电阻(R4)串联上47KΩ电位器W\(_{1}\),W1作为K\(_{V}\)的微调电位器。
4.把光狭缝宽度固定在计算得出的d值上,并把硅光电池接上负载,调整发光管上的限流电位器,改变发光管的工作电流,达到预定的静态门电位值(200~210毫伏)。
5.开车运转时,如发现单线误动作较多,可适当微调前置级放大器的反馈电阻R\(_{f}\)中W1的阻值,但同时要注意保证不降低双线检出率。如果发现灵敏度较低,可以加大W\(_{1}\)的阻值,但同时也要注意严格控制单线误检率。如果调整后的Rf值与计算值相差很大,那就可能是光狭缝d值偏大或偏小了,这时应重新调整光狭缝d的大小,使R\(_{f}\)接近计算值。有时V静偏离太多,也会发生上述情况。
6.经过以上调整后,双线检出器应能正常工作。这时还需仔细调整发光管限流电位器,微微改变静态门电位,使检测器处于单线误检率最低,双线检出率最高的状态。(周放明 樊金生 王德沅)