一个有趣的实验
通有电流的导体周围存在着磁场,如果把这个导体放在一个U形永久磁铁的两个磁极之间,电流的磁场和永久磁铁的磁场就会发生相互作用。我们可以按图1做一个实验。用两根细铜线把一根直导体悬挂起来,给导体通上电流,将会发现导体向一定的方向运动;改变导体中电流的方向,导体运动方向也随之改变。这个实验说明,载流导体在磁场中会受到力的作用,这种力叫电磁力。

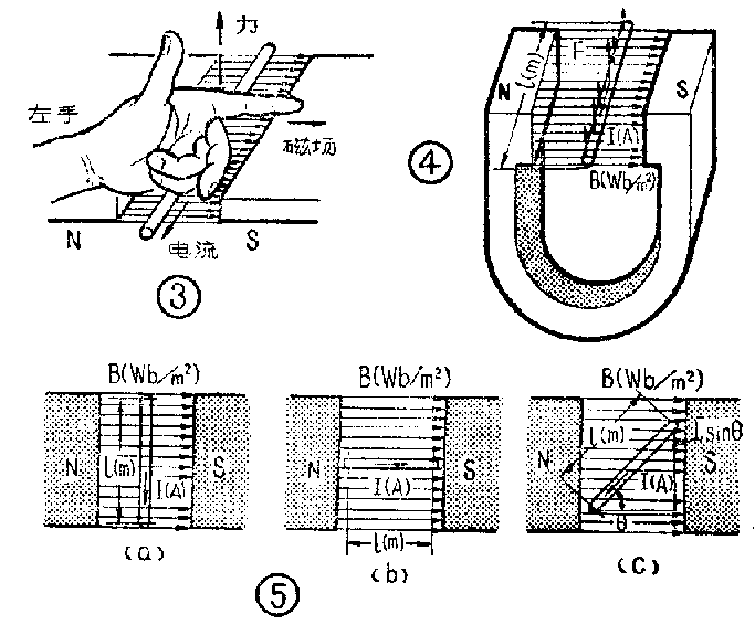
让我们具体地看一看电流在恒定磁场中受力的情况。先看受力的方向,如图2a所示,假如电流的方向与N、S两个磁极的磁力线方向相垂直,用右手螺旋定则可以确定电流周围磁力线的方向如图2b。电流的磁场与永久磁铁的磁场叠加在一起:导线右侧,两种磁力线方向一致,加强了原磁场;导线左侧,两种磁力线方向相反,削弱了原磁场。合成磁场磁力线的分布如图2c所示。这时,在载流导体两侧,磁力线密度不再是均衡的了,导体就受到一个横向力的作用向左方运动。读者可以用同样的方法证明,当电流方向改变后,导体将向右方运动。显然,电磁力的方向与磁力线和电流的方向有关,三个方向是相互垂直的,可以用左手三个手指来模拟。如图3所示:左手的拇指、食指和中指互相垂直,令食指指向磁力线的方向,中指指向导体中电流的方向,则拇指所指就是电磁力的方向。这个简单的方法叫“左手定则”。

再看电磁力的大小。既然电磁力是由两种磁场相互作用产生的,所以永久磁铁的磁感应强度B越大,导体中的电流I越大,电磁力F也就越大。图4的实验证明,在一个磁感应强度为B(韦伯/米\(^{2}\))的均匀磁场中,如果垂直安放一直导体,它的有效长度为1(米),流过的电流为I(安培),则导体所受的电磁力为
F=BIl〔牛顿〕 (1)
通电直导体在磁场中的放置位置有三种情况:第一种情况如图5a,电流方向和磁力线的方向相互垂直,用“左手定则”可以判定电磁力是沿着从里向外垂直于纸面的方向作用的;第二种情况(图5b)是电流的方向与磁力线的方向平行,这时按左手定则沿中指所指方向的电流分量为零,所以导体不受力;第三种情况介乎这两种极端情况之间,导体与磁力线成一夹角θ(图5c),这时受力的导体的有效长度为lsinθ,所以导体所受的电磁力为
F=BIlsinθ〔牛顿〕(2)
式(2)是计算电磁力的一般公式。在图5a的情况下,θ=90°,得到公式(1)。在图5b的情况下,θ=0°,所以F=0。

我们再来分析一种更有实际意义的情况。如图6所示,把一个矩形线圈放在均匀磁场中,通上电流后,线圈的①、③两边(长度为l1)将受到电磁力的作用,每边的受力为
F=BIl\(_{1}\)〔牛顿〕
而②、④两边与磁力线平行,不受电磁力的作用。若把矩形线圈绕在框架上,并把框架支架在转轴上,就会产生回转力矩,沿转轴向一定的方向偏转,线圈所受到的力矩为
T=力×力臂=F×\(\frac{l}{_{2}}\)2+F×l2;2=BIl\(_{1}\)l2
如果采用米作为长度的单位,A是线圈的面积(A=l\(_{1}\)×l2),则
T= BIA〔牛顿·米〕 (3)
磁电式电流表和扬声器
常用的磁电式电流表就是利用电磁力的原理制作的(图7)。为了提高测量的灵敏度,采用多圈的矩形线圈,这个线圈通过上下两个游丝与被测电路相通。线圈放在磁场中,一经通电,就受电磁力的作用发生偏转,直到电磁力矩与游丝的反抗力矩相平衡时,线圈才静止下来,指针就指示出与偏转角度成正比的电流数值。为了使动框线圈平面无论在磁场中的哪个位置,磁感应强度都相同,把磁极做成了圆弧形。为了获得尽可能强的磁场,在磁极中间放一个圆柱形铁芯。这样,就使线圈在一个很窄的气隙中受力产生偏转,偏转角度只随线圈中电流强度而改变(图8)。

利用通电线圈在磁场中受力的原理,也可以制成常见的耳机或扬声器等电声转换器件。图9示出了电动式扬声器的原理。当位于永久磁铁磁极气隙中的线圈有交变的信号电流通过时,线圈的磁场与永久磁铁的磁场发生相互作用,使线圈随信号电流产生相应的振动,并牵动和它粘在一起的纸盆,发出相应的声波。
直流电动机是怎么工作的
利用电磁力的原理,制作出了把电能转换成机械能的设备——电动机。电动机分直流和交流两种,让我们来看看简单直流电动机的原理。
如果我们简单地在一对永久磁铁的磁极中间,安放一个能绕轴旋转的电磁铁(称为转子)。当它处在图10a所示的位置上,它能转动;但是如果处在图10b所示的位置上,转子就停止不动了。这里有两个问题需要解决:怎样才能机电流引入旋转的转子线圈中去呢?如何使转子连续不停地旋转呢?人们想出了这样一个办法,如图11所示,在转子的回转轴上装一个绝缘物做成的圆筒,圆筒的外面镶上两个半圆形的铜环,叫换向器。再用两个富于弹性的电刷紧密接触随转子旋转的换向器片。这样,不仅解决了通电的问题,而且当转子旋转半圈之后,能够通过换向器自动改变线圈中电流的方向,从而使转子能连续地向同一方向旋转(图12)。



不但通电线圈在永久磁铁之间会受到电磁力的作用,相邻的两个通电线圈之间也有电磁力的作用(图13)。根据这个道理,为了增强磁场以便得到更大的电磁力矩,也常常采用电磁铁来代替永久磁铁,如图14所示,在软铁心上绕上线圈,通电后铁心就产生了N、S两个磁极,与永久磁铁的作用一样,但磁场却大大增强了。


磁场对运动电荷的作用力
运动电荷在磁场中也会受到力的作用,磁场对运动电荷的作用力叫洛伦兹力。如图15所示,假定有一个速度为 V〔米/秒〕的电子飞入一对磁极之间,其间各点的磁感应强度均为B〔韦伯/米\(^{2}\)〕,一个电子所具有的电量e=1.602×10-19〔库伦〕,这个运动电子在磁场中所受的作用力为
F=BeV 〔牛顿〕

力的方向也可以用“左手定则”确定,但此时中指所指的方向应与电子运动的方向相反。由于磁场对电荷的作用力F永远与电荷运动方向垂直,因此洛伦兹力不能改变运动电荷速度的大小,只能改变电荷运动的方向,使电子沿一个圆弧运动。

根据外加磁场能使电子的运动发生偏转的原理,做成了电视机的显象管,图16是简单示意图。在电子枪中灯丝把阴极加热发射出电子来,其强弱由栅极相对于阴极的电压来控制,再经过加正电压的阳极,使汇聚成很细的电子束。在管壁上还有一个加有一万多伏高压的阳极,使电子束以高速冲射到荧光屏幕上。

对电子束扫描运动的控制,是利用套在管颈外面的水平和垂直偏转线圈来实现的(图17)。在这两个线圈中分别通以锯齿波扫描电流,产生偏转磁场,使电子束在显象管屏幕上做均匀的扫描运动,就可以得到屏幕上的扫描线条。再通过栅极控制各瞬时电子束的强度,使扫描线条上各点亮暗程度不等,屏幕上就显示出相应的图象来了。(编者注:“电学漫话”到此告一段落。)(张学志 颜超 宋东生编译)