我们制作的玩具“电子计算机”的外形如报头所示。使用时,把算式卡插入,揿下按钮,在显示器的小屏幕上立即显出答数。例如,当把写着“ 4×6=”的算式卡插入时,显示器的读数就为24。如果换上“2\(\frac{1}{4}\)+53;4=”算式卡,显示读数就为8。算式难易可任意选编,但得数必须是整数,并且在0~99之间。
玩具“电子计算机”由输入器、译码器和显示器三部分组成。

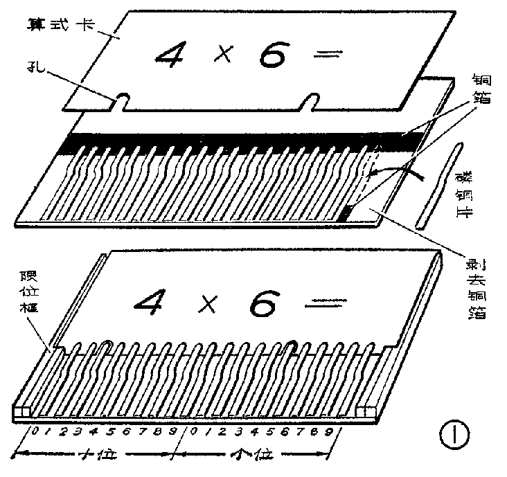
输入器主要由20个磷铜片开关组成,如图1所示。当未插入算式卡时,揿下按钮开关,20个磷铜片都与铜箔接触,接通电路。当算式卡插入时,由于算式卡已根据所需要显示的数字在一定的位置上打了孔,如图1所示,算式卡“4×6=”的两个孔分别对应于十位数中的数字2和个位数中的数字4的磷铜片。这时再揿下按钮时,只有数字2和4对应的电路接通,显示出24,其余的电路因卡纸把磷铜片与印刷电路隔开而不接通。为了避免因算式卡发生位移而引起的运算错误,在放算式卡的地方装上限位框,限位框是用有机玻璃或木条作成的。
输入器的按钮是有机玻璃或木条粘成“工”字形状,见图2。安装该按钮时,盖板槽要稍大些,使按钮中柱上下活动自如。

算式卡用卡纸制作,打孔时为保证答数准确,可将算式插进输入器,在相应的位置作好记号,再打孔。
译码器电路见图3。显示器的8个小灯泡受二极管组成的“或”门电路控制,各“或”门电路的输入端根据所要显示的数字要求,在0~9十根信号线中选择。以数字“3”为例,当K\(_{3}\)接通时,“3”号线上的五个二极管导通,小灯泡ZD1、ZD\(_{3}\)、ZD4、ZD\(_{6}\)、ZD7亮,组成“3”字,如图4所示。译码器中的二极管可用2CP型或2CZ型管子。小灯泡用6.3伏微型电珠。电源用4节1号电池。因本机答数可以是两位数,所以要有两组图3电路。

显示器是模仿数码管制成的模型,见图5所示。将模型分成8格,每格内装一只电珠。模型的基板可选用马口铁或三层板,用马口铁条分成格。上面贴一张红色蜡光纸或机印纸,红色向上,外面用有机玻璃制成屏幕和围框加以装饰。
整机装置完毕,接上电源,从十位数“0”开始,逐个按下开关片,检查小电珠亮否。如不该亮的小电珠亮,应检查有否短路或二极管是否已损坏;如该亮的小电珠不亮,应检查有否开路或二极管断开。20个数字全部检查以后,盖上按钮盖板,插入算式卡,揿下按钮(要同时按下),从十位数“0”到个位数“9”逐个检查开关片(磷铜片)接触是否良好,如接触不好,就要适当调整磷铜片的弧度,保证接触良好。(上海市新肇周路小学 科技组)
