为了帮助初学者装置超外差式收音机,本文以凯歌4B15型机为例,比较全面地介绍一下从选择元器件到安装、焊接和调试的全过程,作为业余爱好者参考。
一、元件的选用和自制

图1是全机的电路图,其中有几十个元器件。要装好一架收音机,除了选择好的电路外,元件的选用是非常重要的,特别是晶体管对整机性能影响极大。下面分别叙述。
1.晶体管的选用——一般初学装机的人常常选用β值高的管子,认为β愈大愈好,其实不然,β值太大会带来相反的效果,例如引起电路自激,出现啸叫或工作不稳定的现象,特别是高频电路用的管子β值不能太大。收音机生产厂一般选用β值为50~80的管子;有时采用高、低搭配的办法,例如变频管用β值为90的,一中放则配用β值为50~60的,二中放管β值选70的。这样整机较稳定,也便于大批生产。业余自制可按下列要求选用各级的晶体管。
(1)变频管(BG\(_{1}\));β值选在60~70为宜,不要小于40;特征频率fT要求高一点,收音机短波最高工作频率近30兆赫,所以不应小于20兆赫。这样变频增益高而工作相对稳定。管子本身的噪声愈小愈好,能使灵敏度相对提高一点。变频管是收音机的第一级,如用了噪声大的管子,噪声随着信号经过以后各级放大,将在喇叭里听到很大的噪声,影响收听。
(2)中放管(BG\(_{2}\)、BG3):β值用50~70的为好,不要小于30。要求管子的极间电容小些好,以不加中和电容时不产生啸叫为好。
(3)低放管(BG\(_{4}\)):β值为80~100为宜。这样能使音质丰富一些,但不能小于40,也不能大于200。
(4)功放管(BG\(_{5}\)、BG6):β值以50~100为宜,不能小于30,不能大于150。两个推挽管要配对,即两个管子的β值和穿透电流I\(_{ceo}\)愈接近愈好,相差不能超过10%。Iceo要小一点,采用处理品时电流上升漂移愈小愈好。
(5)各管代用:高频部分的变频管和中放管可用各种档级的3AG、3AK、3CG的PNP型锗管或硅管代用。低频部分的推动管和功放管可用3AX型、3CG型各档级锗管或硅管,但PcM应大于150毫瓦。
2.电容器的选用——一般金属化纸介电容器、瓷片电容器、涤纶电容器等均可使用,但下列几处的电容应注意选用合适的品种,才可使工作效果较好。
(1)垫整电容C\(_{6}\)应采用云母介质或涤纶介质电容器,容量值的误差愈小愈好,它对振荡电路工作的稳定影响很大。如无合适的电容值,可用几只电容并联,加起来的总电容为285微微法即可。
(2)中频谐振回路电容C\(_{8}\)、C10和C\(_{14}\)、C18也应采用云母电容或涤纶电容。这些电容对中频频率的稳定影响较大,电容值的误差要求愈小愈好。
(3)振荡耦合电容C\(_{4}\)的误差和损耗要求小一些,使振荡工作稳定,以采用涤纶电容为好。
(4)滤波退耦电容C\(_{16}\)、C24采用150~200微法均可,100微法也可使用。
3.电感元件的选用:

(1)磁棒天线线圈(图2):磁棒采用M4型直径为φ10毫米、长200毫米磁棒,长度不小于120毫米均可代用,长些将提高灵敏度。天线线圈采用φ0.07毫米×28股的多股丝漆包线或纱包线分二段绕制。起始为①,顺向密绕50圈为L\(_{1-1}\);②~③留出长约150毫米一段线后再顺向密绕24圈为L1-2,末端为④。L\(_{2}\)采用φ0.07毫米×7股丝包或纱包线顺向密绕7圈(绕向与L1相同)。起始头为⑤,末端为⑥。如没有28股的多股线,也可用不少于5股的代用。股数越多,高频信号在线圈上的损耗越小,比较有利。

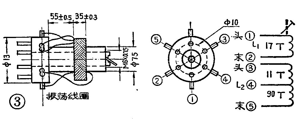
(2)振荡线圈(图3):用φ0.15毫米丝包线在φ7.5毫米塑料骨架上用蜂房式绕法,二折点,宽3.5毫米,电感量为178微亨。或者可采用售品LTF-2-3型(外壳10×10黑色);或LTF-3-1(外壳12×12黑色),但因尺寸不同印刷板要适当加工才能装上。

(3)中频变压器:采用TTF-2型售品。自制可采用10×10(毫米)的中周底座、骨架等散件,用φ0.08毫米高强度漆包线顺向乱绕,数据如图4所示。

(4)输入变压器(图5a):采用φ0.12毫米漆包线顺向绕1100圈为初级(直流电阻为65欧),起始端为①,末端为②。次级采用φ0.10毫米漆包线双线顺向平绕100圈,起始端分别为③⑤,末端分别为④⑥,再将⑤与④接在一起作中心头,⑥为末端(直流电阻为2×125欧)。
(5)输出变压器(图5b):采用φ0.25毫米漆包线双线顺向平绕175圈为初级,起始端分别为①③,末端分别为②④,再将③与②并接为中心头,④为末端(直流电阻为2×3欧)。次级采用φ0.41漆包线顺向绕105圈,起始端为⑤,末端为⑥(直流电阻为0.5欧)。
输入,输出变压器均采用D42号EI型硅钢片,二片交叉插,铁心截面积为6×7平方毫米。

拉线传动机构见图6,可参考凯歌4B15型机制作。
二、怎样装配
1.准备工作:先将元件全部备齐,逐只进行检查核对,特别在采用业余品时更不可缺少此一步。除晶体管需要专用仪器测量参数外,其他元件可用万用表检查。检查电容器漏电大小;电解电容的正、负极性与标号是否相符;电阻标值与实际测量值相差不应大于10~20%。电感元件要检查是否短路、开路;变压器线圈绕组与铁心是否短路;中周线圈与屏蔽罩是否短路。每个元件均应认真检查,这是能否装成的关键所在。切勿急于安装,否则元件有隐患,组装完成后将难于检查,又费时又费力。

2.插装与焊接:为保证元件焊接顺利,不假焊,不漏焊,应在焊入印刷电路板之前,先将元件引出脚刮干净,借助松香烫上锡,然后逐只按图插入印刷电路板(图7)。晶体管的e、b、c三脚和电解电容器的正、负极切勿插错,否则将损坏。元件插上后,引出脚剪短,弯倒,用松香焊锡丝逐点焊上,吃锡不宜过多。焊晶体管要用不大于20瓦的烙铁,焊接时间要短,否则可能烫坏。(待续)(朱永浩)