最近我们试装了一台有线遥控双屏幕电视机(见题头图),在通过它的主屏幕收看电视节目的同时,可以通过它的副屏幕监视其它电视台广播节目进行的情况,便于随时把需要收看的节目转换到主屏幕上。

这部双屏幕电视机是由屏幕大小不同的两套独立的接收系统组成的,其方柜图见图①。主接收系统是一普通的12英寸电视机,副接收系统是用一只8SJ31J型示波管作显示屏幕的无伴音电视机。通过一个有线操纵盒,对双屏幕电视机的开机、转换频道和主屏幕图象的伴音音量进行遥控。下面仅将这部电视机与普通电视机的不同部分作一介绍。

电路的改动及隔离
1.主接收系统电路的改动
①采用A.B.L.电路
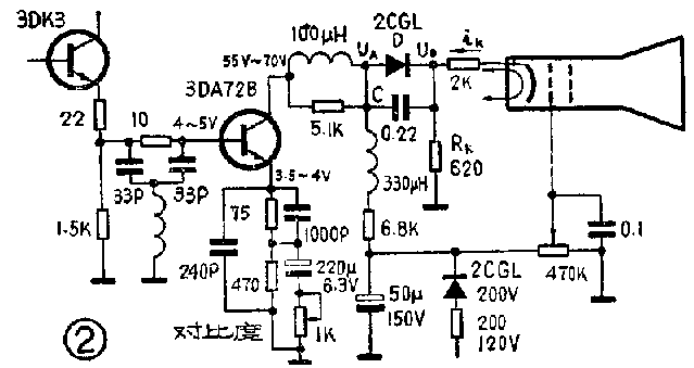
为了减少经常调节对比度、亮度的麻烦,从而减少操纵盒的操纵项目,避免由于对比度调节电位器引线过长而产生一系列问题,在主接收系统的视频放大电路中,采用了部分直流耦合亮度自动控制(A.B.L)电路。因为采用交流耦合(即电容耦合)视频放大器的电视机,图象对比度随图象内容而变化。为了得到质量较好的图象,不得不经常调节对比度或亮度。而采用直流耦合视频放大器的电视机,当对比度调节好之后,基本上可以保持不变。但是,由于直流耦合要求的动态范围比交流耦合大得多,而且电路也比较复杂,所以采用这种部分直接耦合亮度自动控制电路如图②。图中视频输出电路的耦合电容上并联了一只二极管D,作为信号的直流通路,同时它又和电阻R\(_{k}\)一起完成亮度自动控制。当显象管阴极电流ik较小,U\(_{A}\)电位高于UB电位时,使显象管阴极电位U\(_{B}\)被钳位于视频输出管集电极电位UA上。当显象管阴极电流i\(_{k}\)增大时,串联在显象管阴极对地电路的负反馈电阻Rk上的压降就增大,使U\(_{B}\)上升。当ik增大到一定程度,U\(_{B}\)电位高于UA,二极管D截止。如果i\(_{k}\)继续增长,UB也将随之增长,使显象管调制极电位下降,限制了显象管电子束的增长,使屏幕亮度不会过分亮,从而实现了亮度的自动控制。

②采用高、低通滤波器
为了尽可能保障主屏幕的接收质量,主接收系统高频头输入电路,采用了高、低两路T型带通滤波器,分别用D\(_{k1}\)、Dk2开关二极管进行控制见图③。

2.主、副系统的隔离
两个接收系统装在同一机箱内,可能产生相互影响、干扰等等问题,例如:两个高频头输入电路及本振之间,两个图象中放电路之间及两个扫描系统之间的相互干扰;两个接收系统在电源上的隔离问题;操纵、控制简便及可靠性等等。我们分别采取了以下措施:
为了减轻主、副接收系统的两只高频头的相互影响,金属屏蔽盒要严紧,输入、输出引线一定要用高频电缆,V\(_{T}\)、VK电压引入线要用穿心电容。如无穿心电容,一定要在靠近引入点接旁路电容。两高频头接地点要分两个回路系统,避免高频电路上的不必要交叉。
为解决两套接收系统在电源上的隔离,以及元部件上的限制(如电源变压器容量、体积以及调整管的功率、散热问题),采用了两套独立的电源供电系统。
两套接收系统的扫描部分,应很好的加以屏蔽,并尽可能相互远离。副接收系统扫描部分体积小,高压低,屏蔽起来容易些。我们把扫描部分,示波管连同偏转线圈,均用一毫米厚铁板制成的屏蔽盒加以屏蔽。使主接收系统不受副接收系统扫描部分的干扰,以保障主屏幕画面干净。
有线操纵盒与控制原理
为了便于在远离电视机的座位上,就能对电视机进行控制,本机采用了有线遥控装置。
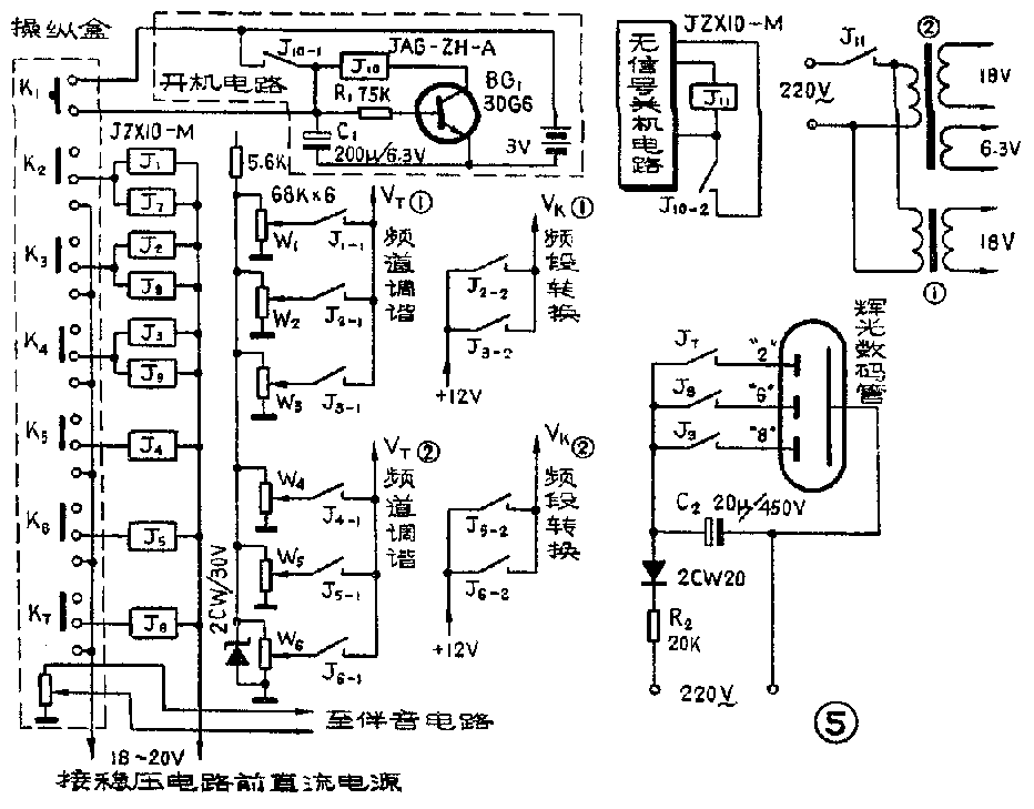
为了尽可能减少操纵项目,除采用亮度自动控制电路以外,还设置了自动关机电路。当无电视信号时,电视机就自动关机(无信号自动关机电路见本刊1979年第3期)。所以,遥控操纵盒上只设置了一个开机按键、六只频道转换按键和一只滑动式音量调节钮、见图④。这样,在操纵盒上只有八只按键,容易识别。

由于设置了自动关机电路,所以在没有广播电视信号时,电视机是不能工作的。若要求在节目进行中途关机,可把频道转换按键放在空频道位置上或同时按三只频道转换键。频道转换开关采用的是两只三键双刀双掷琴键式开关。操纵盒共十一条信号线,用一个11线插接件与机芯相联。其中调节音量,用信号线占用三条并须用屏蔽线,有一条作为公共地线;开机电路占用两条;频道转换占六条线。
考虑到交流220伏电源线直接连接到操纵盒上既不安全,又有通过控制信号线干扰其它电路的危险,所以设置了开机控制电路。并通过一个晶体管闹钟(借助于它的定闹时间的接点)改装成的控制电路,还可以使电视机定时自动开机。晶体管闹钟定时开机控制电路改装方法比较简单,这里就不介绍了。下面谈谈有线遥控电路(见图⑤)的工作原理:

当按下K\(_{1}\)后,接通直流3V电源,电容C1被充电。充满后,由于BG\(_{1}\)管通过R1得到正向偏置,使继电器J\(_{1}\)0吸合J10-1接通,又使继电器J\(_{1}\)0自锁。当按键K1断开后,C\(_{1}\)放电,继电器J10继续吸合,过六、七秒后C\(_{1}\)放电完毕,晶体管BG1断流,继电器J\(_{1}\)0释放。
在继电器J\(_{1}\)0吸合时,接点J10-2接通无信号关机继电器J\(_{11}\),J11接点接通220V交流电源。此时如有电视广播信号,电视机即工作。在J\(_{1}\)0-2断开后,由于受电视信号的控制,继电器J11仍继续吸合,所以电视机也继续工作。
K\(_{2}\)、K3、K\(_{4}\)为主屏幕频道转换按键,分别用于接通主屏幕高频头预选三个频道(如北京的2、6、8)的调谐电压VT①。J\(_{7}\)、J8、J\(_{9}\)也分别受K2、K\(_{3}\)、K4控制,分别接通频道指示的辉光数码管电路,指示出所工作的频道号码。K\(_{5}\)、K6、K\(_{7}\)是副屏幕频道转换按键,分别控制J4、J\(_{5}\)、J6继电器,接通副屏幕高频头三个频道的调谐电压V\(_{T}\)②。接点J2-2、J\(_{3}\)-2、J5-2、J\(_{6}\)-2是控制高频头高、低频段开关电压VK①、V\(_{K}\)②的。
装置及调整中的几个问题
1.副接收系统的装置
用示波管作副屏幕,产生很多问题。首先对电源要求复杂,灯丝、阴极带有高压,对元件质量要求较高,另外还有扫描线性不好保证,以及清晰度、亮度低等问题。我们采用磁偏转扫描,解决了以上一些问题,并保证了图象质量。
副屏幕帧扫描电路采用的是昆仑九英寸电视机的帧扫描电路。因副屏幕帧扫描电路所需功率比九英寸机偏转功率小,所以把九英寸电路的帧幅度调节电位器的阻值可适当加大,其它部分无需变动。
副屏幕行扫描电路与一般典型电路相同,只是激励级的励功率比九英寸电视机的小。因此把原九英寸机,行扫描激励级晶体管集电极电路中的限流电阻,加大到150Ω上下即可。行输出级在电路上没有变化,只是行输出变压器需要重新绕制。行输出变压器(见图⑥)磁心仍用U\(_{12}\),初级绕阻用直径0.62毫米高强度漆包线,在骨架上绕42圈,次级用直径0.15毫米纱包线绕1300圈,在450圈处抽一头,为聚焦电压引出线。

示波管发光电路(见图⑦)与一般的示波管发光电路不同,在它的第二阳极和四个偏转极板上都接上+1500V高压,而第二阳极是和示波管内壁石墨层相联的,它和四个偏转极板对电子束起加速作用,提高了荧光屏的亮度。因该电路使示波管阴极和灯丝不带高压,一方面解决了变压器灯丝绕组的绝缘问题,另一方面使亮度电位器上所加的电压由原1500V的高压降到80~90伏,保证了使用安全,同时对视频耦合电容器的耐压要求也大大降低了。

帧偏转线圈是在一个外径75毫米、内径56毫米、厚10毫米的M400磁环上绕制的,磁环也要电割成两个半环。帧偏转线圈分别绕在两个半环上,见图⑧。每只线圈用直径0.23毫米高强度漆包线分七层共绕512圈。第一层至第七层每层圈数分别为:38、46、58、70、84、100、116。第一层占20°弧长,以后各层逐渐展开,最后一层占90°弧长。

两只行偏转线圈用直径0.38毫米高强度漆包线,先绕在一个梯形木块上(见图⑨),每只绕52圈,绕好后整形成为马鞍形状。但应注意保持线圈窗口的横向长度,以防止整形后带来图象几何失真。
2.整机组装与调整
主、副屏幕两个接收系统,组装在一个12英寸电视机箱内,这就要求各部件安排紧凑,充分利用空间。为了便于调整、维修,应尽量搞成组件、插件。如开机电路、关机电路、频道指示电路等,分别装在三块印刷电路板上,构成单元插件;两个高频头及继电器控制电路构成一组件;示波管及扫描电路板组合成整体,见图⑩以防止过多飞线。稳压电源调整管是利用铁底板散热,省去了专用散热片,以节省空间。

在调整过程中应注意对两部接收系统的不同要求。主屏幕是主要收看的电视机,对其图象质量要求比较高。而对副屏幕电视机来说,因主要是起监视作用,对它的图象质量要求可降到第二位。而要求它能随时切换,但不反复调整天线及各旋钮。这就要求它的高频头灵敏度高。其高频头增益达33dB,各频道增益差小于2dB。另外A.G.C控制深度要求要足够深,行、帧同步引入范围要宽。
两接收系统的两只天线,安装在同一个底座上,形成一副羊角天线。两天线之间相互有影响,使用时可先调整主屏幕天线,得到满意图象后再调整副屏幕天线。但调整好副屏幕天线,又可能影响了主屏幕的图象,因此须反复调整到均满意为止。(北京市东城区少年宫电视组)