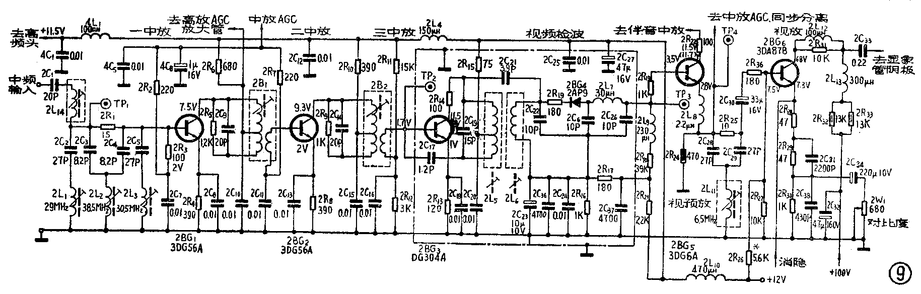
图象通道
这部分电路如图⑨。主要调节图象中放电路的几个电感线圈,使整个中放电路符合要求。视放电路不需要调整,仅检查工作电压是否正常。

业余爱好者由于受仪器设备条件的限制,一般只能凭经验,根据屏幕上的图象情况,反复调整各线圈,以求得到满意的图象和伴音。因此,首先要求使用的高频头性能必须是良好的。否则既要调整中放各线圈,又要调整高频头内的线圈,很难取得良好效果。下面先介绍不用仪器进行调整的方法。
(1)整机各部分(包括高频头)连接好后,先检查通道部分各晶体管的直流工作电压。如果某晶体管工作点不正常,故障就在这一级阻容元件或晶体管本身。
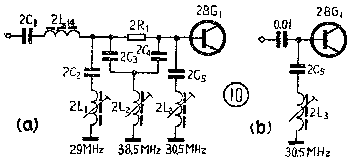
(2)三级中放加上输入回路共有8个电感线圈需要调整。在无仪器的情况下,为使调整工作能顺利进行,将原中放输入回路(图⑩a)改成比较简单的图⑩b的形式。原输入回路中的2LI、2L2、2L14的作用是提高接收机选择性的,简化后,虽然会使选择性有所降低,但目前很少在同一城市内设置几个相邻频道电视台的情况下,对实际接收质量的影响不明显。

调试时,应先将拉杆天线全部伸出(或采用室外天线),收到图象后再逐步缩短天线。调整中放各调谐回路线圈,并配合旋动高频头“频率微调”钮,使中放增益尽可能高。各调谐回路的具体调整步骤如下:
①将2B1、2B2磁心由外向里逐渐旋入。因为一、二级中放设计为宽频带放大器,回路阻尼电阻2R5、2R9阻值比较小,所以2B1、2B2的磁心位置(即电感量大小),对中放特性曲线影响不大,对调整的要求不严。②反复调整2L5、2L6的磁心,使图象清晰。因为中放级的频率特性主要决定于2L5、2L6,所以要细心加以调整。同时粗调伴音中放各中周(3B1~3B3),使收到图象的同时又能收听到伴音。伴音中放级的细调留待下一步再进行。判断接收灵敏度是否已调到尽可能高,除了上述缩短天线的方法外,还可同时监测中放AGC电压(TP5)和高放AGC电压(A\(_{3}\)),使这两点电压值尽可能达到最大。③2L5、2L6调到最佳位置后,对2B1、2B2磁心位置稍微进行修正,使TP5和A3两点电压尽可能升高,而且图象清晰、稳定。④线圈2L3与电容2C5串联谐振于伴音中频30.5MH\(_{Z}\),作伴音吸收回路。未正确调谐时,会产生“伴音干扰”,即随着电视伴音信号强弱变化,屏幕上出现强度相应变化的水平明暗条纹。但是,它与伴音低放供电电路退耦不良所引起的伴音干扰不同,尽管二者在屏幕上的现象很相似。后者只要将音量关死,干扰便消失,而前者则与音量大小无关;与伴音中放电路调谐是否正确也无关。此时应调节2L3磁心,使伴音干扰最小。⑤线圈2L11、电容2C28、2C29及电阻2R25组成6.5MHZ吸收回路,以防止6.5MH\(_{Z}\)第二伴音中频信号进入视频放大器,在图象上产生细点状干扰(水平扫描线被分割为一粒粒细点)。一般情况下,这种干扰不一定会出现,可将2L11磁帽适当多旋出一些(相当于电感量偏小),使吸收点不至于落在视频频带(约6MHZ左右)内,影响图象清晰度。假若出现上述干扰,则将磁心缓缓旋进,到干扰消除为止。

有条件的使用扫频仪进行调整效果更好。图画出了使用扫频仅调整时的扫频信号电压注入点、观察测试点,波形及典型图象中放曲线,各线圈对特性的影响也标注在图中。调整方法要点是:扫频仪输出电压由中放输入端(A\(_{1}\))注入。一般应在测试点TP4(而不放在TP3)观察中放特性曲线。这是因为2BG5接成射极跟随器形式,具有隔离作用,避免扫频仪输入电缆接入后,对中放电路产生不良影响。在TP5处应接入2~5V可调的AGC偏压。随着扫频仪输出电压幅度大小变化,AGC偏压须相应增大或减小,使特性曲线幅度始终保持在1~1.4VPP。以“BT3”扫频仪为例,“Y轴衰减”置“10”,“Y轴增益”钮旋到中心位置时,输出波形大致为6大格。否则中放特性曲线幅度将变得很大(以致限幅)或很小,使调整工作无法进行。这里AGC偏压,可以是外接的一个单独的直流稳压电源;也可以利用电视机本身+12V电源电压再经电阻、电位器分压后获得。在实际调整时,只看总的合成中放特性就可以了。
电位器4W1和4W2可以用扫频仪作比较精确的调整,方法是;调整外加AGC偏压,使中放级增益最高。然后,将扫频仪输出电压增大30~40dB,并调节4W1,使高放AGC电压从原来的3V左右开始出现升高的趋势。最后去掉外加AGC偏压,并调整4W2使中放级增益保持最大值。这时扫频仪输出电压应小于200μV(“BT3”扫频仪相当于输出衰减50dB以上),否则表明中放增益低。
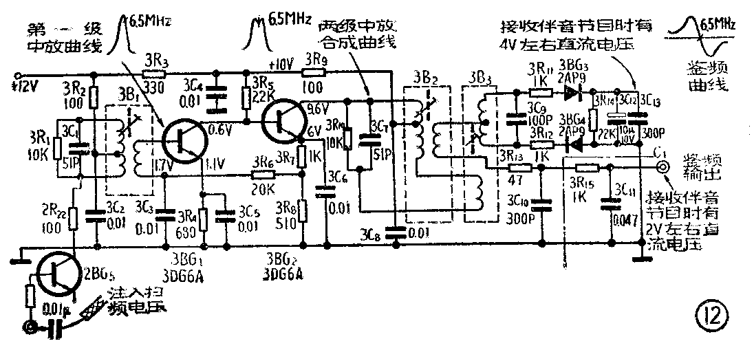
伴音中放
伴音中放电路(见图和图象中放电路不同,其谐振频率为6.5MH\(_{Z}\),可调线圈只有三个(3B1~3B3),只要把这三个调谐回路调整到6.5MHZ频率上就行了。所以它比图象中放的调整简单得多。

1.不用仪器的调整方法
根据鉴频器的工作原理,假若伴音中放已正确调谐,收到电视伴音信号后,在电容器3C12和3C11上,会分别产生大小不同的直流电压,前者电压值是后者的两倍。所以,我们可以在接收伴音信号时,监测电容3C12上的直流电压,调整3B1~3B3使电压值最大。接着再调整3B3,使3C11两端电压大致等于3C12两端电压的一半,正常情况下分别可达2V及4V。同时,还可监听喇叭声音,使声音最响,无蜂鸣声即可。
2.使用仪器的调整方法
扫频信号电压经0.01μ隔直流电容注入到视频检波后的测示点TP3,先在3BG1管基极观察波形。调整3B1的磁心,使得在6.5MH\(_{Z}\)附近获得单峰谐振特性。考虑到扫频仪检波探头对3BG1输入电容的影响(使回路谐振电容加大),单峰的峰点应调在略低于6.5MHZ的频率上。然后在3BG2集电极,观察波形。调整3B2、3B3以获得中心频率为6.5MH\(_{Z}\)的双峰特性。
最后,在鉴频器输出端C\(_{1}\)观察鉴频特性曲线(S曲线)。微调3B3,使S曲线上下对称,零点位于6.5MHZ。为了使6.5MH\(_{Z}\)准确位于S曲线零点上(否则会产生蜂鸣声),工厂里使用标准的6.5MHZ调幅信号来校正。对于一般维修来说,可在实收电视节目时,微调3B3,使声音最大,蜂鸣声消除即可。
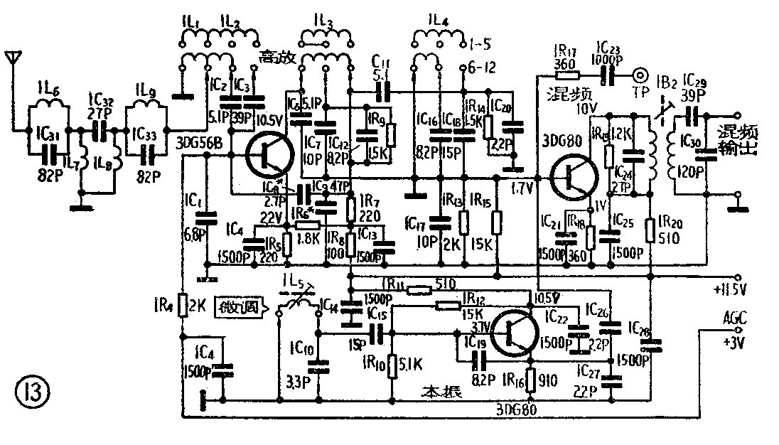
高频头
不用扫频仪等,调试高频头,是比较困难的。至少应借助一个性能良好的电视机,在实收电视节目时调整。具体调整方法可参阅有关资料,这里仅介绍三点。

1.高频头电路如图。输入端设置了一个高通滤波器,用以提高对中频(37MH\(_{Z}\))干扰信号(如短波广播等)的抑制能力。用仪器调整时,扫频仪输出电压从其输入端注入,在它的输出端观察曲线。调整线圈1L6~1L9使特性附合图

2.高频头混频输出是双调谐回路。调整时,将扫频仪输出电压经1000P隔直流电容注入到混频管(3DG80)基极,在高频头输出端接75Ω负载电阻并观察混频曲线。调整1B2初、次级线圈耦合程度及磁心,使曲线符合图
3.电阻1R6*是用来调整高放管AGC起控电压的。调整高放曲线时,选配不同1R6阻值,使外加AGC偏压为3V±0.15V时,增益最高。维修更换高放管后,电阻1R6一定要重新选配,以保证整机灵敏度。通常1R6阻值在1.5K~2.7K范围内。
总特性曲线
高频头与中放级良好匹配,相互连接后一般不需要特别调整。必要时,可微调2L14(主要对频带宽度和伴音载频吸收深度有影响)和混频输出线圈1B2,使总特性曲线符合要求。图扫频仪和高频头的连接点以及典型的总特性曲线。

由于高频头、中放总增益高达80dB以上,所以扫频仪的输出衰减钮,要放在最大位置。其余(如外加AGC偏压等)方法与调整中放曲线相同。
总调
总凋包括调整亮度、聚焦、图象中心位置、行幅、行线性、帧幅、帧线性、帧频内调整电位器的锁定和行振荡线圈磁心位置的锁定等。其中图象中心位置、幅度和线性等,应在接收电视测试图时进行调整。
电阻7R27*是用来调整亮度的,阻值越小光栅越亮,根据显象管的特性选配阻值。7W1是调整聚焦的电位器,调到光栅清晰可见即可。图象中心位置是通过调整两块“调中心位置磁片”的相对位置,使测试图的中心位于屏幕中心的。这几项的调整比较简单,不一一详述,着重介绍以下几项。
(1)行幅和行线性。7C18*是用来调整行幅度的容量越大,行扫描逆程脉冲时间越长,高压就越低,所以行幅增大,反之则行幅减小。由于是通过改变高压来调整行幅,对帧幅也有影响,所以要先调行幅再调整帧幅。行幅大小应使图象能占满屏幕并稍微超出屏幕,为宜。
行线性的调整。图象水平方向的非线性失真有两种情况。以接收方格信号为例,一种是中间方格小,左右两边方格大如图涣硪恢质亲蟊叻礁翊螅钣冶叻礁裥∪缤5缛7C24、7C25就是用来校正前一种失真的。一般是选配7C24(0.22μ~0.68μ),容量越小,使屏幕左右两边方格的水平方向缩得越多,使线性得到改善。后一种失真是由于行输出级损耗和行输出管大电流饱和压降太大造成的,通过调节行线性调节器7L3来补偿。

调整时,行幅和行线性相互有牵制,须反复调节,使两者都比较满意为止。
(2)帧幅和帧线性。6W4、6W3和6W5分别用来调整帧幅和上下线性的。相互略有牵制,可反复调节到最佳为止。若仍然很差,原因除了前述6BG5管工作点不正确外,还有:①6BG4、6BG5的β太低;②6C5(锯齿波形成电容)介质损耗太大,尤其会使上部线性变差。“9D3”机中采用CN型铌电容;③阻流圈6ZB1电感量不足或直流电阻太大(导线太细)。
(3)帧频内调电位器6W1的定位。 6W1应调整到能使得6W2在中间一段范围内使图象同步,旋转到左右两边位置时,图象失步。
(4)行振荡线圈7L1的定位。目前电视台行同步信号有两种:一种是晶振同步,另一种是电源锁相同步,行频随市电频率变动,有时市电频率变低可能使行频低至14700H\(_{Z}\)。因此,不仅要求接收机行频引入范围大于1KHZ,而且在转换电视频道时,能保持行同步。所以要求振荡线圈调节杆按下述方法锁定:
①电视机接收晶振同步电视信号(行频15625H\(_{Z}\))并保持图象同步;②顺时针调节磁心到图象失步为止。③逆时针调节磁心找到图象重新刚好同步的一点。④保持磁心位置,拔出调节杆,再按图使调节杆定位点与线圈骨架定位点紧挨着的情况下,将调节杆插入线圈骨架内,并锁住。(费钥)
