大家知道,安装大功率晶体管必须同时考虑管子的散热问题,否则在使用时容易损坏。这篇文章就简单讲讲管子的散热与哪些因素有关,怎样计算散热板的尺寸等几个问题。
从管子的热阻谈起
晶体管在正常工作时,有电流流过集电结,于是在集电结上就会产生热量,流过的电流越大,产生的热量也就越大。
这个热量散发到管子外部空间去,要受到一定的阻力,我们称这种阻力为晶体管的热阻,用R\(_{t}\)来表示。Rt越小,管子的热量就越容易散发到外部空间去;反之,R\(_{t}\)越大,管子的热量则越不能及时散发。
要想使大功率管散热顺利,根据前面分析可知,必须尽量减小总热阻R\(_{t}\)。总热阻Rt等于晶体管集电结至管壳之间的内热阻R\(_{T}\)与管壳至管外空间之间的外热阻Rb之和,即R\(_{t}\)=RT+R\(_{b}\)。RT值可从晶体管手册中查到。在不加散热装置时,R\(_{b}\)是较大的。当加了散热装置以后,Rb分成R\(_{H}\)和Rc两项,此时R\(_{t}\)=RT+R\(_{H}\)+Rc。R\(_{H}\)为散热装置的热阻,应当越小越好,它完全决定于散热装置的形式、材料和总面积。Rc为云母绝缘片的热阻,它是考虑到功率管集电极(通常为管子的外壳)与底板之间采用云母片绝缘时引进的一个量。当云母片的面积等于功率管的底座面积,且云母片的厚度为0.25~0.75毫米时,R\(_{c}\)为(0.3~0.8)℃/W。可以看出,为了减小Rc,安装时使管子和散热板密贴非常必要,最好在管子和散热板之间涂上硅脂或硅油,以利散热。在条件允许的情况下,管子和散热板之间最好不用云母片绝缘,以减小R\(_{c}\)。因此,有时宁可将散热板与机架绝缘,而不采用管子与散热板绝缘的方式。
怎样确定散热板的尺寸?
既然安装散热板作用很大,那么,在业余条件下怎样确定散热板的尺寸呢?
让我们先从温度关系来着手分析。晶体管从结开始到管外空间,各点的温度是逐渐下降的。即T\(_{i}\)>Tc(壳温)>T\(_{H}\)(散热片温度)>Ta(环境温度)。功率管的结温T\(_{i}\)可从《晶体管手册》中查到,一般锗管Ti为90℃,硅管T\(_{i}\)为175℃。环境温度Ta由设计要求决定,一般取40℃。
限制功率管最大输出功率P\(_{CM}\)的主要因素是Rt、最高允许结温T\(_{i}\)和环境温度Ta,在分析时可认为T\(_{i}\)与Ta之差正比于P\(_{CM}\),即Ti-T\(_{a}\)=APCM。式中A为比例常数,它就相当于功率管的总热阻R\(_{t}\),所以上式可写为Ti-T\(_{a}\)=RtP\(_{CM}\),即:PCM=(T\(_{i}\)-Ta)/R\(_{t}\)。根据上面公式,就可以很方便地设计散热器的尺寸了。
例如:已知大功率管3AD6的P\(_{CM}\)要求为10瓦,最高结温Ti=90℃,热阻R\(_{T}\)=2℃/W,并设最高工作环境环温度Ta为40℃。试设计散热片尺寸。
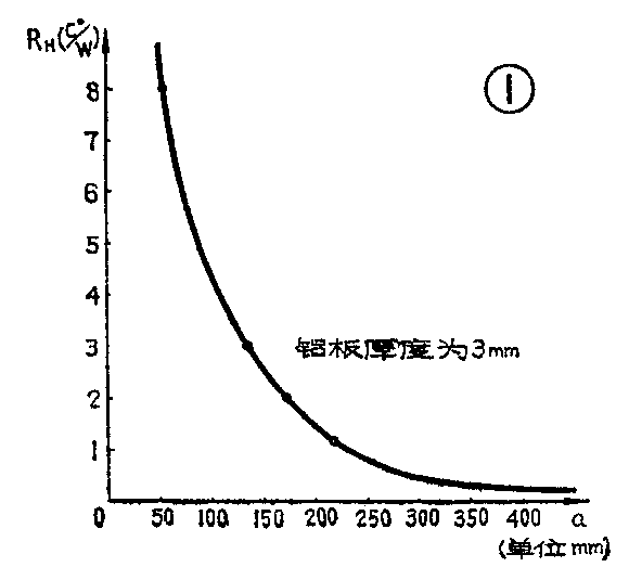
设计步骤:①求出3AD6的总热阻为R\(_{t}\)=Ti-T\(_{a}\)PCM=90℃-40℃;10W=5℃/W。②设散热片与管壳之间不加云母片,则R\(_{c}\)=0。根据Rt=R\(_{T}\)+RH+R\(_{C}\),则RH=R\(_{t}\)-RT-R\(_{C}\)=5℃/W-2℃/W-0=3℃/W。③根据RH的大小查附图(R\(_{H}\)与正方形散热器边长a的关系曲线),就可直接求出散热片的尺寸为140×140×3毫米\(^{3}\)。附表中列出了几种常用大功率管的散热片尺寸,可供参考。




在业余条件下,如果手头的铝板厚度不是3毫米怎么办呢?这时仍可先按3毫米铝板设计,然后再按下式计算,就可以得出任意厚的铝板的尺寸。这个公式为
X=\(\frac{S}{d}\)
式中X为现有散热片的尺寸; d为现有散热片的厚度; S为按3毫米铝板设计时铝板的总体积。
例如:用3AD6做功率管,输出功率为5瓦,手头铝板厚度为2毫米,试求铝板应有多大尺寸?
设计步骤:①先求出3毫米铝板的尺寸,查表为60×60×3毫米,则它的总体积为S=10800毫米\(^{3}\)。②根据公式计算现有散热板尺寸为X=\(\frac{S}{d}\)=10800;2≈73毫米,则散热片尺寸为73×73×2毫米。
安装注意事项
1.对于一定厚度的散热板来说,当面积增加到一定值后,继续再增加面积并不能减小热阻。因此,在一定的厚度下,过分地增加散热板的面积是无用的。只有增加散热板厚度,才能使热阻R\(_{H}\)进一步减小。
2.如果机壳体积有限,限制散热板不能做太大,而散热板面积不够用时,可不增加散热板的尺寸和厚度,只在原散热板上均匀地钻一些小孔,也能扩大散热面积。孔的直径可大致等于铝板的厚度。
3.当功率管为锗管时,散热板与环境之间的温差不大,主要靠对流方式散热,这时,散热板的安装位置对散热效果影响较大,最好采用垂直方式安装。
当功率管为硅管时,散热装置与环境之间温差较大,除靠对流方式散热外,热辐射散热也起较大作用。因此,散热板必须涂黑处理。
4.对于中、小功率管的散热,可直接利用铜片卷成和管子粗细相同的圆管,套在管子上即可。(张新)