本文介绍一种由数字电路构成的开关式带通滤波器,这种滤波器的特点是:
(1)中心频率f\(_{o}\)是由时钟脉冲频率fc控制,改变中心频率时不需改换电路元件,因此不仅中心频率的调节范围很宽,而且可以遥控。
(2)带宽Δf可以通过一个电阻很方便地调节,电路Q值可以做得很高。
(3)因为中心频率和带宽是分别调节的,所以调节时相互不影响。
(4)稳定性主要取决于时钟脉冲的稳定性。如果采用石英晶体时钟脉冲发生器来驱动,则滤波器的稳定性极高。
(5)和一段滤波器相比较,在同一中心频率的情况下,可采用较小的元件值。
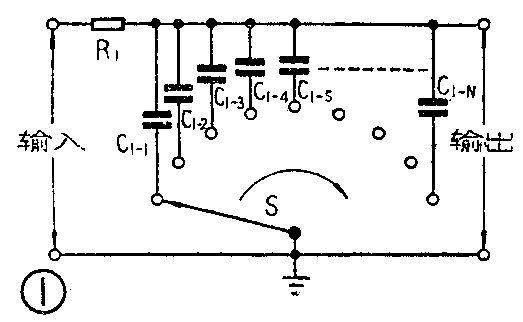
开关式带通滤波器的工作原理可以通过图1来说明:由时钟脉冲驱动的开关器件S将N个无源滤波器逐个地轮流接入电路,每个电容器每次与电路相连接的时间t\(_{1}\)和时钟脉冲周期相等,即t1=\(\frac{1}{f}\)\(_{c}\)(参看图2),而每个电容器接入电路的频率为fg=1;t\(_{2}\)=fcN(N为开关的位数)。如果输入信号频率和电容器的接入频率f\(_{g}\)(或fg的谐波)相等时,则每个电容器是在输入信号波形的某个固定位置周期地接入电路,因此每个电容器是分别被充电到相应的输入电压值,所以滤波器的输出是一个类似于输入信号波形的阶梯波。如果输入信号频率高于或低于电容器的接入频率f\(_{g}\),则电容器是在输入信号波形的不定位置接入电路。这时,电容器上的平均电压非常低,即无输出。于是起到了带通滤波的作用。


图3是根据上述原理构成的N=8的实际电路。十进计数器5G658构成自起动环形计数器,环形计数器的各位输出经5G605(八倒相器)倒相后驱动5G612(八模拟开关)。第一个时钟脉冲将使无源滤波器R\(_{1}\)C1-1接通,第二个时钟脉冲使无源滤波器R\(_{1}\)C1-2接通……,第八个时钟脉冲使无源滤波器R\(_{1}\)C1-8接通,并照此循环往复。

这种开关式滤波器的带宽Δf=\(\frac{1}{NR}\)\(_{1}\)C1,中心频率f\(_{o}\)=fc;N。当时钟脉冲频率为10KH\(_{z}\),R1=100RΩ,C\(_{1}\)=0.1μf时,Δf=12.5Hz,f\(_{o}\)=1.25KHz。
图4是该开关式滤波器的实测频率特性曲线。

运算放大器FC54C和电阻R\(_{2}\)~R6、电容C\(_{2}\)~C4组成有源低通滤波器,通过该低通滤波器可将阶梯波变成正弦波输出。低通滤波器的截止频率为2.5KH\(_{z}\)。
如果用开关式滤波器的数字输出代替时钟脉冲,则该电路可以构成跟踪滤波器。(吕广平)