初学者在组装自动控制电路时,常要用到小型低压灵敏继电器。我们在科技活动中自制了一种继电器(见图1),现介绍给大家参考。

部件说明
1、转换接触簧片:找长35毫米、宽2毫米、厚0.15~0.2毫米的黄铜片或磷铜片共六片,分成两组,每组做成常开、常闭转换形式,见图1(b)所示。图2为其中一组簧片的形状,其中上、下两个簧片的一端要弯曲。

2、簧片间绝缘片:从废的印刷线路板上锯下四块长11毫米、宽6毫米的长方形小板,每块中间打上直径为3.2毫米的小孔。其中三块要保留原来的铜箔(如图3a所示),以便焊接簧片、固定簧片位置。
3、M3螺杆及螺母,组装两组簧片用。螺杆长33毫米。
4、印刷线路板:找一块印刷线路板的下脚料,加工成图4所示形状,此板上留下的两条铜箔,用来焊接线圈引出线。如图4所示在板上打上五个小孔。

5、传动架:找一块双面印刷电路板下脚料,按图5a所示尺寸加工,在其下边保留铜箔以便与衔铁焊接。按图5所示,在传动架上部锯两个小口,作为插簧片之用。如没有双面印刷电路板,也可用单面的,有铜箔的那面,用锡焊在衔铁上,另一面可用502或环氧树脂粘牢。
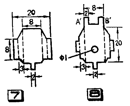
6、衔铁。找一块厚度(1~2)毫米的镀锌铁板,裁成图5b所示形状,图中c点的小突起是用来挂弹簧的,要将它的根部锉细一些,并稍向上弯一些,以防止弹簧滑出。衔铁上有两个小凹口(图5b中“A”“B”),铁皮支架上A′、B′两个小突起从这儿插入。
7、铁心:找一个迭厚8毫米的半导体收音机变压器E形铁心(牡丹牌半导体收音机废变压器一个就可以),中部心柱要锉得低一些,使衔铁吸合后与中部心柱有一定间隙,防止剩磁将衔铁吸住不能释放。

8、铁皮支架:找0.5毫米厚的白铁皮一小块,按图7、8形状各裁一块。图7所示铁皮支架它起夹紧铁心和固定电磁铁位置的作用。图8所示铁皮支架除有以上作用外,还起支撑衔铁和挂弹簧的作用。图8所示支架的上端开口宽度(A′、B′之间)要与衔铁两缺口A、B之间的距离配合。此支架上冲一个小圆孔是用来挂弹簧用的。

9、线圈:拆开变压器,利用原来的线圈骨架,用0.09或0.1漆包线绕2600~3000圈。直流电阻约350~400(欧姆)。
10.准备一块长42毫米、宽26毫米的五合板,找几个木螺钉以及直径为3毫米的平垫圈、弹簧垫圈。
11、弹簧:用φ(0.15~0.2)黄铜丝在φ1.0钢针上自绕弹簧或从废弹子锁中取出弹簧,两端弯勾。
装置步骤
1、先将铁皮支架按图7、图8虚线部位折弯,然后按图1(b)所示装在铁心两侧,并将铁心夹紧。
2、将两个铁皮支架下腿穿过印刷线路板(图4)上的小方孔并卡住,铁心位置固定后,装上已绕好的线圈及衔铁,并挂上弹簧。
3、将绝缘片穿到螺杆上并装上螺母,注意绝缘片之间稍留空隙,以便插入簧片。将螺杆装在线路板上,将接触片轻轻插到绝缘片中定下位置,用钢针在簧片上划线作为定位记好,然后放松螺母,按定位记号将簧片焊在绝缘片铜箔上。用上、下螺母以及垫圈分别夹紧线路板和绝缘片。调整各簧片的形状,使两组常闭接点接触可靠,接点间压力适当;使两组常开接点留有一定空隙。调整弹簧拉力以控制吸动电流的大小。
4、在五合板的底板上与螺杆相接的地方打一个孔,让一个螺母嵌入底板内,使印刷线路板能平贴在底板上,用四个小木螺丝钉将继电器固定在底板上。
5、将线圈的引线焊在印刷线路板上,并通电测试继电器的吸动及释放电压电流,将这些数据用一小块白纸写好用透明胶纸包在线圈外面,装配即告完成。
使用说明
我组装的这个继电器线圈直流电阻为360欧,加4.5伏电压开始吸动,加6伏电压即能可靠工作,工作电流为I=60.36=16.7(mA)。可用三极管3AX或3DK等带动,可以控制6伏小电珠或小电动机,电铃等小功率负载。如经一级中间继电器,也可控制其它负载。读者可以将它用于一管或两管光敏、热敏、水位、延时等自动控制电路。(张宝平)