本机是为边远地区使用的收音机,灵敏度高、选择性好,有较好的音质和较大的输出功率;共有一个中波段和四个短波段。电路采用调谐式高放、独立振荡、混频、二级双调谐中放。低放电路采用分别调节的高、低音提升音调网络,变压器耦合推挽功率输出。
一、主要性能指标
频率范围:中波535~1605千赫;短波Ⅰ2~4.5兆赫;短波Ⅱ4.5~10兆赫;短波Ⅲ10~16兆赫;短波Ⅳ16~22兆赫。
中频频率:465千赫
灵敏度: 中波、短波Ⅰ不劣于0.5毫伏/米(实测0.2毫伏/米),6分贝信噪比时为0.05毫伏/米;短波Ⅱ、Ⅱ、Ⅳ不劣于50微伏(实测20微伏),6分贝信噪比时为5微伏。
选择性:>36分贝。
额定功率:>500毫瓦(实测>1瓦)。
高低音调作用范围:>12分贝。
电源消耗:零信号时<25毫安;额定功率时不大于170毫安。
二、电路特点简介
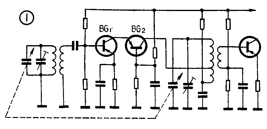
总电路原理图见图2。其主要特点如下。

1.调谐式高频放大器:高频放大一般分成二类。一类是不调谐式,用电阻作负载,能提高接收机的灵敏度和信噪比。但它实际上是宽频带放大器,不能提高高频选择性,与无高放机相同。另一类高放就是本机采用的调谐式高放,其负载形式与天线回路相同,也是一个调谐回路,见图1。它对高放级放大了的信号又进行一次选择,所以不仅提高了灵敏度、信噪比,而且提高了高频的选择性(如象频指标)。虽然如此,但由于它放大的信号频率高,处理不当很易自激。造成自激的原因有如下几种:因晶体管本身内反馈,引起正反馈而造成自激;其次,由于调谐回路负载线圈的发射;反馈至输入端,被天线线圈接收,也会造成自激。此外,通过布线、转换开关等的分布电容耦合而引起的正反馈,也会造成高放的不稳定,严重时也会自激。所以高频放大器如设计不当,会得不偿失,灵敏度非但不能提高,反而引起不稳定,轻者噪声增加,重则使收音机无法工作。

本机采取如下措施使高放工作稳定:
(1)采用共发其基串接式放大电路。 BG\(_{1}\)接成共发,BG2接成共基。在共发电路主要引起自激的是管子的内电容(过渡电容)C\(_{bc}\),而在共基电路中引起自激的则是电容Cce,它要比C\(_{bc}\)小得多,而Cbc在共基电路中是输出电容,与内反馈无关,所以共基电路要比共发电路稳定得多。此外,第一个共发管子的负载是第二个共基管的输入阻抗。我们知道,共基管的输入阻抗是很低的,一般只有几十欧,故串接以后,第一共发管的增益很低,故引起正反馈的电压也低得多,高频放大器工作也就稳定得多。
从上述分析可以看出:串接放大器中,共基管起了隔离作用,而共发管又比平常接法稳定,所以串接放大电路是很稳定的,稳定系数约比共发放大提高一个数量级,内反馈几乎可看作消除了。
串接放大电路的增益比共发放大高一点,因为串接放大第一个共发管是电流放大器,而第二个共基管是电压放大器,其电流增益α≈1,所以串接电路总电流增益基本上等于共发管的β, 我们知道,共发放大增益K\(_{v}\)=βR出/R\(_{入}\),而共基管的输出阻抗要比共发大许多,所以从上式可看出电压增益Kv也大。
串接放大电路的优点是稳定、放大量比共发电路大,由于R\(_{出}\)大,对高放回路影响也小,缺点是多用了一个管子和几个电阻、电容。
串接放大还有一个优点是:由于它的输出阻抗比共发接法高,对高放回路影响少,使得高放回路有载Q值比共发高,因此高频选择性得以提高。
(2)采用五档十刀按键开关作为波段转换开关。高频放大器引起正反馈的途径,除了内电容反馈外,还有高放输出端调谐回路与输入端天线回路之间的耦合,主要是高放线圈与天线线圈之间的耦合,另外各高频元件、引线之间的耦合也都会引起正反馈导致自激。必须尽量减少上述这些有害的耦合,为此选定波段开关是很重要的。最理想的转换开关是鼓形开关,它各级之间容易装屏蔽隔离,而且波段转换引线很短,各波段的分布容量很小也很一致,但成本太贵。
采用一般的收音机波段开关成本最低,但高频性能最差,它必然有一束很长的引线,而且绕在一起耦合很紧,分布容量很大,一致性也必然很差,不利于作为带高放电路的波段转换。
按键开关的优缺点和价格介于上述两种开关之间,用于本机比较合适。本机将天线线圈与高放线圈放在开关的二端,离得最远,让振荡线圈夹在中间,减少了回路间的耦合,同时考虑到天线线圈与高放线圈的磁场方向,接得使其相位相反,破坏了自激的相位条件,有效地提高了高放稳定性。本机高频放大器各波段的平均增益约为12分贝。高频选择性约为10~15分贝。
2.输入回路:本机中波和短波Ⅰ的天线回路共用一根中波磁棒(MX400 10×200)。短波Ⅱ、Ⅲ、Ⅳ采用1.45米长的拉杆天线,输入回路采用直接耦合,提高了短波接收效果,具有较平稳的波段覆盖和灵敏度。
短波Ⅰ的频率是2~4.5兆赫。中波磁棒在4.5兆赫时的Q约是1.5兆赫时的1/3。我们用11股0.07毫米丝漆包线绕制的短Ⅰ天线线圈套在上述磁棒头上测得2兆赫时Q=120,4.5兆赫时Q=55。但另一方面,在波段低端频率时可变电容器容量最大,高端频率时容量最小,所以不同接收频率时调谐回路的谐振阻抗是不同的:回路谐振阻抗R\(_{e}\)Q=Qρ=Q \(\sqrt{L/C}\),频率高端C↓,ρ↑, ReQ↑。频率低端R\(_{e}\)Q↓。高放回路是高频放大器的负载,高放的增益与高放回路的ReQ成正比,所以频率高端的增益要比低端高。
我们知道自激是与增益有关的,增益越高,越易发生自激,所以高放自激往往发生在波段的高端。
本机短波Ⅰ使用中波磁棒正好解决了上述问题。由于磁棒线圈在频率高时Q下降,使天线回路增益下降,这正好与高放回路在频率高端的增益上升相抵消,可得到较平稳的波段覆盖灵敏度,同时也减小了回路间的耦合,不易自激。同时,天线回路的R\(_{e}\)Q下降,使得高放级输入阻抗下降,减小了高放级的反馈系数,对稳定也有好处。
当然如果短波频率再高就不能用中波磁棒了,因为Q下降太多将严重影响增益,也影响高频选择性。
本机短波Ⅰ实测灵敏度0.2毫伏/米,6分贝信噪比时为0.03毫伏/米,象频≥46分贝,2兆赫与4.5兆赫的灵敏度相差<3分贝。
短波Ⅱ、Ⅲ、Ⅳ采用直接耦合的输入回路,它与电容耦合的原理相同。实际上当电容耦合的天线耦合电容C\(_{1}\)取得很大(见图3),对高频信号可视作短路,就成了直接耦合。

电容耦合输入回路的传输系数与C\(_{1}\)有关,C1越大,传输系数越高,所以直接耦合能得到最大的传输系数,尤其是波段的低端提高得更多。另外,由于直接耦合,使得拉杆天线的等效电容、等效电阻直接接入输入回路,增加了回路的损耗,影响了回路的Q值,而对频率高端的影响要比低端影响大些,所以高端的传输系数没有低端提得高。而且高频选择性要比电容耦合差,但由于本机具有调谐式高放,高频选择性主要由高放回路来补偿,天线回路主要考虑增益,可不考虑选择性。所以用直接耦合还是可行的。本机象频指标还是比较好的:短Ⅱ、Ⅲ大于20分贝;短波Ⅳ大于15分贝。
直接耦合接法只适用于覆盖范围较窄的波段,因为覆盖范围宽的波段,天线回路的微调电容必然容量不大,直接耦合时将天线等效电容全部并在输入回路上,如果等效电容大于微调电容,该波段高端将无法统调了。
3.高频增益控制器(RFC):RFC就是人工控制高放管的工作点来控制高放级增益,以免收音机在收近地强电台时发生阻塞而使声音严重失真。如图4所示,在正常场强下收听时,开关K\(_{2}\)的1、 2接通,K3的2、3接通,高放偏压是由自动增益控制(AGC)电路提供,高放增益由AGC控制,RFC不起作用。当在强场强下收听时,打开RFC开关,即将K\(_{2}\)的2、3接通,K3的1、2接通。此时高放管与AGC电路断开,高放管的偏压由R\(_{4}\)和电位器R5分压,由R\(_{5}\)上取出,人工调节R5,即可随意控制高放管的增益,达到满意地收听。高放管电流I\(_{C}\)可从0.5毫安调到零,但此时只剩下一中放受AGC控制,所以AGC性能变差。

4.本机采用独立振荡的混频电路:中波和短波Ⅰ用基波振荡,短波Ⅱ、Ⅲ、Ⅳ用倍频振荡,以减少牵扯现象和人体感应。
5.中放采用二级双调谐:第一中放采用串接放大器(原理同高放),可以不加中和。R\(_{22}\)的作用是因中放增益较高,中周采用现成系列产品,当KQ>1时出现双峰现象,调试化较困难,加了R22,可以降低回路Q值,使KQ=1,达到临界耦合,克服双峰现象。


