在水文地质勘测钻孔抽水试验时,需要对钻孔内的水位进行测量。我们试制了音响式晶体管水位计。
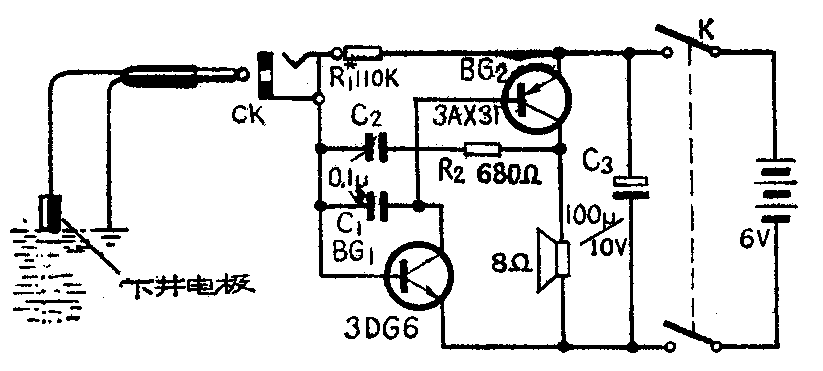
音响式晶体管水位计的线路见图。晶体管BG\(_{1}\)、BG2接成直耦互补电路。当插头未插入插孔CK时,合上开关K,各晶体管工作。BG\(_{2}\)输出的信号经R2、C\(_{2}\)正反馈到BG1的基极,形成振荡,输出一个音频振荡信号给喇叭,喇叭发出音频响声。当插头插入插孔CK时,由于插头上有两条引线,一条引线(外皮线)接地,另一条引线上接有下井电极,当下井电极未接触到钻孔内的水面时,BG\(_{1}\)的偏置电路未接通,喇叭不响;当下井电极接触钻孔内水面时,BG1的偏置电路通过R\(_{1}\)、插头心线、下井电极、水、地、插孔、BG1的基极、发射极与电源接通,电路工作,喇叭发出音频响声。

BG\(_{1}\)可以用任何型号的NPN型硅管,如3DG6、3DK2等,BG2用PNP型的任何锗管,如3AX31、3AX22、3AX81等;C\(_{1}\)、C2为小型瓷介电路,C\(_{3}\)为电解电容;电源开关K用小型开关;CK用小型插座(带插头);电源用4F22积层电池。下井电极用直径为8~10毫米的铜棒或铁棒。
调试时,先用一只大阻值的电位器串联一只10千欧的电阻代替R\(_{1}\),旋动电位器,使BG1起振,喇叭发出单音调音响,BG\(_{1}\)的集电极工作电流调到2~3毫安。改变C2的数值可以调整音调高低。调整后,整机耗电电流约为40毫安。整机安装、调整后,可以装在小塑料盒内。
使用时,先合上电源开关K,喇叭即发出音响,说明电路工作正常。然后插入插头,喇叭的音响声随之停止。向钻孔内放下下井电极,当电极接触到水面时,线路再次接通,喇叭发出音响。此时,连接电极的导线长度即为水位深度。可以预先在电极导线上作好长度标志,以便测量时可直接看出水位深度数值。(朱裕林)