走进展览室,清脆的鸟叫声仿佛把你带到了广阔的森林,但这里并没有能飞、善叫的真鸟,而是一只只电子玩具鸟。它们怎么会叫呢?下面我们就来介绍这种模拟鸟叫装置。
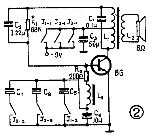
图1是一个电感三点式音频振荡器,适当地选取C\(_{1}\)的容值,使振荡器产生约1200赫的音频振荡信号,由扬声器输出。如果在这个振荡器的晶体管基~发射极之间接入一个振荡回路如图2所示,图2中R2、L\(_{3}\)、C4与晶体管BG组成间歇振荡器,适当选取它们的数值,使间歇振荡器的振荡频率为3~5赫。由于L\(_{1}\)、C1振荡回路产生的振荡信号与L\(_{3}\)、C4振荡回路产生的振荡信号同时加在BG管子的发射结上,所以喇叭发出了“瞅瞅”声,与鸟叫声很相似。


图2中,在C\(_{4}\)两端分别并联了C5、C\(_{6}\)、C7三个电容,以给出三种不同频率的鸟叫声。
本装置中,BG用3AX31,要求它的I\(_{ceo}\)<200微安,β>30,也可以用其它PNP型管子代替。变压器用晶体管收音机的输出变压器,铁心的截面积为3.5×5.5毫米\(^{2}\)。L3用的是晶体管收音机的输入变压器的初级线圈(电感量约为900毫亨),次级空着不用。电容C\(_{5}\)、C6、C\(_{7}\)的容值可根据自己需要的鸟叫频率选取。C4的容值在5~50微法之间选取。扬声器用2.5英寸的。图中三组继电器触点是用的简易无线电遥控中的三通道继电器的常开触点,以便于通过遥控设备选择不同的鸟叫声。亦可以把它们换成3×2的波段开关。
全部元器件焊在图3所示的印制板上(1∶1)。调整时,先断开C\(_{4}\)和L3(就相当于图1所示的电路),接通电源。调整R\(_{1}\)的阻值,使得BG管的集电极电流为8~10毫安。此时扬声器应有音频信号。然后改变C1的容值,当C\(_{1}\)增大时,音频信号频率变低,反之,C1减小时,频率变高。接通C\(_{4}\)、L3,此时间歇振荡器应工作,扬声器发出悦耳的鸟叫声。若没有鸟叫声,可能是间歇振荡器不工作,应适当增大C\(_{4}\)的容量或L3的电感量。值得注意的是,调整R\(_{1}\)时,也会影响到鸟叫频率。

鸟叫装置的放置位置可以任意选择。比如,鸟笼里放上一只玩具鸟,鸟叫装置可放在笼子底下,用遥控开关控制鸟叫及鸟叫的频率。也可以用光控、声控或磁控开关控制鸟叫。当用光控开关时,可把开关电路部分予先调整好,即让它在夜间不接通,当天亮到一定程度时,光控开关自动接通鸟叫装置电源,鸟叫装置工作,扬声器里便发出“啾啾”的鸟叫声。(汤诞元)
